Запчасти Komatsu WA100SS-1 BACK HOE ЭЛЕМЕНТЫ КРЕПЛЕНИЯ (/)(№-9999) РАМА И ЧАСТИ КОРПУСА

Схема запчастей Komatsu WA100SS-1 - BACK HOE ЭЛЕМЕНТЫ КРЕПЛЕНИЯ (/)(№-9999) РАМА И ЧАСТИ КОРПУСА
FIT
1:1
100%

Артикул

Название

Примечание

Количество

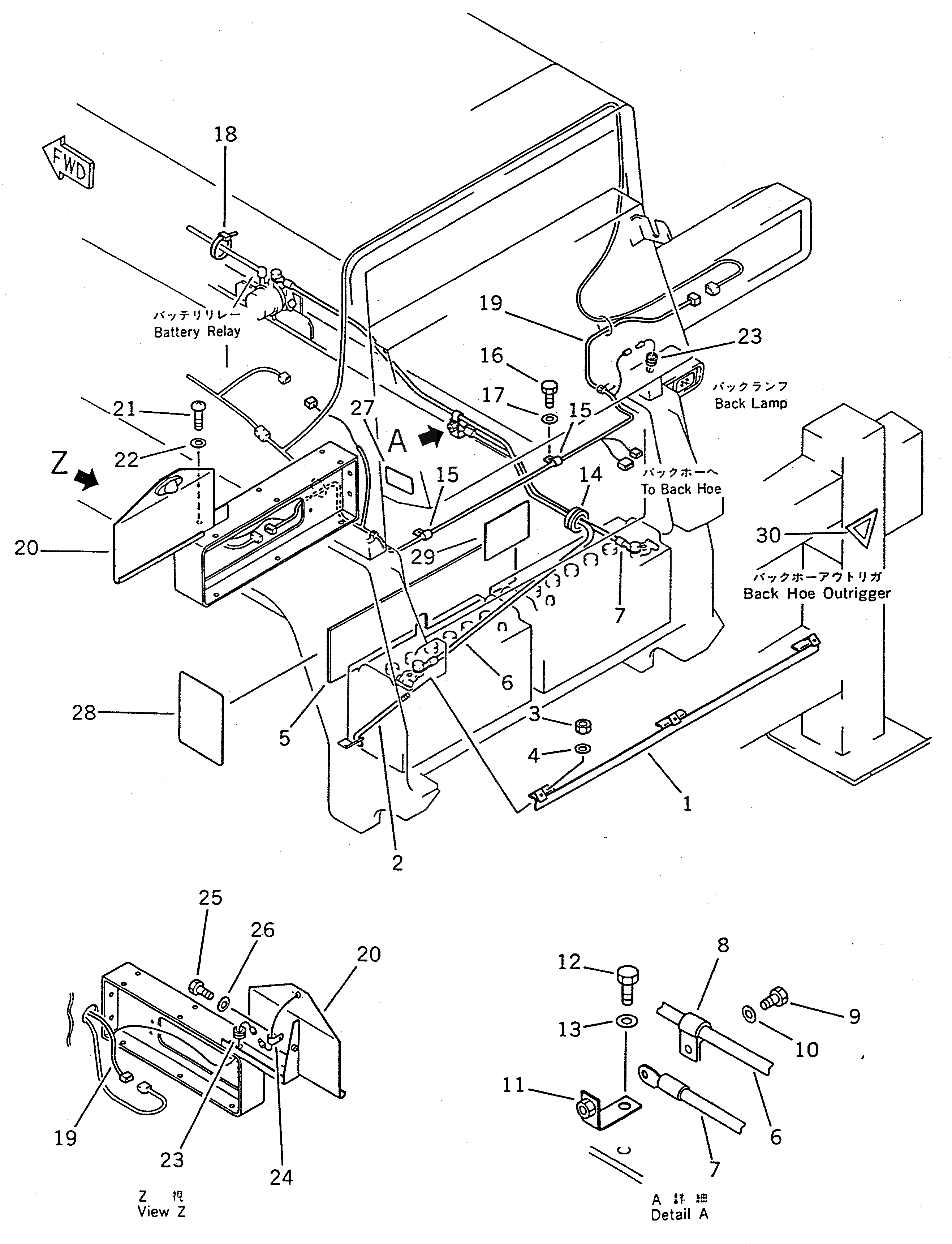
1

416-855-1312

HOLDER

SN: 10001-@

1шт.

2

416-855-1350

ROD

SN: 10001-@

3шт.

3

01580-10806

NUT

SN: 10001-@

6шт.

4

01643-30823

WASHER

SN: 10001-@

2шт.

5

416-855-1320

SPACER

SN: 10001-@

1шт.

6

416-855-1360

WIRE

SN: 10001-@

1шт.

7

416-855-1330

WIRE

SN: 10001-@

1шт.

8

08036-01814

CLIP

SN: 10001-@

1шт.

9

01010-51016

BOLT

SN: 10001-@

1шт.

10

01643-31032

WASHER

SN: 10001-@

1шт.

11

416-855-1341

BRACKET

SN: 10001-@

1шт.

12

01010-51230

BOLT

SN: 10001-@

1шт.

13

01643-31232

WASHER

SN: 10001-@

1шт.

14

08037-03620

GROMMET

SN: 10001-@

1шт.

15

08036-30814

CLIP

SN: 10001-19999

2шт.

16

01010-50820

BOLT

SN: 10001-@

2шт.

17

01643-30823

WASHER

SN: 10001-@

2шт.

18

08034-00823

BAND

SN: 10001-@

4шт.

19

416-855-1380

WIRE ASS'Y

SN: 10001-@

1шт.

20

416-855-1471

BRACKET

SN: 10001-19999

1шт.

21

01220-40616

SCREW

SN: 10001-19999

1шт.

22

01641-40608

WASHER

SN: 10001-19999

1шт.

23

08037-01008

GROMMET

SN: 10001-@

2шт.

24

419-09-11160

CLIP

SN: 10001-@

1шт.

25

01010-50816

BOLT

SN: 10001-@

1шт.

26

01643-30823

WASHER

SN: 10001-@

1шт.

27

416-855-1830

PLATE¤ CAUTION

SN: 10001-@

1шт.

28

416-855-1810

PLATE¤ INSTRUCTION

SN: 10001-@

1шт.

29

417-93-11150

PLATE¤ CAUTION,BATTERY

SN: 10001-@

1шт.

30

423-904-1810

PLATE

SN: 10001-@

1шт.

Выбрано товаров: 30