Запчасти Komatsu WA100SS-1 КОВШ .M РАБОЧЕЕ ОБОРУДОВАНИЕ

Схема запчастей Komatsu WA100SS-1 - КОВШ .M РАБОЧЕЕ ОБОРУДОВАНИЕ
FIT
1:1
100%

Артикул

Название

Примечание

Количество

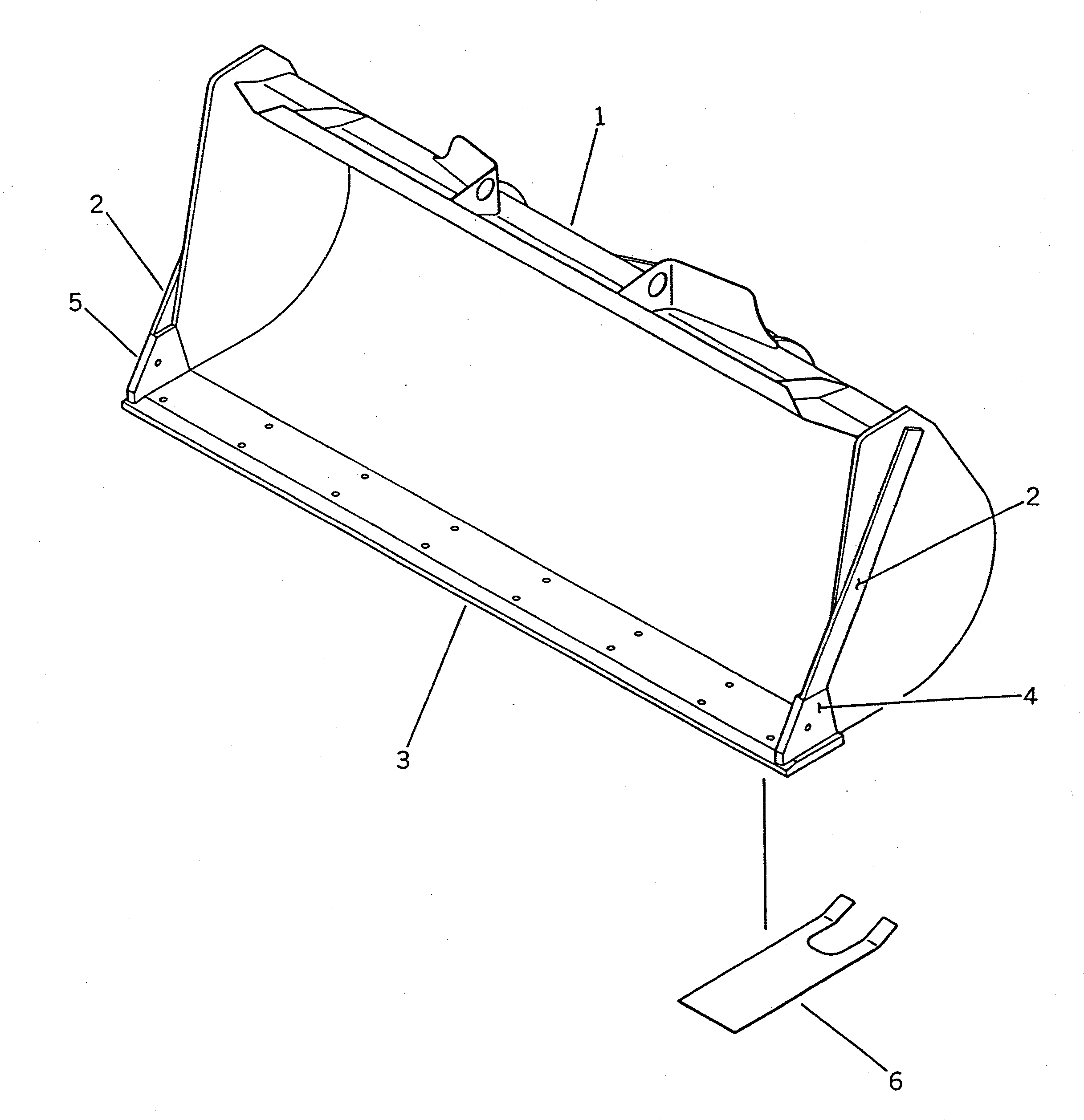
1

416-70-12113

BUCKET ASS'Y

SN: 20001-UP

1шт.

|1

0

BUCKET ASS'Y

SN: 10001-19999

1шт.

2

416-70-12132

PLATE (WELDED)

SN: 20001-UP

2шт.

|2

416-70-12131

PLATE (WELDED)

SN: 10001-19999

2шт.

3

416-70-12121

EDGE (WELDED)

SN: 10001-UP

1шт.

4

417-70-12141

PLATE,L.H. (WELDED)

SN: 20001-UP

1шт.

|4

417-70-12140

PLATE,L.H. (WELDED)

SN: 10001-19999

1шт.

5

417-70-12151

PLATE,R.H. (WELDED)

SN: 20001-UP

1шт.

|5

417-70-12150

PLATE,R.H. (WELDED)

SN: 10001-19999

1шт.

6

416-70-12B22

PLATE (WELDED)

SN: 20001-UP

2шт.

|6

416-70-12B21

PLATE (WELDED)

SN: 10001-19999

2шт.

Выбрано товаров: 11