Запчасти Komatsu WA100SS-1 LUMBER ЗАХВАТ (ДЛЯ СОЕДИНИТ. УСТР-ВО) РАБОЧЕЕ ОБОРУДОВАНИЕ

Схема запчастей Komatsu WA100SS-1 - LUMBER ЗАХВАТ (ДЛЯ СОЕДИНИТ. УСТР-ВО) РАБОЧЕЕ ОБОРУДОВАНИЕ
FIT
1:1
100%

Артикул

Название

Примечание

Количество

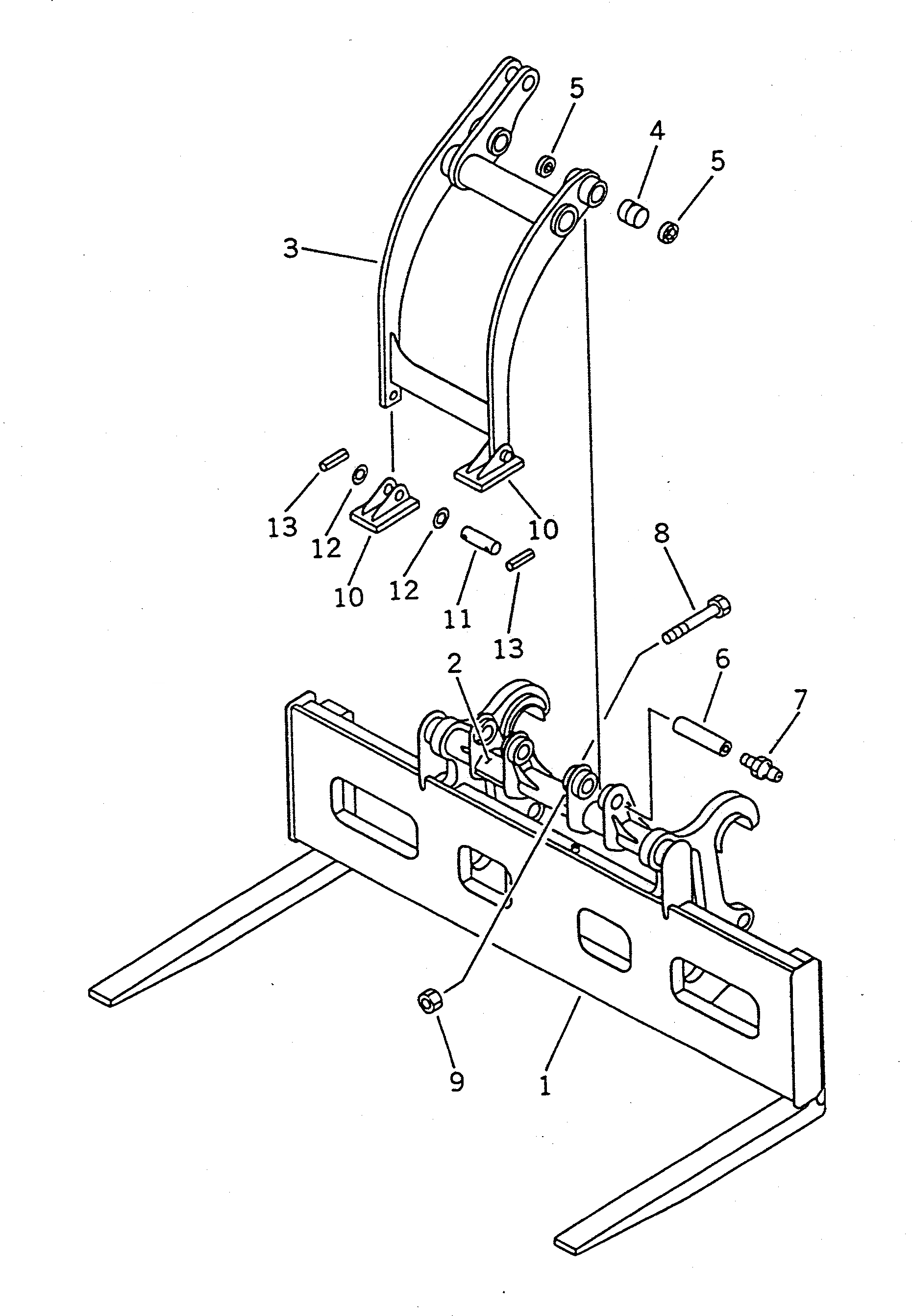
1

416-N06-1100

CARRIER

SN: 10001-UP

1шт.

2

416-N06-1131

STOPPER

SN: 10001-UP

1шт.

|3

416-N06-1010

ARM ASS'Y

SN: 10001-UP

1шт.

3

0

ARM

SN: 10001-UP

1шт.

4

416-70-11810

BUSHING

SN: 10001-UP

2шт.

5

424-09-12310

SEAL,DUST

SN: 10001-UP

4шт.

6

41H-881-1210

PIN

SN: 10001-UP

2шт.

7

07020-00000

FITTING,GREASE

SN: 10001-UP

2шт.

8

01011-31000

BOLT

SN: 10001-UP

2шт.

9

01598-01011

NUT

SN: 10001-UP

2шт.

10

416-N06-1120

HOLDER

SN: 10001-UP

2шт.

11

421-46-12721

PIN

SN: 10001-UP

2шт.

12

426-09-11520

WASHER

SN: 10001-UP

4шт.

13

04025-01065

PIN,SPRING

SN: 10001-UP

4шт.

Выбрано товаров: 14