Запчасти Komatsu WA100SS-1 ЭЛЕКТРИКА (ДЛЯ КАБИНА ДЛЯ 2 ЧЕЛ.)(№-) СПЕЦ. APPLICATION ЧАСТИ

Схема запчастей Komatsu WA100SS-1 - ЭЛЕКТРИКА (ДЛЯ КАБИНА ДЛЯ 2 ЧЕЛ.)(№-) СПЕЦ. APPLICATION ЧАСТИ
FIT
1:1
100%

Артикул

Название

Примечание

Количество

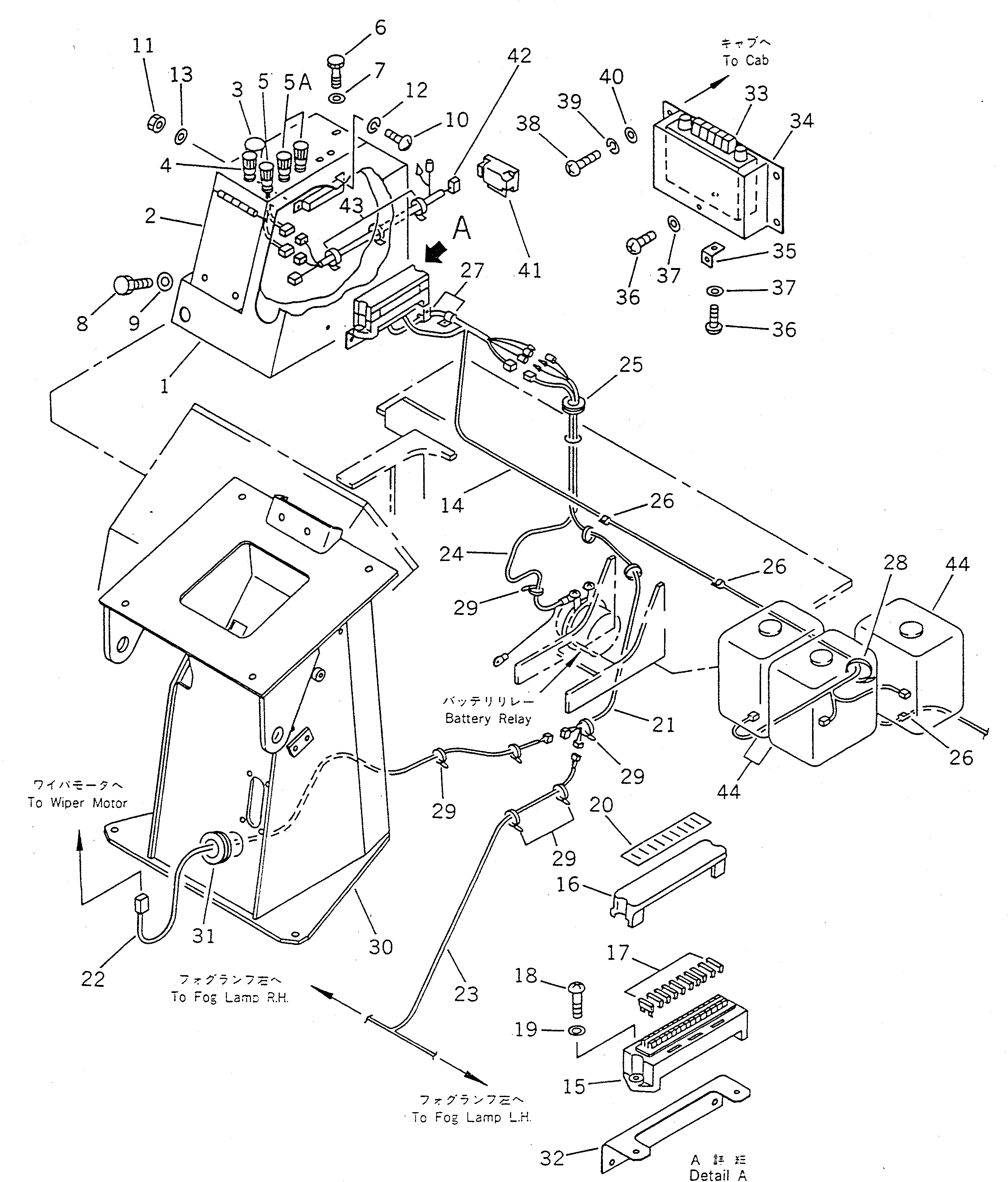
1

416-944-1371

COVER,(MODIFIED PART)

SN: 20001-UP

1шт.

2

416-944-1411

PANEL

SN: 10001-UP

1шт.

3

195-822-6151

LIGHTER

SN: 10001-UP

1шт.

4

421-06-16150

SWITCH,REAR WIPER

SN: 10001-UP

1шт.

5

421-T49-1100

SWITCH,FRONT WIPER

SN: 30001-UP

1шт.

|5

421-06-16141

SWITCH,FRONT WIPER

SN: 10001-29999

1шт.

5A

421-06-16141

SWITCH,SIDE WIPER

SN: 10001-UP

2шт.

6

425-54-12960

SCREW

SN: 10001-UP

1шт.

7

01642-20608

WASHER

SN: 10001-UP

1шт.

8

01010-51020

BOLT

SN: 10001-UP

3шт.

9

01643-31032

WASHER

SN: 10001-UP

3шт.

10

01220-40412

SCREW

SN: 10001-UP

2шт.

11

01580-10403

NUT

SN: 10001-UP

2шт.

12

01601-20410

WASHER,SPRING

SN: 10001-UP

2шт.

13

01641-20405

WASHER

SN: 10001-UP

2шт.

14

416-944-1511

WIRE ASS'Y

SN: 10001-UP

1шт.

15

415-06-12220

BODY,FUSE

SN: 10001-UP

1шт.

16

415-06-12230

COVER

SN: 10001-UP

1шт.

17

283-06-16190

FUSE¤ 10A

SN: 10001-UP

5шт.

|17

22W-06-13160

FUSE¤ 20A

SN: 10001-UP

6шт.

18

01220-40620

SCREW

SN: 10001-UP

2шт.

19

01641-20608

WASHER

SN: 10001-UP

2шт.

20

416-944-1360

PLATE

SN: 10001-UP

1шт.

21

416-944-1750

WIRE ASS'Y

SN: .-UP

1шт.

22

416-944-1760

WIRE ASS'Y

SN: .-UP

1шт.

23

416-944-1770

WIRE ASS'Y

SN: .-UP

1шт.

24

416-06-16220

WIRE ASS'Y

SN: 10001-UP

1шт.

25

417-54-13510

CAP

SN: 20001-UP

1шт.

26

421-54-15520

CLIP

SN: 10001-UP

3шт.

27

08036-02514

CLIP

SN: 10001-UP

2шт.

28

08034-00536

BAND

SN: 10001-UP

1шт.

29

08034-00519

BAND

SN: 10001-UP

30шт.

30

416-944-1830

SUPPORT,(MODIFIED PART)

SN: 20001-UP

1шт.

31

417-54-13510

CAP

SN: 20001-UP

1шт.

32

416-06-16120

PLATE

SN: 10001-UP

1шт.

33

201-06-21480

RADIO

SN: 10001-UP

1шт.

34

416-944-1420

BOX

SN: 10001-UP

1шт.

35

417-07-14120

PLATE

SN: 10001-UP

1шт.

36

01220-40510

SCREW

SN: 10001-UP

2шт.

37

01641-20508

WASHER

SN: 10001-UP

2шт.

38

01220-40512

SCREW

SN: 10001-UP

4шт.

39

01601-20513

WASHER,SPRING

SN: 10001-UP

4шт.

40

01641-20508

WASHER

SN: 10001-UP

4шт.

41

569-06-61140

RELAY,(FOR INTERMITTENT WIPER)

SN: 30001-UP

1шт.

42

416-944-1840

WIRE ASS'Y

SN: 30001-UP

1шт.

43

08034-00519

BAND

SN: 30001-UP

3шт.

44

421-07-15160

TANK,(FOR 2-PERSONS CAB)

SN: 10001-UP

3шт.

Выбрано товаров: 47