Запчасти Komatsu WA100SS-1 ЦИЛИНДР РУЛЕВ. УПР-Я(№-9999) РУЛЕВ. УПРАВЛЕНИЕ И СИСТЕМА УПРАВЛЕНИЯ

Схема запчастей Komatsu WA100SS-1 - ЦИЛИНДР РУЛЕВ. УПР-Я(№-9999) РУЛЕВ. УПРАВЛЕНИЕ И СИСТЕМА УПРАВЛЕНИЯ
FIT
1:1
100%

Артикул

Название

Примечание

Количество

|1

707-00-60021

CYLINDER ASS'Y,L.H.

SN: 10001-19999

1шт.

|1

707-00-60011

CYLINDER ASS'Y,R.H.

SN: 10001-19999

1шт.

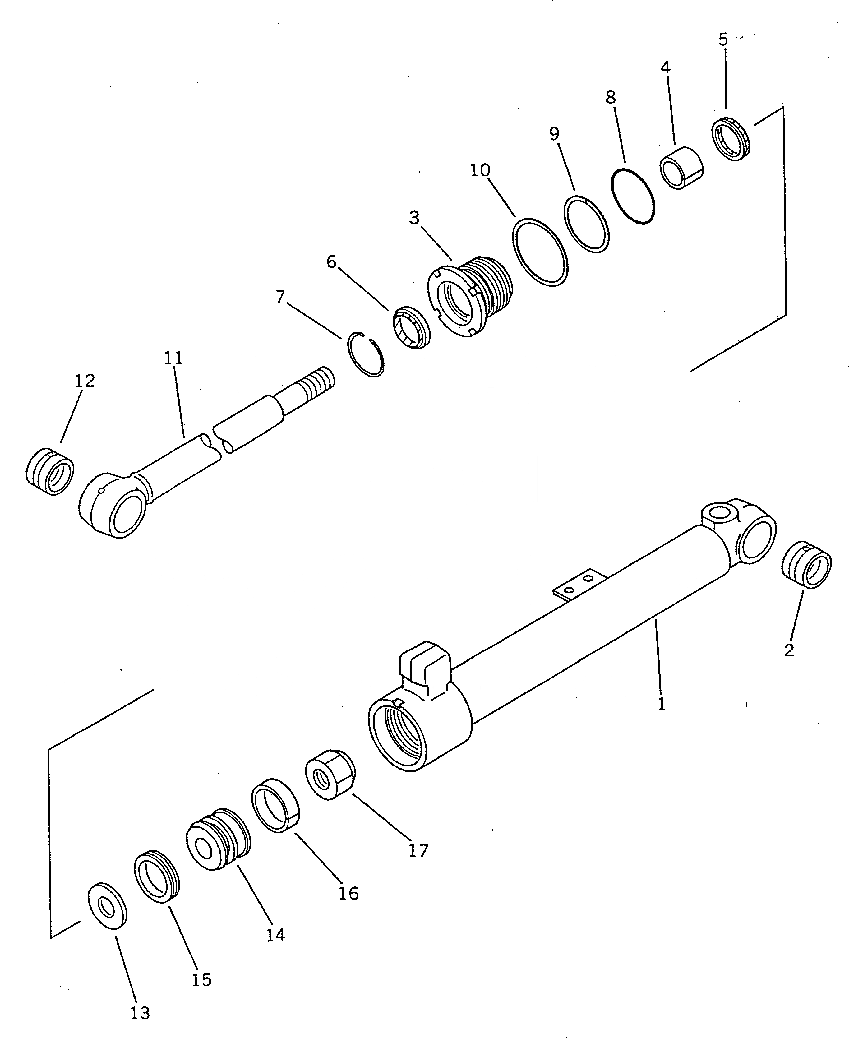
1

707-11-60330

CYLINDER,L.H.

SN: 10001-19999

1шт.

|1

707-11-60320

CYLINDER,R.H.

SN: 10001-19999

1шт.

2

707-76-35040

BUSHING

SN: 10001-@

1шт.

3

707-29-60280

HEAD,CYLINDER

SN: 10001-@

1шт.

4

07177-04025

BUSHING

SN: 10001-@

1шт.

5

707-51-40030

PACKING,ROD

SN: 10001-@

1шт.

6

198-63-75190

SEAL,DUST

SN: 10001-@

1шт.

7

07179-00059

RING,SNAP

SN: 10001-@

1шт.

8

07000-12065

O-RING

SN: 10001-@

1шт.

9

07001-02065

RING,BACK-UP

SN: 10001-@

1шт.

10

707-45-60010

RING,LOCK

SN: 10001-@

1шт.

11

707-58-40180

ROD,PISTON

SN: 10001-@

1шт.

12

707-76-35040

BUSHING

SN: 10001-@

1шт.

13

707-40-60280

RETAINER

SN: 10001-@

1шт.

14

707-36-60281

PISTON

SN: 10001-@

1шт.

15

707-44-60080

RING,PISTON

SN: 10001-@

1шт.

16

07155-00615

RING,WEAR

SN: 10001-@

1шт.

17

07165-13033

NUT,NYLON

SN: 10001-@

1шт.

Выбрано товаров: 20