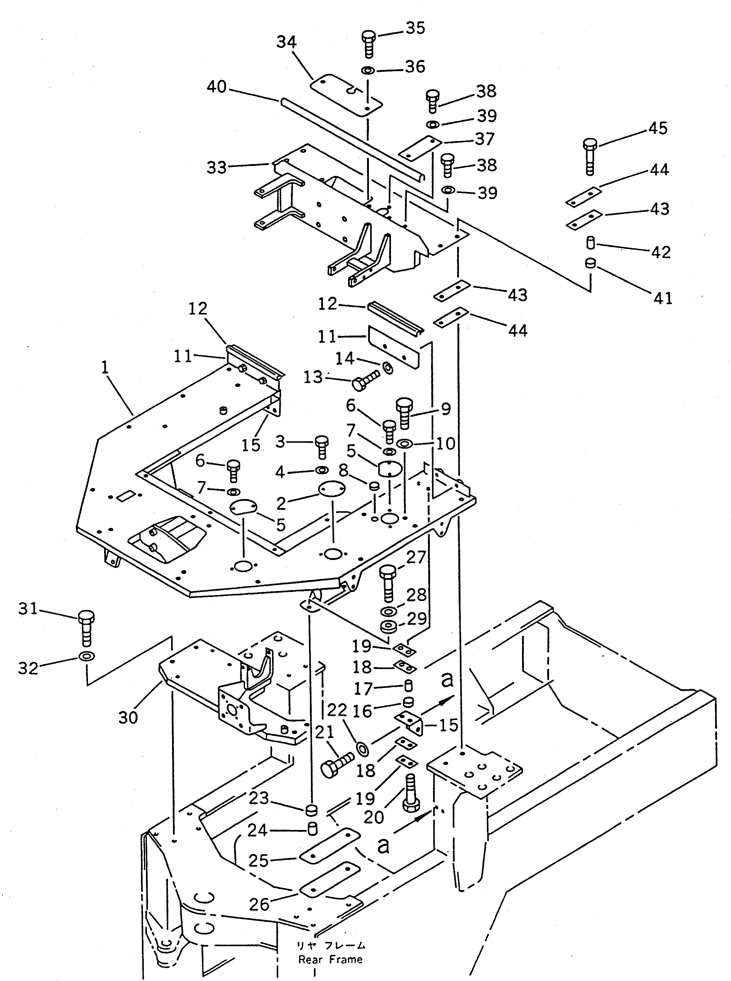
Запчасти Komatsu WA100SSS-1 СУППОРТЫ КАБИНЫ(С КАБИНОЙ)(№9-9999) РАМА И ЧАСТИ КОРПУСА

Схема запчастей Komatsu WA100SSS-1 - СУППОРТЫ КАБИНЫ(С КАБИНОЙ)(№9-9999) РАМА И ЧАСТИ КОРПУСА
FIT
1:1
100%

Артикул

Название

Примечание

Количество

1

417-54-13118

SUPPORT,FLOOR

SN: 11491-19999

1шт.

2

417-54-13270

COVER

SN: 10001-19999

1шт.

3

01010-50616

BOLT

SN: 10001-19999

2шт.

4

01643-30623

WASHER

SN: 10001-19999

2шт.

5

417-54-13280

COVER

SN: 11491-19999

2шт.

6

01010-50616

BOLT

SN: 11491-19999

4шт.

7

01643-30623

WASHER

SN: 11491-19999

4шт.

8

09415-01008

CAP

SN: 11491-19999

1шт.

9

01010-51025

BOLT

SN: 11491-19999

1шт.

10

01643-31032

WASHER

SN: 11491-19999

1шт.

11

417-54-13370

PLATE

SN: 10001-19999

2шт.

12

417-54-13360

SEAL

SN: 10001-19999

2шт.

13

01010-51225

BOLT

SN: 10001-19999

4шт.

14

01643-31232

WASHER

SN: 10001-19999

4шт.

15

417-54-13341

BRACKET,L.H.

SN: 10001-19999

1шт.

|15

417-54-13351

BRACKET,R.H.

SN: 10001-19999

1шт.

16

417-54-13480

CUSHION

SN: 10001-19999

4шт.

17

417-54-13470

SPACER

SN: 10001-19999

4шт.

18

417-54-13330

CUSHION

SN: 10001-19999

4шт.

19

417-54-13320

PLATE

SN: 10001-19999

4шт.

20

01010-51250

BOLT

SN: 10001-19999

4шт.

21

01010-51235

BOLT

SN: 10001-19999

4шт.

22

01643-31232

WASHER

SN: 10001-19999

4шт.

23

417-54-13450

CUSHION

SN: 10001-@

4шт.

24

417-54-13460

SPACER

SN: 10001-@

4шт.

25

417-54-13440

CUSHION

SN: 10001-@

2шт.

26

417-54-13420

PLATE

SN: 10001-@

2шт.

27

01010-51465

BOLT

SN: 10001-@

4шт.

28

417-54-13390

PLATE

SN: 10001-@

4шт.

29

417-54-13430

CUSHION

SN: 10001-@

4шт.

30

417-54-13130

BRACKET

SN: 10001-19999

1шт.

31

01010-31455

BOLT

SN: 10001-19999

4шт.

32

01643-31445

WASHER

SN: 10001-19999

4шт.

33

417-54-12522

SUPPORT

SN: 11491-19999

1шт.

34

416-06-16311

COVER

SN: 10001-19999

1шт.

35

01010-50825

BOLT

SN: 10001-19999

2шт.

36

01643-30823

WASHER

SN: 10001-19999

2шт.

37

417-54-12890

COVER

SN: 11491-19999

1шт.

38

01010-50825

BOLT

SN: 11491-19999

4шт.

39

01643-30823

WASHER

SN: 11491-19999

4шт.

40

417-54-12280

SHEET

SN: 10001-19999

1шт.

41

417-54-12250

CUSHION

SN: 10001-19999

4шт.

42

417-54-12260

SPACER

SN: 10001-19999

4шт.

43

417-54-12240

CUSHION

SN: 10001-19999

4шт.

44

417-54-12270

PLATE

SN: 10001-19999

4шт.

45

01010-51260

BOLT

SN: 10001-19999

4шт.

Выбрано товаров: 46