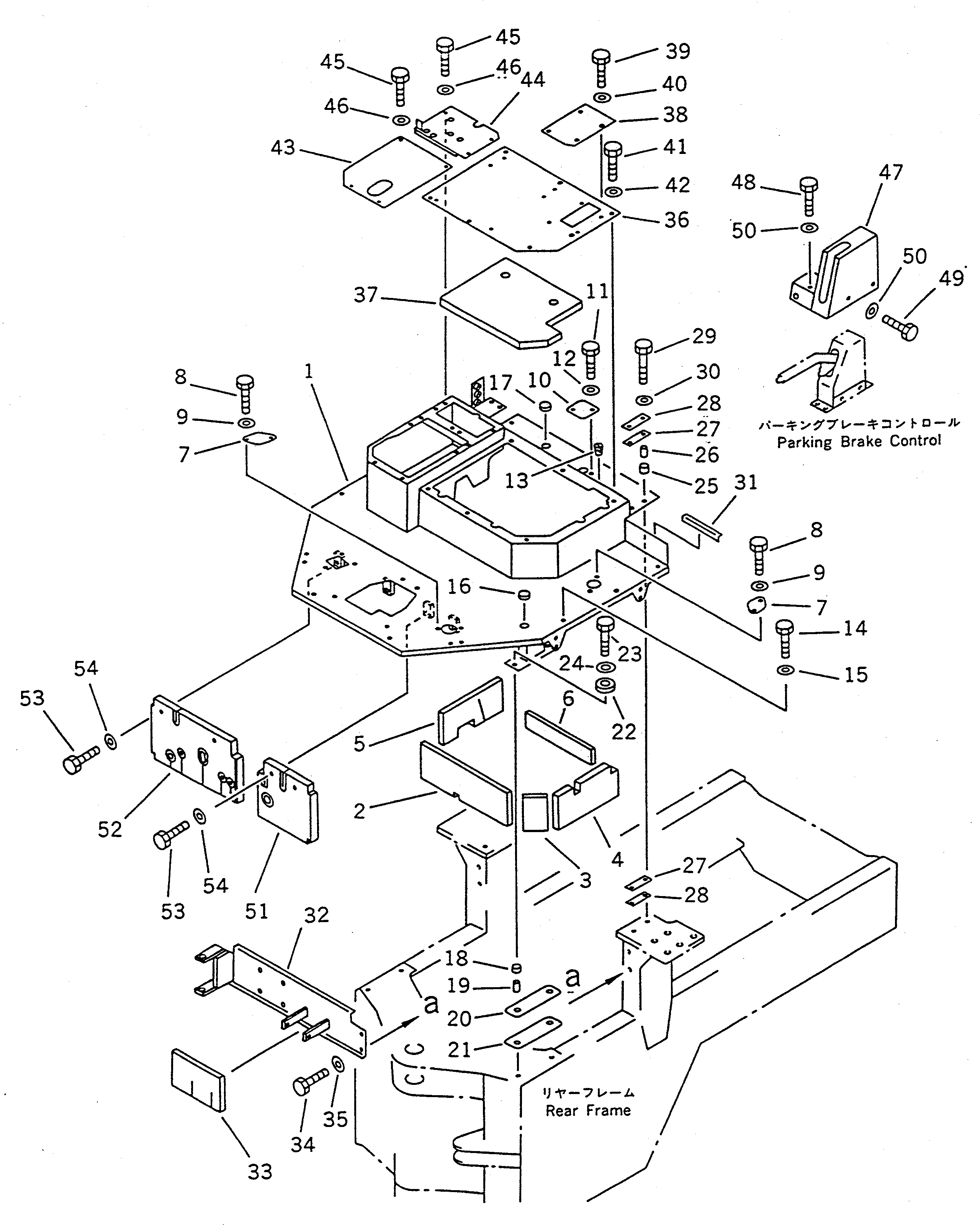
Запчасти Komatsu WA100SSS-1 ОСНОВН. КОНСТРУКЦИЯ (С КАБИНОЙ)(№-) РАМА И ЧАСТИ КОРПУСА

Схема запчастей Komatsu WA100SSS-1 - ОСНОВН. КОНСТРУКЦИЯ (С КАБИНОЙ)(№-) РАМА И ЧАСТИ КОРПУСА
FIT
1:1
100%

Артикул

Название

Примечание

Количество

1

416-Z97-1150

SUPPORT,FLOOR

SN: 32001-UP

1шт.

2

417-Z95-1360

SHEET

SN: 32001-UP

1шт.

3

417-Z95-1480

SHEET

SN: 32001-UP

1шт.

4

417-Z95-1470

SHEET

SN: 32001-UP

1шт.

5

417-Z95-1460

SHEET

SN: 32001-UP

1шт.

6

417-Z95-1440

SHEET

SN: 32001-UP

1шт.

7

417-54-13280

COVER

SN: 20001-UP

2шт.

8

01010-50616

BOLT

SN: 20001-UP

4шт.

9

01643-30623

WASHER

SN: 20001-UP

4шт.

10

417-54-12891

COVER

SN: 20001-UP

1шт.

11

01010-50825

BOLT

SN: 20001-UP

2шт.

12

01643-30823

WASHER

SN: 20001-UP

2шт.

13

07049-00811

PLUG

SN: 20001-UP

2шт.

14

01010-51025

BOLT

SN: 20001-UP

1шт.

15

01643-31032

WASHER

SN: 20001-UP

1шт.

16

09415-02512

CAP

SN: 20001-UP

1шт.

17

09415-03614

CAP

SN: 20001-UP

1шт.

18

417-54-13450

CUSHION

SN: 20001-UP

4шт.

19

417-54-13460

SPACER

SN: 20001-UP

4шт.

20

417-54-13440

CUSHION

SN: 20001-UP

2шт.

21

417-54-13420

PLATE

SN: 20001-UP

2шт.

22

417-54-13430

CUSHION

SN: 20001-UP

4шт.

23

01010-51465

BOLT

SN: 20001-UP

4шт.

24

417-54-13390

PLATE

SN: 20001-UP

4шт.

25

417-64-13160

CUSHION

SN: 20001-UP

4шт.

26

417-54-13470

SPACER

SN: 20001-UP

4шт.

27

417-54-12241

CUSHION

SN: 20001-UP

4шт.

28

417-54-12271

PLATE

SN: 20001-UP

4шт.

29

01010-51250

BOLT

SN: 20001-UP

4шт.

30

01643-31232

WASHER

SN: 20001-UP

4шт.

31

417-54-13361

SEAL

SN: 20001-UP

2шт.

32

417-54-12524

SUPPORT

SN: 20001-UP

1шт.

33

417-Z95-1450

SHEET

SN: 32001-UP

1шт.

34

01010-31235

BOLT

SN: 20001-UP

4шт.

35

01643-31232

WASHER

SN: 20001-UP

4шт.

36

417-54-12443

COVER

SN: 20001-UP

1шт.

37

417-Z95-1490

SHEET

SN: 32001-UP

1шт.

38

417-54-12290

COVER

SN: 20001-UP

1шт.

39

01010-51020

BOLT

SN: 20001-UP

4шт.

40

01643-31032

WASHER

SN: 20001-UP

4шт.

41

01010-51230

BOLT

SN: 20001-UP

6шт.

42

01643-31232

WASHER

SN: 20001-UP

6шт.

43

417-54-12592

PLATE

SN: 20001-UP

1шт.

44

417-54-12515

PLATE

SN: 20001-UP

1шт.

45

01010-50820

BOLT

SN: 20001-UP

8шт.

46

01643-30823

WASHER

SN: 20001-UP

8шт.

47

417-54-12792

COVER

SN: 20001-UP

1шт.

48

01010-50820

BOLT

SN: 20001-UP

4шт.

49

01010-50816

BOLT

SN: 20001-UP

2шт.

50

01643-30823

WASHER

SN: 20001-UP

6шт.

51

416-S06-1710

SHEET

SN: 32001-UP

1шт.

52

416-S06-1690

SHEET

SN: 32001-UP

1шт.

53

01010-51225

BOLT

SN: 32001-UP

4шт.

54

124-54-26540

WASHER

SN: 32001-UP

4шт.

Выбрано товаров: 54