Запчасти Komatsu WA100SSS-1 СУППОРТЫ КАБИНЫ(С НАВЕСОМ)(№9-9999) РАМА И ЧАСТИ КОРПУСА

Схема запчастей Komatsu WA100SSS-1 - СУППОРТЫ КАБИНЫ(С НАВЕСОМ)(№9-9999) РАМА И ЧАСТИ КОРПУСА
FIT
1:1
100%

Артикул

Название

Примечание

Количество

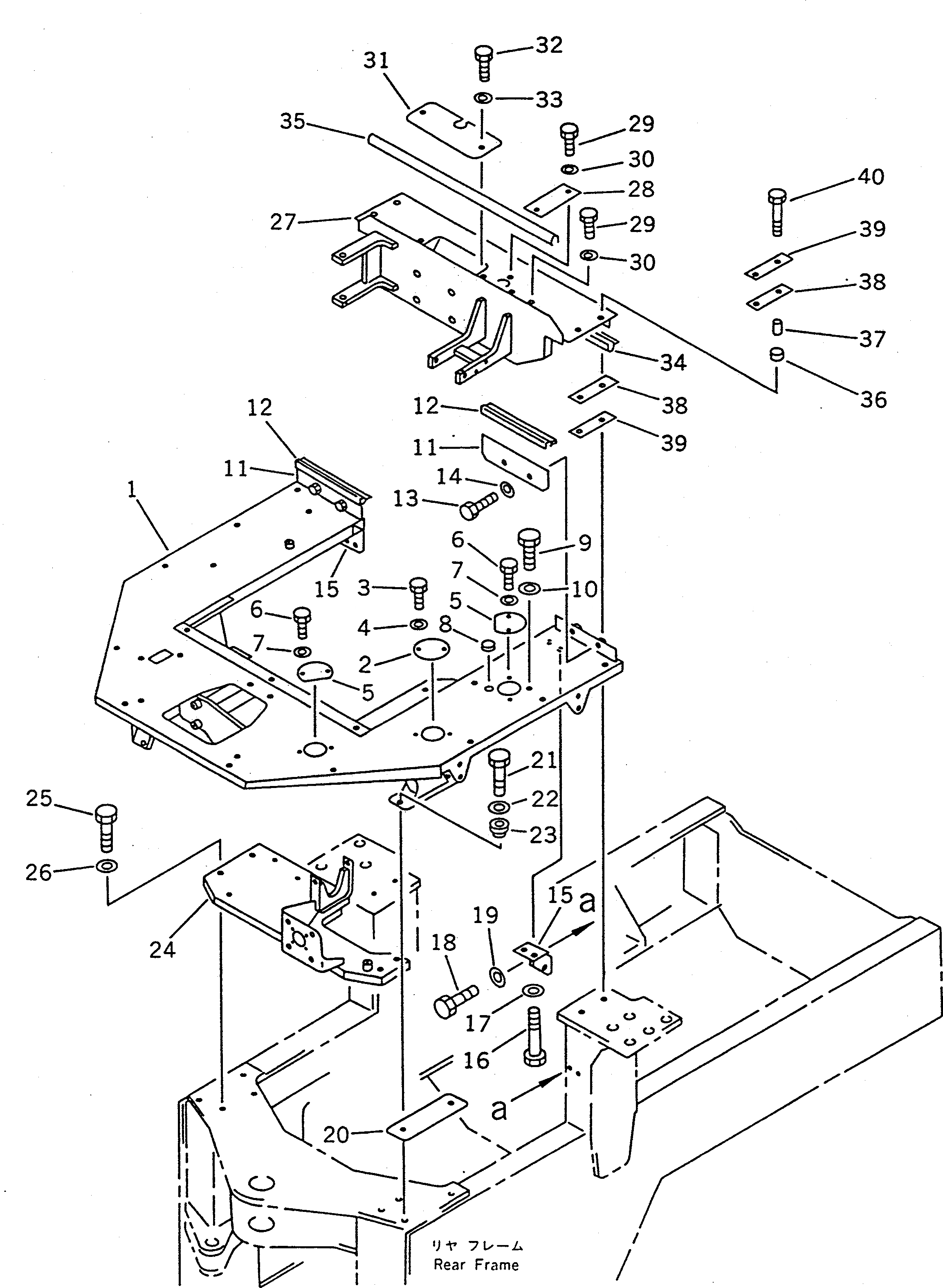
1

417-54-13118

SUPPORT,FLOOR

SN: 11491-19999

1шт.

2

417-54-13270

COVER

SN: 10001-19999

1шт.

3

01010-50616

BOLT

SN: 10001-19999

2шт.

4

01643-30623

WASHER

SN: 10001-19999

2шт.

5

417-54-13280

COVER

SN: 11491-19999

2шт.

6

01010-50616

BOLT

SN: 11491-19999

4шт.

7

01643-30623

WASHER

SN: 11491-19999

4шт.

8

09415-01008

CAP

SN: 11491-19999

1шт.

9

01010-51025

BOLT

SN: 11491-19999

1шт.

10

01643-31032

WASHER

SN: 11491-19999

1шт.

11

417-54-13370

PLATE

SN: 10001-19999

2шт.

12

417-54-13360

SEAL

SN: 10001-19999

2шт.

13

01010-51225

BOLT

SN: 10001-19999

4шт.

14

01643-31232

WASHER

SN: 10001-19999

4шт.

15

417-54-13250

BRACKET,L.H.

SN: 10001-19999

1шт.

|15

417-54-13260

BRACKET,R.H.

SN: 10001-19999

1шт.

16

01010-51230

BOLT

SN: 10001-19999

4шт.

17

01643-31232

WASHER

SN: 10001-19999

4шт.

18

01010-51235

BOLT

SN: 10001-19999

4шт.

19

01643-31232

WASHER

SN: 10001-19999

4шт.

20

417-54-13410

PLATE

SN: 10001-19999

2шт.

21

01010-51460

BOLT

SN: 10001-19999

4шт.

22

01643-31445

WASHER

SN: 10001-19999

4шт.

23

417-54-13380

BOSS

SN: 10001-19999

4шт.

24

417-54-13130

BRACKET

SN: 10001-19999

1шт.

25

01010-31455

BOLT

SN: 10001-19999

4шт.

26

01643-31445

WASHER

SN: 10001-19999

4шт.

27

417-54-12522

SUPPORT

SN: 11491-19999

1шт.

28

417-54-12890

COVER

SN: 11491-19999

1шт.

29

01010-50825

BOLT

SN: 11491-19999

4шт.

30

01643-30823

WASHER

SN: 11491-19999

4шт.

31

417-54-12530

COVER

SN: 10001-19999

1шт.

32

01010-50825

BOLT

SN: 10001-19999

2шт.

33

01643-30823

WASHER

SN: 10001-19999

2шт.

34

417-54-12580

SEAL

SN: 10001-19999

1шт.

35

417-54-12280

SHEET

SN: 10001-19999

1шт.

36

417-54-12250

CUSHION

SN: 10001-19999

4шт.

37

417-54-12260

SPACER

SN: 10001-19999

4шт.

38

417-54-12240

CUSHION

SN: 10001-19999

4шт.

39

417-54-12270

PLATE

SN: 10001-19999

4шт.

40

01010-51260

BOLT

SN: 10001-19999

4шт.

Выбрано товаров: 0