Запчасти Komatsu WA100SSS-1 СИДЕНЬЕ ОПЕРАТОРА РАМА И ЧАСТИ КОРПУСА

Схема запчастей Komatsu WA100SSS-1 - СИДЕНЬЕ ОПЕРАТОРА РАМА И ЧАСТИ КОРПУСА
FIT
1:1
100%

Артикул

Название

Примечание

Количество

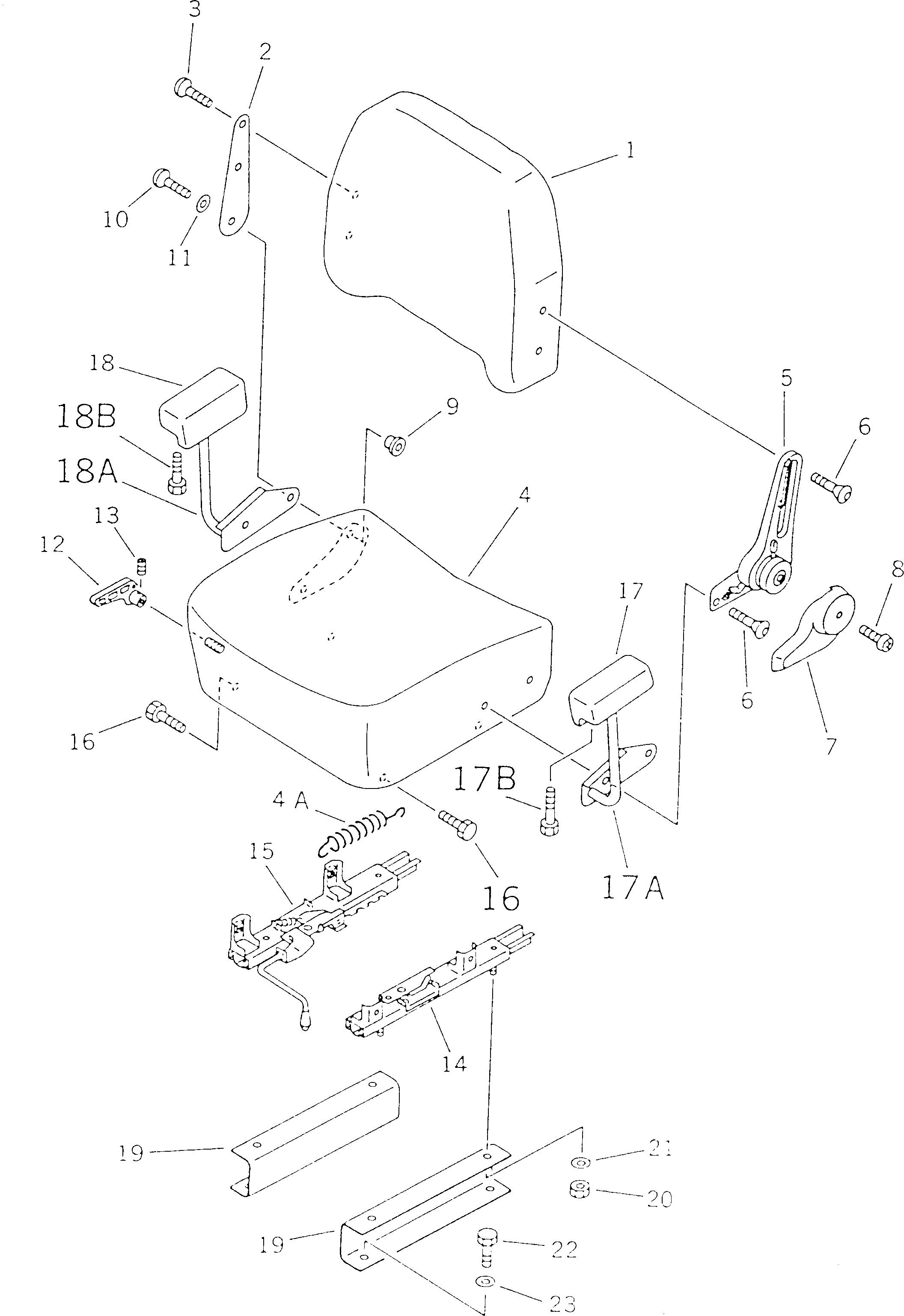
|1

417-57-11211

SEAT ASS'Y

SN: 10460-UP

1шт.

|1

0

SEAT ASS'Y

SN: 10001-10459

1шт.

|1

417-57-11220

SEAT ASS'Y

SN: 10001-UP

1шт.

1

417-57-11250

CUSHION,BACK

SN: 10001-UP

1шт.

2

423-57-11490

BRACKET

SN: 10001-UP

1шт.

3

423-57-11380

BOLT

SN: 10001-UP

2шт.

4

417-57-11260

CUSHION,SEAT

SN: 10001-UP

1шт.

5

423-57-11330

RECLINING ASS'Y

SN: 10001-UP

1шт.

6

423-57-11380

BOLT

SN: 10001-UP

4шт.

7

423-57-11371

COVER

SN: 10001-UP

1шт.

8

423-57-11160

SCREW

SN: 10001-UP

1шт.

9

423-57-11420

BUSHING

SN: 10001-UP

1шт.

10

423-57-11430

SCREW

SN: 10001-UP

1шт.

11

423-57-11440

WASHER

SN: 10001-UP

1шт.

12

423-57-11360

LEVER

SN: 10001-UP

1шт.

13

423-57-11410

SCREW

SN: 10001-UP

1шт.

14

423-57-11350

SLIDE

SN: 10001-UP

1шт.

15

417-57-11270

SLIDE

SN: 10001-UP

1шт.

16

423-57-11390

BOLT

SN: 10001-UP

4шт.

|17

417-57-11231

ARM REST ASS'Y,L.H.

SN: 10460-UP

1шт.

|17

0

ARM REST ASS'Y,L.H.

SN: 10001-10459

1шт.

17

417-57-11310

ARM,REST

SN: 10460-UP

1шт.

17A

417-57-11340

ARM

SN: 10460-UP

1шт.

17B

417-57-11360

BOLT

SN: 10460-UP

2шт.

|18

417-57-11241

ARM REST ASS'Y,R.H.

SN: 10460-UP

1шт.

|18

0

ARM REST ASS'Y,R.H.

SN: 10001-10459

1шт.

18

417-57-11310

ARM,REST

SN: 10460-UP

1шт.

18A

417-57-11350

ARM

SN: 10460-UP

1шт.

18B

417-57-11360

BOLT

SN: 10460-UP

2шт.

19

417-57-11112

SUPPORT

SN: 10001-UP

2шт.

20

01580-10806

NUT

SN: 10001-UP

4шт.

21

01643-30823

WASHER

SN: 10001-UP

4шт.

22

01010-51225

BOLT

SN: 10001-UP

4шт.

23

01643-31232

WASHER

SN: 10001-UP

4шт.

Выбрано товаров: 34