Запчасти Komatsu WA100SSS-1 КАБИНА (/8) (ЭЛЕМЕНТЫ КРЕПЛЕНИЯ) РАМА И ЧАСТИ КОРПУСА

Схема запчастей Komatsu WA100SSS-1 - КАБИНА (/8) (ЭЛЕМЕНТЫ КРЕПЛЕНИЯ) РАМА И ЧАСТИ КОРПУСА
FIT
1:1
100%

Артикул

Название

Примечание

Количество

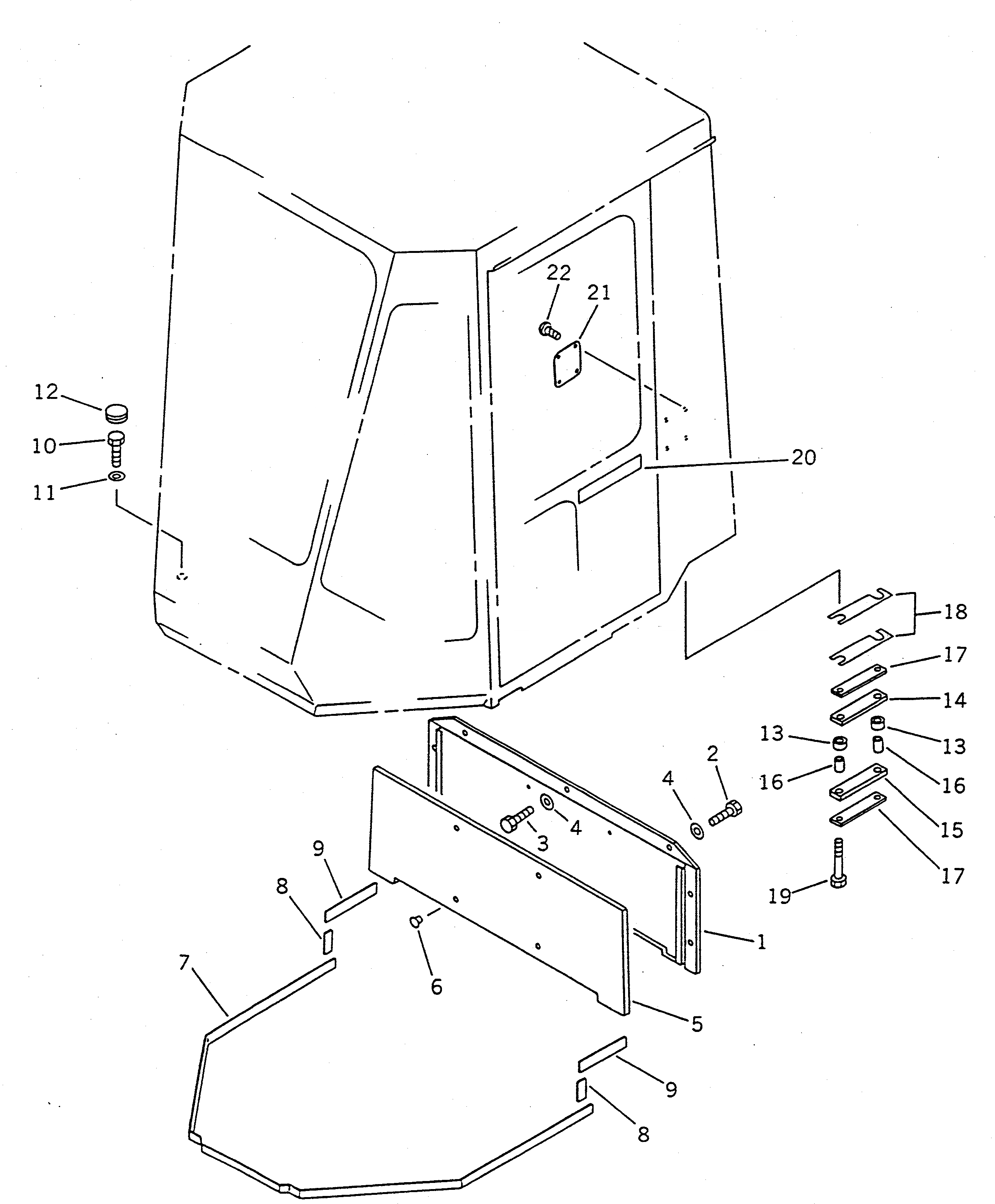
|1

417-54-15011

OPERATOR'S CAB ASS'Y

SN: 20001-UP

1шт.

|1

417-54-15010

OPERATOR'S CAB ASS'Y

SN: 10001-19999

1шт.

1

417-54-15414

PLATE

SN: 20001-UP

1шт.

|1

417-54-15413

PLATE

SN: 10001-19999

1шт.

2

01010-50816

BOLT

SN: 10001-UP

6шт.

3

01010-50825

BOLT

SN: 10001-UP

1шт.

4

01643-30823

WASHER

SN: 10001-UP

7шт.

5

417-54-15512

PAD

SN: 20001-UP

1шт.

|5

417-54-15511

PAD

SN: 10001-19999

1шт.

6

09416-10000

BUTTON

SN: 10001-UP

4шт.

7

417-54-15110

SEAL

SN: 10001-UP

1шт.

8

417-54-15120

SEAL

SN: 10001-UP

2шт.

9

417-54-15130

SEAT

SN: 10001-UP

2шт.

10

01010-51225

BOLT

SN: 10001-UP

8шт.

11

01643-31232

WASHER

SN: 10001-UP

8шт.

12

09415-02512

CAP

SN: 10001-UP

8шт.

13

417-54-15521

CUSHION

SN: 10001-UP

4шт.

14

417-54-15570

CUSHION

SN: 10001-UP

2шт.

15

417-54-15560

CUSHION

SN: 10001-UP

2шт.

16

417-54-15541

SPACER

SN: 10001-UP

4шт.

17

417-54-15580

PLATE

SN: 10001-UP

4шт.

18

417-54-15470

SHIM¤ 1.0MM

SN: 10001-UP

12шт.

19

01010-51280

BOLT

SN: 10001-UP

4шт.

20

417-93-11280

PLATE¤ NAME,AVANCE

SN: 30001-UP

2шт.

|20

09690-50280

PLATE¤ MARK,KOMATSU

SN: 10001-29999

2шт.

21

0

PLATE¤ SAFETY,(LIMITED SUPPLY)

SN: 10001-UP

1шт.

22

04418-13060

SCREW

SN: 10001-UP

4шт.

Выбрано товаров: 27