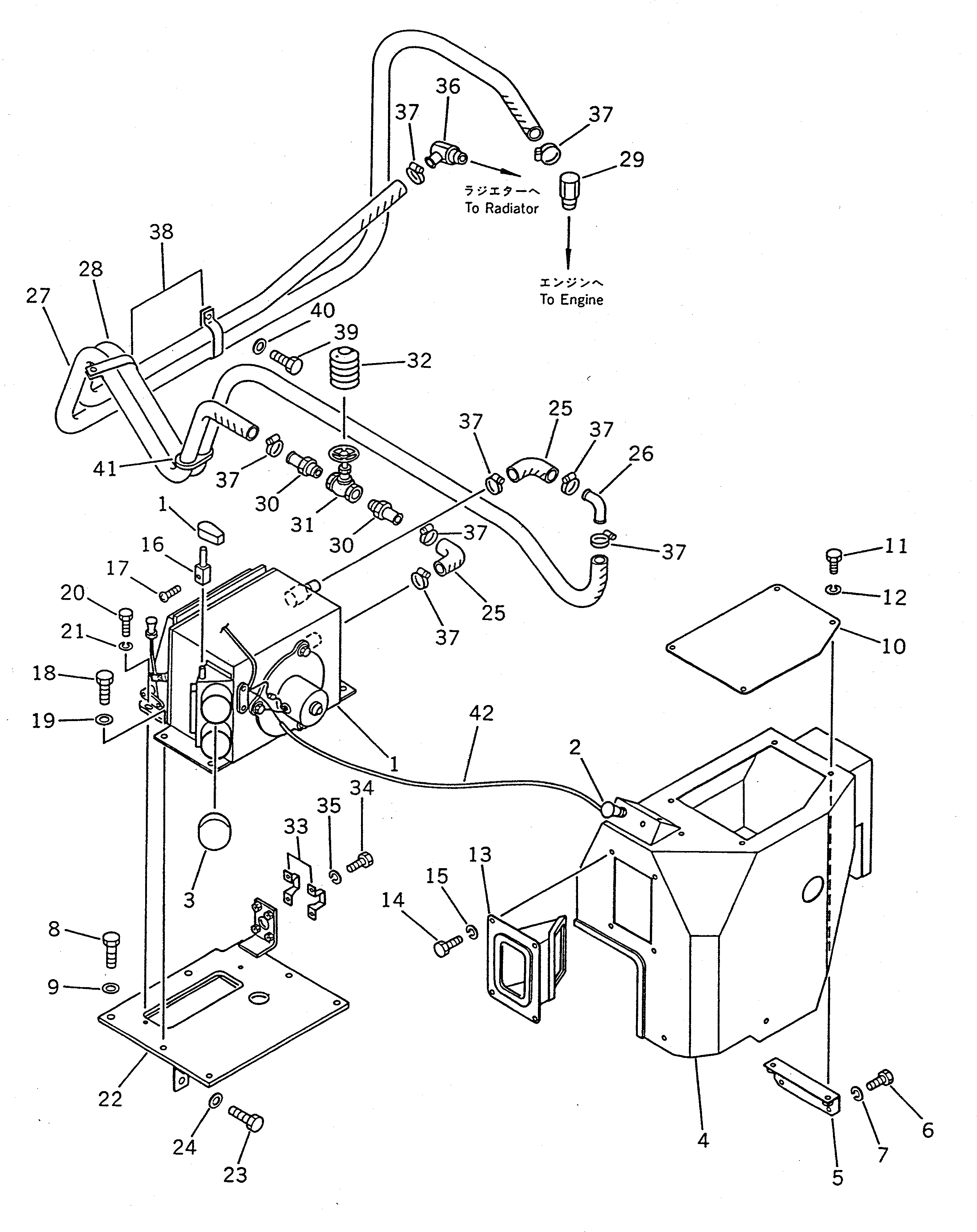
Запчасти Komatsu WA100SSS-1 ОБОГРЕВАТЕЛЬ. И АНТИОБЛЕДЕНИТЕЛЬ (/)(№-9999) РАМА И ЧАСТИ КОРПУСА

Схема запчастей Komatsu WA100SSS-1 - ОБОГРЕВАТЕЛЬ. И АНТИОБЛЕДЕНИТЕЛЬ (/)(№-9999) РАМА И ЧАСТИ КОРПУСА
FIT
1:1
100%

Артикул

Название

Примечание

Количество

1

416-942-1121

HEATER UNIT ASS'Y

SN: 10001-@

1шт.

2

416-942-1160

SWITCH,HEATER

SN: 10001-@

1шт.

3

416-942-1630

CAP

SN: 10001-@

1шт.

4

416-942-1410

COVER

SN: 10001-19999

1шт.

5

416-942-1460

BRACKET

SN: 10001-@

1шт.

6

01010-50612

BOLT

SN: 10001-@

2шт.

7

01602-20619

WASHER,SPRING

SN: 10001-@

2шт.

8

01010-51035

BOLT

SN: 10001-@

2шт.

9

01643-31032

WASHER

SN: 10001-@

2шт.

10

416-942-1420

COVER

SN: 10001-19999

1шт.

11

01010-50616

BOLT

SN: 10001-19999

4шт.

12

01602-20619

WASHER,SPRING

SN: 10001-19999

4шт.

13

416-942-1430

DUCT

SN: 10001-19999

1шт.

14

01010-50612

BOLT

SN: 10001-@

4шт.

15

01602-20619

WASHER,SPRING

SN: 10001-@

4шт.

16

416-942-1760

ROD

SN: 10001-19999

1шт.

17

01220-40308

SCREW

SN: 10001-@

1шт.

18

01010-51025

BOLT

SN: 10001-@

4шт.

19

01643-31032

WASHER

SN: 10001-@

4шт.

20

01010-50612

BOLT

SN: 10001-@

2шт.

21

01602-20619

WASHER,SPRING

SN: 10001-@

2шт.

22

416-942-1450

BRACKET

SN: 10001-19999

1шт.

23

01010-51020

BOLT

SN: 10001-@

2шт.

24

01643-31032

WASHER

SN: 10001-@

2шт.

25

09483-30550

HOSE

SN: 10001-@

2шт.

26

416-942-1550

ELBOW

SN: 10001-@

1шт.

27

09483-10524

HOSE

SN: 10001-@

1шт.

28

09483-10520

HOSE

SN: 10001-@

1шт.

29

416-942-1540

ELBOW

SN: 10001-19999

1шт.

30

416-942-1560

CONNECTOR

SN: 10001-@

2шт.

31

416-942-1510

VALVE,WATER

SN: 10001-@

1шт.

32

416-942-1580

BOOT

SN: 10001-@

1шт.

33

416-942-1520

PLATE

SN: 10001-19999

2шт.

34

01010-50612

BOLT

SN: 10001-@

4шт.

35

01602-20619

WASHER,SPRING

SN: 10001-@

4шт.

36

416-942-1570

ELBOW

SN: 10001-19999

1шт.

37

07281-00259

CLAMP

SN: 10001-@

8шт.

38

198-61-14180

CLIP

SN: 10001-19999

2шт.

39

01010-51220

BOLT

SN: 10001-19999

2шт.

40

01643-31232

WASHER

SN: 10001-19999

2шт.

41

416-942-1530

GROMMET

SN: 10001-@

1шт.

42

416-942-1180

WIRE ASS'Y

SN: 10001-@

1шт.

Выбрано товаров: 42