Запчасти Komatsu WA100SSS-1 ГИДРОЛИНИЯ (/)(№-9999) УПРАВЛ-Е РАБОЧИМ ОБОРУДОВАНИЕМ

Схема запчастей Komatsu WA100SSS-1 - ГИДРОЛИНИЯ (/)(№-9999) УПРАВЛ-Е РАБОЧИМ ОБОРУДОВАНИЕМ
FIT
1:1
100%

Артикул

Название

Примечание

Количество

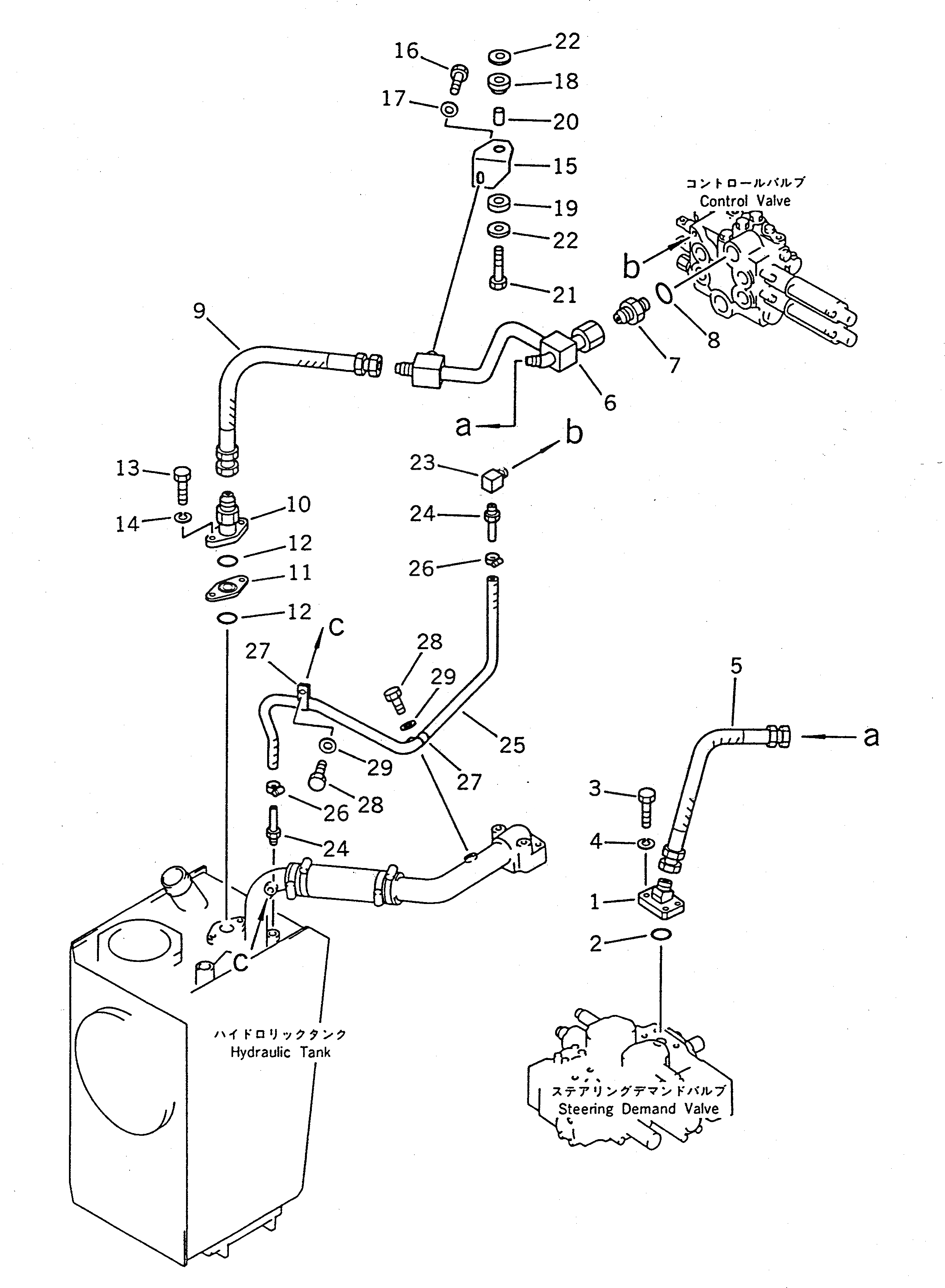
1

417-62-11231

FLANGE

SN: 10001-19999

1шт.

2

07000-13032

O-RING

SN: 10001-19999

1шт.

3

01010-31035

BOLT

SN: 10001-19999

4шт.

4

01602-21030

WASHER,SPRING

SN: 10001-19999

4шт.

5

417-62-13530

HOSE

SN: 10001-19999

1шт.

6

417-62-13222

TUBE

SN: 10001-19999

1шт.

7

416-62-13210

UNION

SN: 10001-@

1шт.

8

07002-13334

O-RING

SN: 10001-@

1шт.

9

07102-21004

HOSE

SN: 10001-@

1шт.

10

417-62-13250

TUBE

SN: 10001-19999

1шт.

11

416-62-13190

PLATE

SN: 10001-19999

1шт.

12

07000-13035

O-RING

SN: 10001-19999

2шт.

13

01010-31035

BOLT

SN: 10001-19999

2шт.

14

01602-21030

WASHER,SPRING

SN: 10001-19999

2шт.

15

417-62-13780

PLATE

SN: 10001-19999

1шт.

16

01010-31225

BOLT

SN: 10001-@

1шт.

17

01643-31232

WASHER

SN: 10001-@

1шт.

18

419-43-17930

CUSHION

SN: 10001-@

1шт.

19

417-62-13620

CUSHION

SN: 10001-@

1шт.

20

417-54-13470

SPACER

SN: 10001-@

1шт.

21

01010-31250

BOLT

SN: 10001-@

1шт.

22

419-43-17920

WASHER

SN: 10001-@

2шт.

23

421-70-13140

ELBOW

SN: 10001-@

1шт.

24

113-04-32130

NIPPLE

SN: 10001-@

2шт.

25

07260-20980

HOSE

SN: 10001-@

1шт.

26

07281-00197

CLAMP

SN: 10001-@

2шт.

27

08036-01814

CLIP

SN: 10001-19999

2шт.

28

01010-31016

BOLT

SN: 10001-19999

2шт.

29

01643-31032

WASHER

SN: 10001-19999

2шт.

Выбрано товаров: 29