Запчасти Komatsu WA100SSS-1 ГИДРОЛИНИЯ (ДЛЯ ПЕРЕДН. НАВЕСН. ОБОРУД) (/)(№-9999) УПРАВЛ-Е РАБОЧИМ ОБОРУДОВАНИЕМ

Схема запчастей Komatsu WA100SSS-1 - ГИДРОЛИНИЯ (ДЛЯ ПЕРЕДН. НАВЕСН. ОБОРУД) (/)(№-9999) УПРАВЛ-Е РАБОЧИМ ОБОРУДОВАНИЕМ
FIT
1:1
100%

Артикул

Название

Примечание

Количество

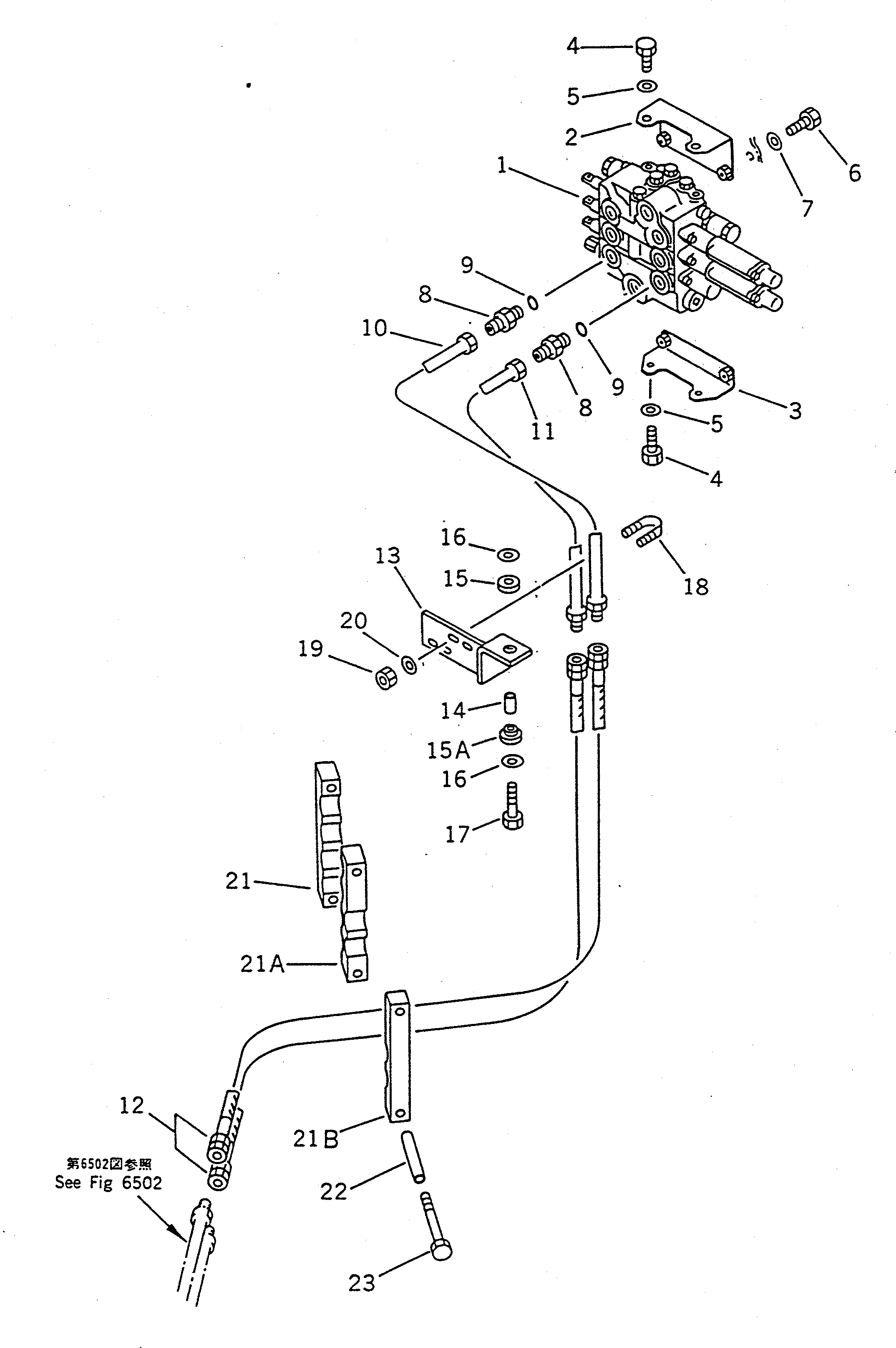
1

700-83-26002

VALVE ASS'Y,3-SPOOL

SN: .-@

1шт.

|1

0

VALVE ASS'Y,3-SPOOL

SN: 10001-.

1шт.

2

417-64-13111

BRACKET

SN: 10001-19999

1шт.

3

417-64-13120

BRACKET

SN: 10001-19999

1шт.

4

01010-31025

BOLT

SN: 10001-@

4шт.

5

01643-31032

WASHER

SN: 10001-@

4шт.

6

01010-31225

BOLT

SN: 10001-19999

4шт.

7

01643-31232

WASHER

SN: 10001-19999

4шт.

8

07230-10522

UNION

SN: 10001-@

2шт.

9

07002-12434

O-RING

SN: 10001-@

2шт.

10

416-877-1310

TUBE

SN: 10001-@

1шт.

11

416-877-1320

TUBE

SN: 10001-@

1шт.

12

07086-40514

HOSE

SN: 10001-@

2шт.

13

416-877-1440

BRACKET

SN: 10001-19999

1шт.

14

417-54-13470

SPACER

SN: 10001-@

1шт.

15

419-43-17930

CUSHION

SN: 10001-19999

1шт.

15A

417-62-13670

CUSHION

SN: 10001-19999

1шт.

16

419-43-17920

WASHER

SN: 10001-@

2шт.

17

01010-31250

BOLT

SN: 10001-@

1шт.

18

07283-32236

CLIP

SN: 10001-@

2шт.

19

426-09-11160

NUT

SN: 10001-19999

4шт.

20

01643-31032

WASHER

SN: 10001-@

4шт.

|21

416-877-1360

RUBBER,STRIP

SN: 10001-19999

1шт.

21

416-877-1370

STRIP

SN: 10001-19999

1шт.

21A

416-877-1380

STRIP

SN: 10001-19999

1шт.

21B

416-877-1390

STRIP

SN: 10001-19999

1шт.

22

416-877-1410

SPACER

SN: 10001-@

2шт.

23

01011-31240

BOLT

SN: 10001-@

2шт.

Выбрано товаров: 28