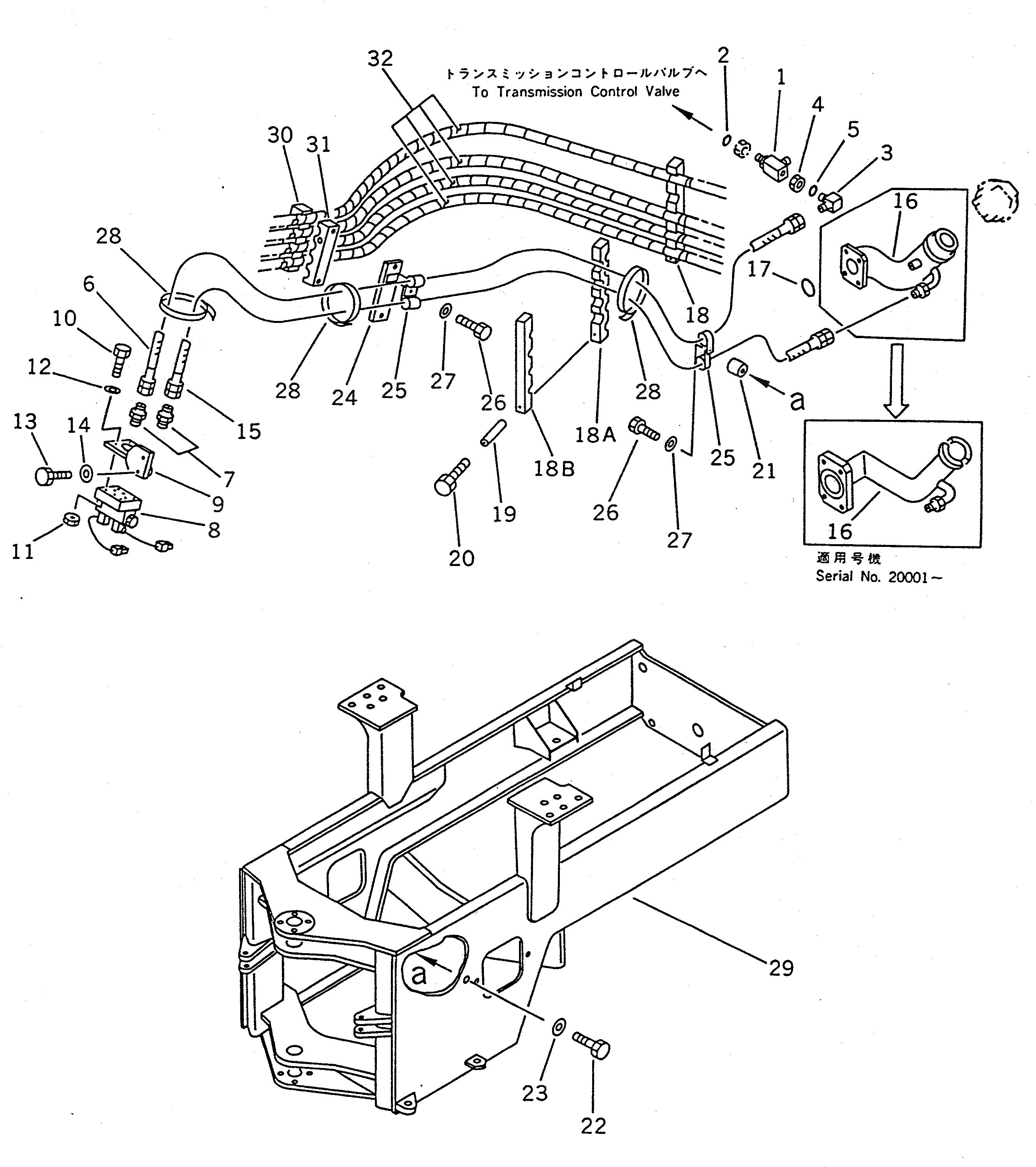
Запчасти Komatsu WA100SSS-1 СОЕДИНИТ. УСТР-ВО ТРУБЫ (/) УПРАВЛ-Е РАБОЧИМ ОБОРУДОВАНИЕМ

Схема запчастей Komatsu WA100SSS-1 - СОЕДИНИТ. УСТР-ВО ТРУБЫ (/) УПРАВЛ-Е РАБОЧИМ ОБОРУДОВАНИЕМ
FIT
1:1
100%

Артикул

Название

Примечание

Количество

1

418-879-1510

ELBOW

SN: 10001-UP

1шт.

2

07002-02434

O-RING

SN: 10001-UP

1шт.

3

07232-20315

ELBOW

SN: 10001-UP

1шт.

4

07239-12009

NUT

SN: 10001-UP

1шт.

5

07002-02034

O-RING

SN: 10001-UP

1шт.

6

07103-50325

HOSE

SN: 10001-UP

1шт.

7

423-35-12250

CONNECTOR

SN: 10001-UP

2шт.

8

418-879-1680

VALVE ASS'Y

SN: 10001-UP

1шт.

9

416-879-1530

BRACKET

SN: 10001-UP

1шт.

10

01252-40635

BOLT

SN: 10001-UP

4шт.

11

426-09-11130

NUT

SN: 10001-UP

4шт.

12

01643-30623

WASHER

SN: 10001-UP

4шт.

13

01010-51030

BOLT

SN: 10001-UP

2шт.

14

01643-31032

WASHER

SN: 10001-UP

2шт.

15

07103-50324

HOSE

SN: 10001-UP

1шт.

16

416-879-1731

TUBE,FILLER (MODIFIED PARTS)

SN: 20001-UP

1шт.

|16

416-879-1730

TUBE,FILLER (MODIFIED PARTS)

SN: 10001-19999

1шт.

17

07000-02065

O-RING

SN: 10001-UP

1шт.

|18

416-844-1550

STRIP ASS'Y

SN: 20001-UP

1шт.

|18

0

STRIP ASS'Y

SN: 10001-19999

1шт.

18

416-844-1630

STRIP

SN: 20001-UP

1шт.

|18

416-878-1430

STRIP

SN: 10001-19999

1шт.

18A

416-844-1640

STRIP

SN: 20001-UP

1шт.

|18A

416-878-1440

STRIP

SN: 10001-19999

1шт.

18B

416-844-1650

STRIP

SN: 20001-UP

1шт.

|18B

416-878-1450

STRIP

SN: 10001-19999

1шт.

19

416-877-1410

SPACER

SN: 10001-UP

2шт.

20

01011-31240

BOLT

SN: 10001-UP

2шт.

21

416-879-1680

BOSS

SN: 10001-UP

1шт.

22

01010-51025

BOLT

SN: 10001-UP

1шт.

23

01643-31032

WASHER

SN: 10001-UP

1шт.

24

416-879-1710

PLATE,(MODIFIED PARTS)

SN: 10001-UP

1шт.

25

424-06-12790

CLIP

SN: 10001-UP

4шт.

26

01010-51020

BOLT

SN: 10001-UP

2шт.

27

01643-31032

WASHER

SN: 10001-UP

2шт.

28

08034-00519

BAND

SN: 10001-UP

4шт.

29

416-879-1571

FRAME,REAR (MODIFIED PARTS)

SN: 20001-UP

1шт.

|29

416-879-1570

FRAME,REAR (MODIFIED PARTS)

SN: 10001-19999

1шт.

|30

416-844-1560

STRIP ASS'Y

SN: 20001-UP

1шт.

30

416-844-1620

STRIP

SN: 20001-UP

1шт.

31

416-844-1610

STRIP

SN: 20001-UP

1шт.

32

416-879-1750

PROTECTOR

SN: 20001-UP

4шт.

Выбрано товаров: 42