Запчасти Komatsu WA100SSS-1 LUMBER ЗАХВАТ РАБОЧЕЕ ОБОРУДОВАНИЕ

Схема запчастей Komatsu WA100SSS-1 - LUMBER ЗАХВАТ РАБОЧЕЕ ОБОРУДОВАНИЕ
FIT
1:1
100%

Артикул

Название

Примечание

Количество

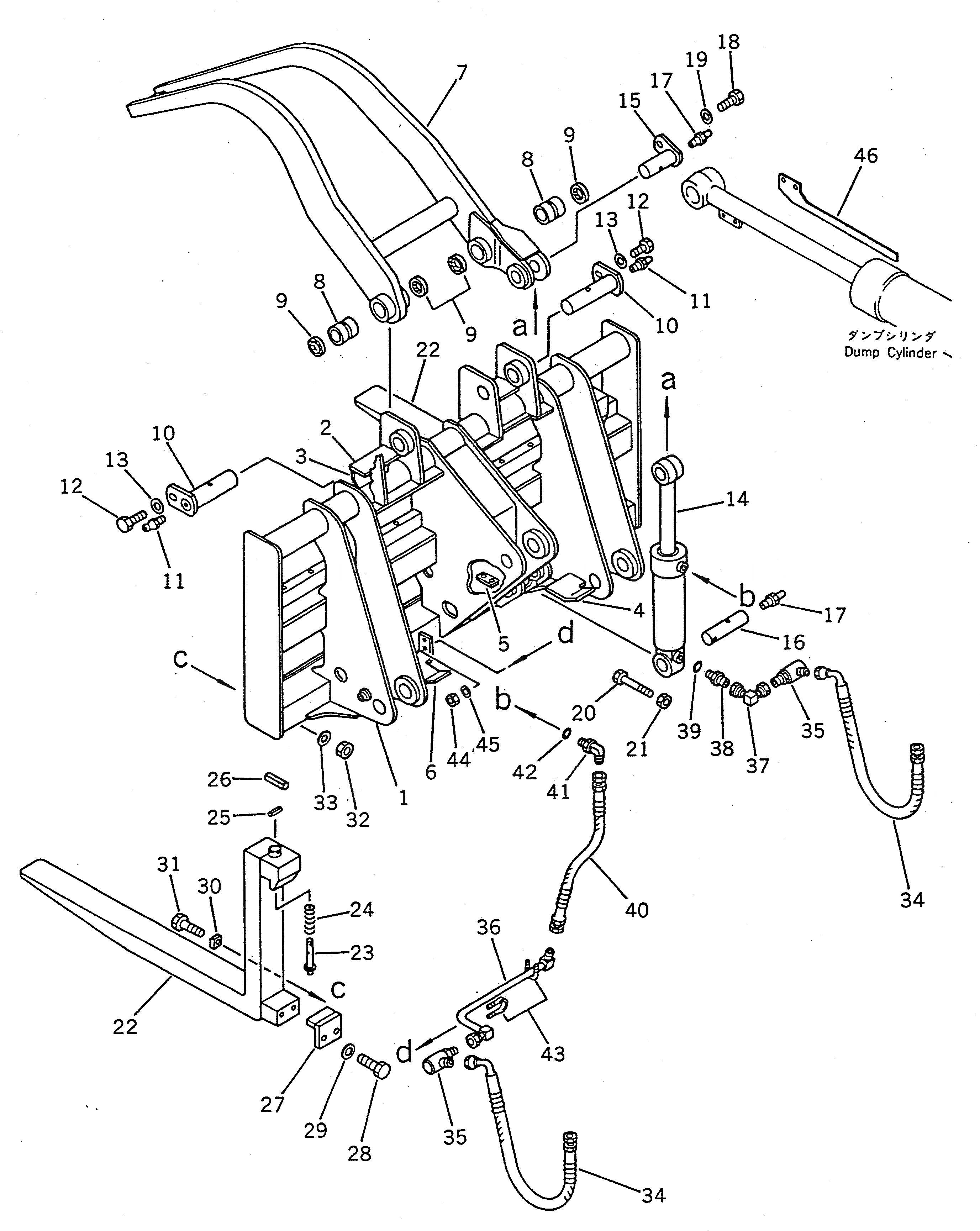
1

416-884-1110

CARRIER

SN: 10001-UP

1шт.

2

417-881-1210

PLATE (WELDED)

SN: 10001-UP

2шт.

3

417-881-1190

PLATE (WELDED)

SN: 10001-UP

2шт.

4

416-881-1130

PLATE (WELDED)

SN: 10001-UP

1шт.

5

416-881-1140

PLATE (WELDED)

SN: 10001-UP

1шт.

6

417-881-1150

BRACKET (WELDED)

SN: 10001-UP

1шт.

|7

416-881-0010

ARM ASS'Y

SN: 10001-UP

1шт.

7

0

ARM

SN: 10001-UP

1шт.

8

416-70-11810

BUSHING

SN: 10001-UP

2шт.

9

424-09-12310

SEAL,DUST

SN: 10001-UP

4шт.

10

417-881-1220

PIN

SN: 10001-UP

2шт.

11

07020-00000

FITTING,GREASE

SN: 10001-UP

1шт.

12

01010-31220

BOLT

SN: 10001-UP

2шт.

13

175-54-34170

WASHER

SN: 10001-UP

2шт.

14

707-00-80330

CYLINDER ASS'Y

SN: 10001-UP

1шт.

15

415-70-11910

PIN

SN: 10001-UP

1шт.

16

416-881-1120

PIN

SN: 10001-UP

1шт.

17

07020-00000

FITTING,GREASE

SN: 10001-UP

2шт.

18

01010-31220

BOLT

SN: 10001-UP

1шт.

19

175-54-34170

WASHER

SN: 10001-UP

1шт.

20

01011-31000

BOLT

SN: 10001-UP

1шт.

21

01598-01011

NUT

SN: 10001-UP

1шт.

22

416-884-1120

FORK

SN: 10001-UP

2шт.

23

417-884-1160

PIN

SN: 10001-UP

2шт.

24

417-884-1150

SPRING

SN: 10001-UP

2шт.

25

04025-00440

PIN,SPRING

SN: 10001-UP

2шт.

26

04025-00865

PIN,SPRING

SN: 10001-UP

2шт.

27

417-884-1130

BRACKET

SN: 10001-UP

2шт.

28

01010-32050

BOLT

SN: 10001-UP

4шт.

29

01643-32460

WASHER

SN: 10001-UP

4шт.

30

417-884-1140

PLATE

SN: 10001-UP

4шт.

31

01010-31255

BOLT

SN: 10001-UP

4шт.

32

01580-01210

NUT

SN: 10001-UP

4шт.

33

01643-31232

WASHER

SN: 10001-UP

4шт.

34

417-881-1180

HOSE

SN: 10001-UP

2шт.

35

07129-00400

JOINT

SN: 10001-UP

2шт.

36

416-881-1160

TUBE

SN: 10001-UP

1шт.

37

416-881-1151

ELBOW

SN: 10001-UP

1шт.

38

07230-10422

UNION

SN: 10001-UP

1шт.

39

07002-12034

O-RING

SN: 10001-UP

1шт.

40

07123-20404

HOSE

SN: 10001-UP

1шт.

41

07235-10422

ELBOW

SN: 10001-UP

1шт.

42

07002-12034

O-RING

SN: 10001-UP

1шт.

43

07283-22236

CLIP

SN: 10001-UP

2шт.

44

01599-01011

NUT

SN: 10001-UP

4шт.

45

01643-31032

WASHER

SN: 10001-UP

4шт.

46

416-904-1810

ANGLE

SN: 10001-UP

1шт.

Выбрано товаров: 47