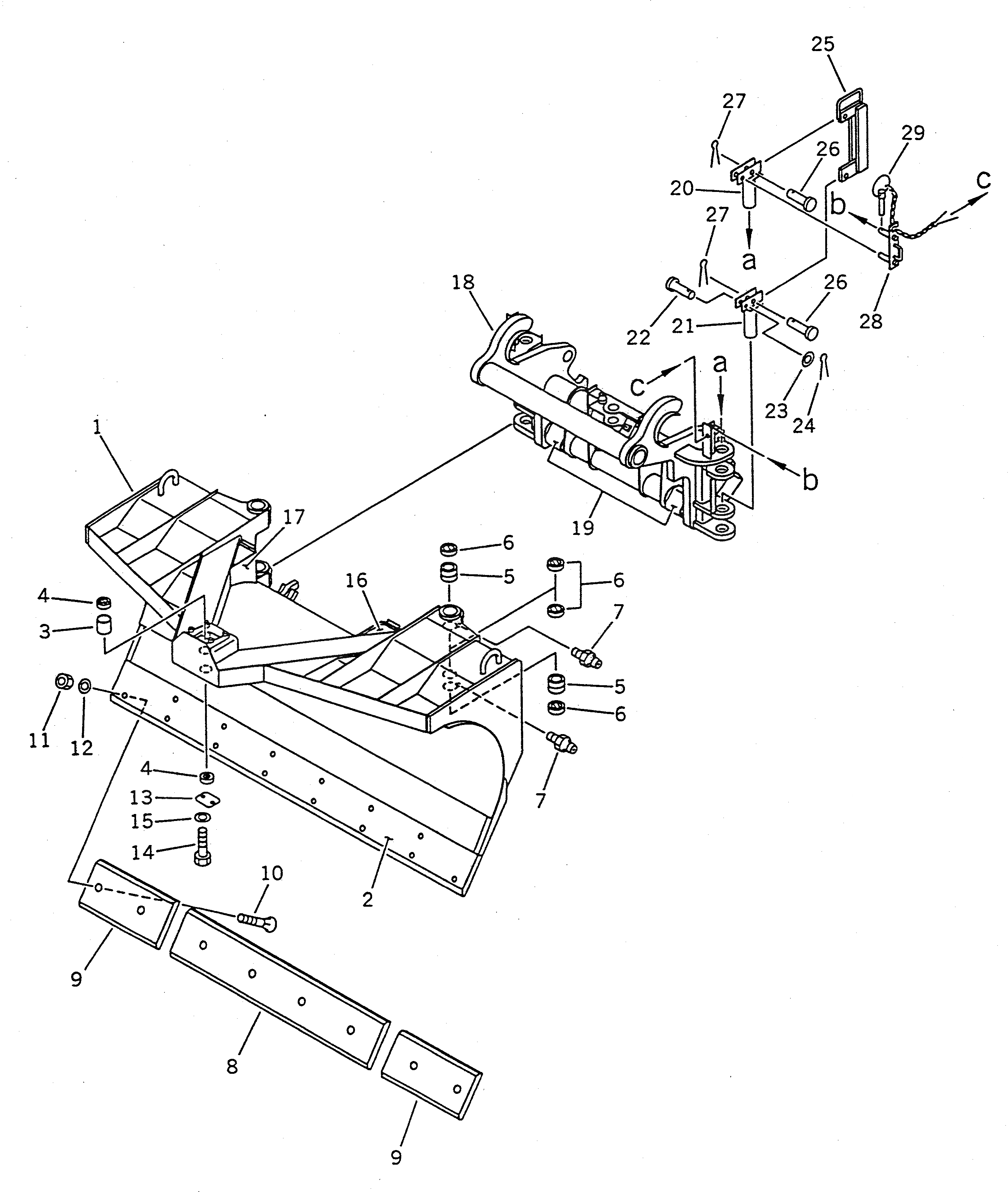
Запчасти Komatsu WA100SSS-1 КОВШ С 2-СТОРОНН. РАЗГРУЗКОЙ РАБОЧЕЕ ОБОРУДОВАНИЕ

Схема запчастей Komatsu WA100SSS-1 - КОВШ С 2-СТОРОНН. РАЗГРУЗКОЙ РАБОЧЕЕ ОБОРУДОВАНИЕ
FIT
1:1
100%

Артикул

Название

Примечание

Количество

|1

416-839-1010

BUCKET ASS'Y

SN: 10001-UP

1шт.

1

0

BUCKET

SN: 10001-UP

1шт.

2

416-70-12121

EDGE (WELDED)

SN: 10001-UP

1шт.

3

415-70-11810

BUSHING

SN: 10001-UP

1шт.

4

07145-00045

SEAL,DUST

SN: 10001-UP

2шт.

5

416-839-2000

BUSHING

SN: 10001-UP

4шт.

6

416-09-11130

SEAL,DUST

SN: 10001-UP

8шт.

7

07020-00000

FITTING,GREASE

SN: 10001-UP

4шт.

8

416-815-1210

EDGE,CENTER

SN: 10001-UP

1шт.

9

416-815-1220

EDGE,SIDE

SN: 10001-UP

2шт.

10

02090-11270

BOLT

SN: 10001-UP

8шт.

11

02290-11219

NUT

SN: 10001-UP

8шт.

12

01643-32060

WASHER

SN: 10001-UP

8шт.

13

416-839-1350

PLATE

SN: 10001-UP

1шт.

14

01010-51025

BOLT

SN: 10001-UP

2шт.

15

01643-31032

WASHER

SN: 10001-UP

2шт.

16

416-839-1210

PLATE,L.H. (WELDED)

SN: 10001-UP

1шт.

17

416-839-1220

PLATE,R.H. (WELDED)

SN: 10001-UP

1шт.

18

416-839-1100

CRADLE

SN: 10001-UP

1шт.

19

416-839-1110

PLATE (WELDED)

SN: 10001-UP

2шт.

20

416-839-1300

PIN

SN: 10001-UP

2шт.

21

416-839-1500

PIN

SN: 10001-UP

2шт.

22

418-844-1310

PIN

SN: 10001-UP

2шт.

23

01643-51232

WASHER

SN: 10001-UP

2шт.

24

04050-13020

PIN,COTTER

SN: 10001-UP

2шт.

25

416-839-1310

BRACKET

SN: 10001-UP

2шт.

26

04205-12060

PIN

SN: 10001-UP

4шт.

27

04050-15035

PIN,COTTER

SN: 10001-UP

4шт.

28

416-839-1361

PIN

SN: 10001-UP

2шт.

29

421-46-12750

PIN,LINCH

SN: 10001-UP

2шт.

Выбрано товаров: 30