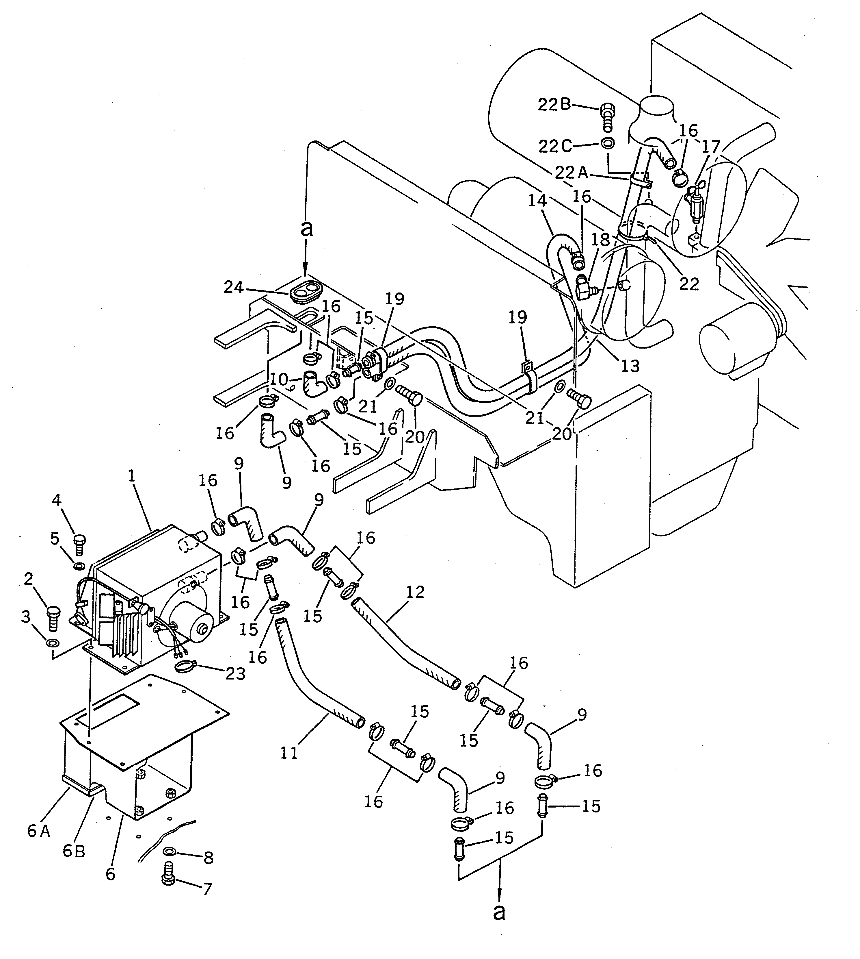
Запчасти Komatsu WA100SSS-1 ОБОГРЕВАТЕЛЬ. (/) (ДЛЯ КАБИНА ДЛЯ 2 ЧЕЛ.)(№-7) СПЕЦ. APPLICATION ЧАСТИ

Схема запчастей Komatsu WA100SSS-1 - ОБОГРЕВАТЕЛЬ. (/) (ДЛЯ КАБИНА ДЛЯ 2 ЧЕЛ.)(№-7) СПЕЦ. APPLICATION ЧАСТИ
FIT
1:1
100%

Артикул

Название

Примечание

Количество

1

416-943-1410

HEATER UNIT ASS'Y

SN: 10001-@

1шт.

2

01010-51020

BOLT

SN: 10001-@

4шт.

3

01643-31032

WASHER

SN: 10001-@

4шт.

4

01010-50620

BOLT

SN: 10001-@

2шт.

5

01643-30623

WASHER

SN: 10001-@

2шт.

6

416-943-1110

BRACKET

SN: 10001-@

1шт.

6A

416-943-1120

SEAL

SN: 10001-@

1шт.

6B

416-943-1130

SEAL

SN: 10001-@

1шт.

7

01010-51020

BOLT

SN: 10001-@

4шт.

8

01643-31032

WASHER

SN: 10001-@

4шт.

9

416-943-1320

HOSE

SN: 10001-11762

5шт.

10

09483-30550

HOSE

SN: 10001-11762

1шт.

11

09483-10504

HOSE

SN: 10001-@

1шт.

12

195-979-3890

HOSE

SN: 10001-@

1шт.

13

09483-10517

HOSE

SN: 10001-@

1шт.

14

09483-10511

HOSE

SN: 10001-11762

1шт.

15

09484-00560

CONNECTOR

SN: .-11762

8шт.

|15

0

CONNECTOR

SN: 10001-.

8шт.

16

07281-00289

CLAMP

SN: 10001-11762

20шт.

17

416-943-1330

VALVE

SN: 10001-@

1шт.

18

416-942-1571

ELBOW

SN: 10001-@

1шт.

19

421-07-11760

CLIP

SN: 10001-@

2шт.

20

01010-51225

BOLT

SN: 10001-@

2шт.

21

01643-31232

WASHER

SN: 10001-@

2шт.

22

08034-00536

BAND

SN: 10001-.

1шт.

22A

424-06-12790

CLIP

SN: .-@

1шт.

22B

01010-51016

BOLT

SN: .-@

1шт.

22C

01643-31032

WASHER

SN: .-@

1шт.

23

08034-00519

BAND

SN: 10001-@

1шт.

24

416-942-1530

GROMMET

SN: 10001-@

1шт.

Выбрано товаров: 30