Запчасти Komatsu WA100SSS-1 ОБОГРЕВАТЕЛЬ. (/) (ДЛЯ КАБИНА ДЛЯ 2 ЧЕЛ.)(№7-) СПЕЦ. APPLICATION ЧАСТИ

Схема запчастей Komatsu WA100SSS-1 - ОБОГРЕВАТЕЛЬ. (/) (ДЛЯ КАБИНА ДЛЯ 2 ЧЕЛ.)(№7-) СПЕЦ. APPLICATION ЧАСТИ
FIT
1:1
100%

Артикул

Название

Примечание

Количество

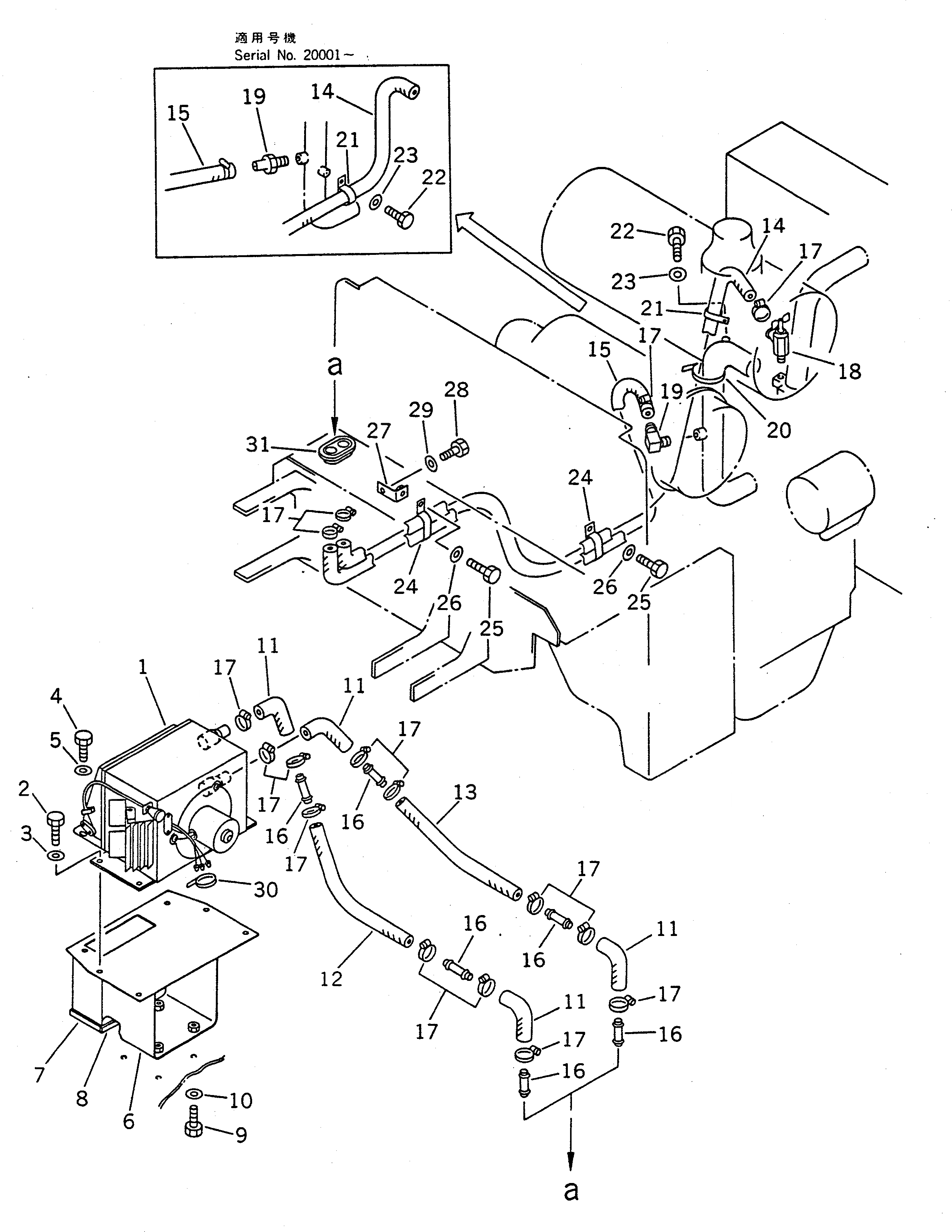
1

416-943-1410

HEATER UNIT ASS'Y

SN: 10001-UP

1шт.

2

01010-51020

BOLT

SN: 10001-UP

4шт.

3

01643-31032

WASHER

SN: 10001-UP

4шт.

4

01010-50620

BOLT

SN: 10001-UP

2шт.

5

01643-30623

WASHER

SN: 10001-UP

2шт.

6

416-943-1111

BRACKET

SN: 20001-UP

1шт.

|6

416-943-1110

BRACKET

SN: 10001-19999

1шт.

7

416-943-1120

SEAL

SN: 10001-UP

1шт.

8

416-943-1130

SEAL

SN: 10001-UP

1шт.

9

01010-51020

BOLT

SN: 10001-UP

4шт.

10

01643-31032

WASHER

SN: 10001-UP

4шт.

11

416-943-1320

HOSE

SN: 11763-UP

4шт.

12

09483-10504

HOSE

SN: 10001-UP

1шт.

13

195-979-3890

HOSE

SN: 10001-UP

1шт.

14

09483-10517

HOSE

SN: 10001-UP

1шт.

15

09483-10512

HOSE

SN: 11763-UP

1шт.

16

09483-10512

HOSE

SN: 11763-UP

6шт.

17

07281-00289

CLAMP

SN: 11763-UP

16шт.

18

416-943-1330

VALVE

SN: 10001-UP

1шт.

19

416-942-1560

CONNECTOR

SN: 20001-UP

1шт.

|19

416-942-1571

ELBOW

SN: 10001-19999

1шт.

20

08034-00536

BAND

SN: 10001-.

1шт.

21

424-06-12790

CLIP

SN: .-UP

1шт.

22

01010-51016

BOLT

SN: .-UP

1шт.

23

01643-31032

WASHER

SN: .-UP

1шт.

24

421-07-11760

CLIP

SN: 10001-UP

2шт.

25

01010-51225

BOLT

SN: 10001-UP

2шт.

26

01643-31232

WASHER

SN: 10001-UP

2шт.

27

421-54-13460

PLATE

SN: 11763-UP

1шт.

28

01010-51225

BOLT

SN: 11763-UP

1шт.

29

01643-31232

WASHER

SN: 11763-UP

1шт.

30

08034-00519

BAND

SN: 10001-UP

1шт.

31

416-942-1530

GROMMET

SN: 10001-UP

1шт.

Выбрано товаров: 33