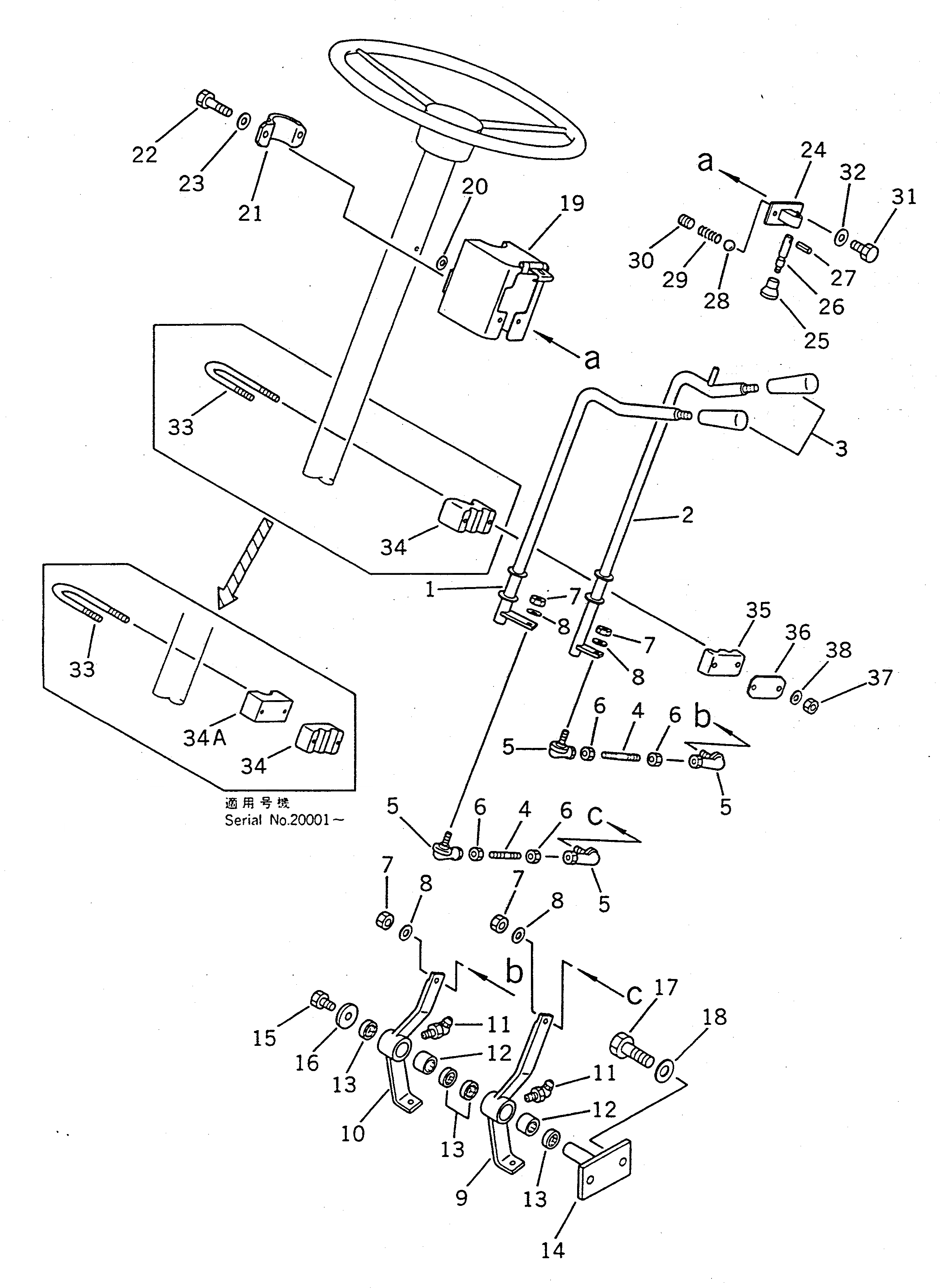
Запчасти Komatsu WA100SSS-1 РЫЧАГ УПРАВЛ-Я ТРАНСМИССИЕЙ ТРАНСМИССИЯ

Схема запчастей Komatsu WA100SSS-1 - РЫЧАГ УПРАВЛ-Я ТРАНСМИССИЕЙ ТРАНСМИССИЯ
FIT
1:1
100%

Артикул

Название

Примечание

Количество

1

417-43-16122

LEVER

SN: 20001-UP

1шт.

|1

417-43-16121

LEVER

SN: 10001-19999

1шт.

2

417-43-16530

LEVER

SN: 20001-UP

1шт.

|2

417-43-16111

LEVER

SN: 10001-19999

1шт.

3

417-09-12120

KNOB

SN: 10001-UP

2шт.

4

04245-40807

ROD

SN: 10001-UP

2шт.

5

417-09-12170

JOINT

SN: 20001-UP

4шт.

|5

417-09-12130

JOINT

SN: 10001-19999

4шт.

6

01580-00806

NUT

SN: 10001-UP

4шт.

7

426-09-11140

NUT

SN: 10001-UP

4шт.

8

01643-30823

WASHER

SN: 10001-UP

4шт.

9

417-43-16185

LEVER

SN: 20001-UP

1шт.

|9

417-43-16184

LEVER

SN: 10001-19999

1шт.

10

417-43-16175

LEVER

SN: 20001-UP

1шт.

|10

417-43-16174

LEVER

SN: 10001-19999

1шт.

11

07020-00675

FITTING,GREASE

SN: 10001-UP

2шт.

12

06120-02016

BEARING,NEEDLE

SN: 10001-UP

2шт.

13

06122-02004

SEAL,BEARING

SN: 10001-UP

4шт.

14

417-43-16190

BRACKET

SN: 10001-UP

1шт.

15

01010-31016

BOLT

SN: 10001-UP

1шт.

16

417-43-16210

WASHER

SN: 10001-UP

1шт.

17

01010-31030

BOLT

SN: 10001-UP

2шт.

18

01643-31032

WASHER

SN: 10001-UP

2шт.

19

417-43-16422

COVER

SN: 20001-UP

1шт.

|19

417-43-16421

COVER

SN: 10001-19999

1шт.

20

417-43-16440

GASKET

SN: 10001-UP

1шт.

21

417-43-16411

CLAMP

SN: 10001-UP

1шт.

22

01010-50825

BOLT

SN: 10001-UP

2шт.

23

01643-30823

WASHER

SN: 10001-UP

2шт.

24

417-43-16450

BRACKET

SN: 10001-UP

1шт.

25

417-43-16470

KNOB

SN: 10001-UP

1шт.

26

417-43-16460

PIN

SN: 10001-UP

1шт.

27

04025-00312

PIN,SPRING

SN: 10001-UP

1шт.

28

04260-00317

BALL

SN: 10001-UP

1шт.

29

417-43-16480

SPRING

SN: 10001-UP

1шт.

30

01320-40408

SCREW

SN: 10001-UP

1шт.

31

01010-50816

BOLT

SN: 10001-UP

2шт.

32

01643-30823

WASHER

SN: 10001-UP

2шт.

33

415-43-16450

CLIP

SN: 20001-UP

2шт.

|33

417-43-16151

CLIP

SN: 10001-19999

2шт.

34

417-43-16141

BUSHING

SN: 20001-UP

2шт.

|34

417-43-16131

BEARING

SN: 10001-19999

2шт.

34A

415-43-16440

SPACER

SN: 20001-UP

2шт.

35

417-43-16141

BUSHING

SN: 10001-UP

2шт.

36

417-43-16161

PLATE

SN: 10001-UP

2шт.

37

426-09-11140

NUT

SN: 10001-UP

4шт.

38

01643-30823

WASHER

SN: 10001-UP

4шт.

Выбрано товаров: 47