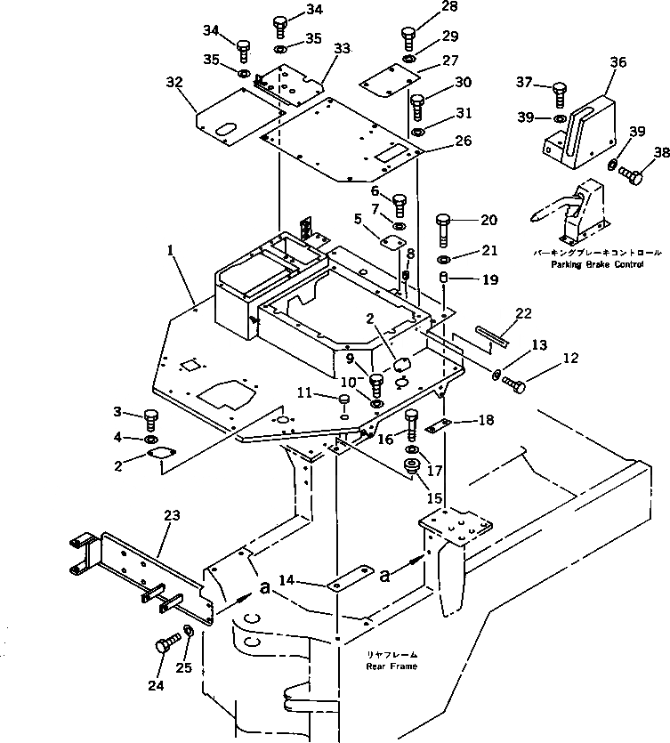
Запчасти Komatsu WA120-1 ОСНОВН. КОНСТРУКЦИЯ (С КАБИНОЙ) РАМА И ЧАСТИ КОРПУСА

Схема запчастей Komatsu WA120-1 - ОСНОВН. КОНСТРУКЦИЯ (С КАБИНОЙ) РАМА И ЧАСТИ КОРПУСА
FIT
1:1
100%

Артикул

Название

Примечание

Количество

1

416-54-13413

SUPPORT

SN: 12001-UP

1шт.

1

416-54-13412

SUPPORT

SN: 10001-11999

1шт.

2

417-54-13280

COVER

SN: 12001-UP

3шт.

2

417-54-13280

COVER

SN: 10001-11999

2шт.

3

01010-50616

BOLT

SN: 12001-UP

6шт.

3

01010-50616

BOLT

SN: 10001-11999

4шт.

4

01643-30623

WASHER

SN: 12001-UP

6шт.

4

01643-30623

WASHER

SN: 10001-11999

4шт.

5

417-54-12891

COVER

SN: 10001-UP

1шт.

6

01010-50825

BOLT

SN: 10001-UP

2шт.

7

01643-30823

WASHER

SN: 10001-UP

2шт.

8

07049-00811

PLUG

SN: 10001-UP

2шт.

9

01010-51025

BOLT

SN: 10001-UP

1шт.

10

01643-31032

WASHER

SN: 10001-UP

1шт.

11

09415-02512

CAP

SN: 10001-11999

1шт.

12

01010-31020

BOLT

SN: 10001-UP

2шт.

13

01643-31032

WASHER

SN: 10001-UP

2шт.

14

417-54-13411

PLATE

SN: 10001-UP

2шт.

15

417-54-13380

BOSS

SN: 10001-UP

4шт.

16

01010-31460

BOLT

SN: 10001-UP

4шт.

17

01643-31445

WASHER

SN: 10001-UP

4шт.

18

416-54-13160

PLATE,(FOR WA120-1M)

SN: 10001-UP

2шт.

18

416-54-13160

PLATE,(FOR WA120-1P)

SN: 10001-10134

2шт.

19

416-54-13190

SPACER,(FOR WA120-1M)

SN: 10001-UP

4шт.

19

417-62-14130

SPACER,(FOR WA120-1P)

SN: 10135-UP

4шт.

19

416-54-13190

SPACER,(FOR WA120-1P)

SN: 10001-10134

4шт.

20

01010-51250

BOLT

SN: 10001-UP

4шт.

21

01643-31232

WASHER

SN: 10001-UP

4шт.

22

417-54-13361

SEAL

SN: 10001-UP

2шт.

23

417-54-12524

SUPPORT

SN: 10001-UP

1шт.

24

01010-31235

BOLT

SN: 10001-UP

4шт.

25

01643-31232

WASHER

SN: 10001-UP

4шт.

26

417-54-12443

COVER

SN: 10001-UP

1шт.

27

417-54-12290

COVER

SN: 10001-UP

1шт.

28

01010-51020

BOLT

SN: 10001-UP

4шт.

29

01643-31032

WASHER

SN: 10001-UP

4шт.

30

01010-51230

BOLT

SN: 10001-UP

6шт.

31

01643-31232

WASHER

SN: 10001-UP

6шт.

32

417-54-12590

PLATE

SN: 10001-UP

1шт.

33

417-54-12515

PLATE

SN: 10001-UP

1шт.

34

01010-50820

BOLT

SN: 10001-UP

8шт.

35

01643-30823

WASHER

SN: 10001-UP

8шт.

36

417-54-12794

COVER

SN: 10001-UP

1шт.

37

01010-50820

BOLT

SN: 10001-UP

4шт.

38

01010-50816

BOLT

SN: 10001-UP

2шт.

39

01643-30823

WASHER

SN: 10001-UP

6шт.

40

417-54-12272

PLATE,(FOR WA120-1P)

SN: 10135-UP

2шт.

41

417-54-12241

CUSHION,(FOR WA120-1P)

SN: 10135-UP

4шт.

42

417-54-13160

CUSHION,(FOR WA120-1P)

SN: 10135-UP

4шт.

Выбрано товаров: 49