Запчасти Komatsu WA120-1 VANDALISUM ЗАЩИТА РАМА И ЧАСТИ КОРПУСА

Схема запчастей Komatsu WA120-1 - VANDALISUM ЗАЩИТА РАМА И ЧАСТИ КОРПУСА
FIT
1:1
100%

Артикул

Название

Примечание

Количество

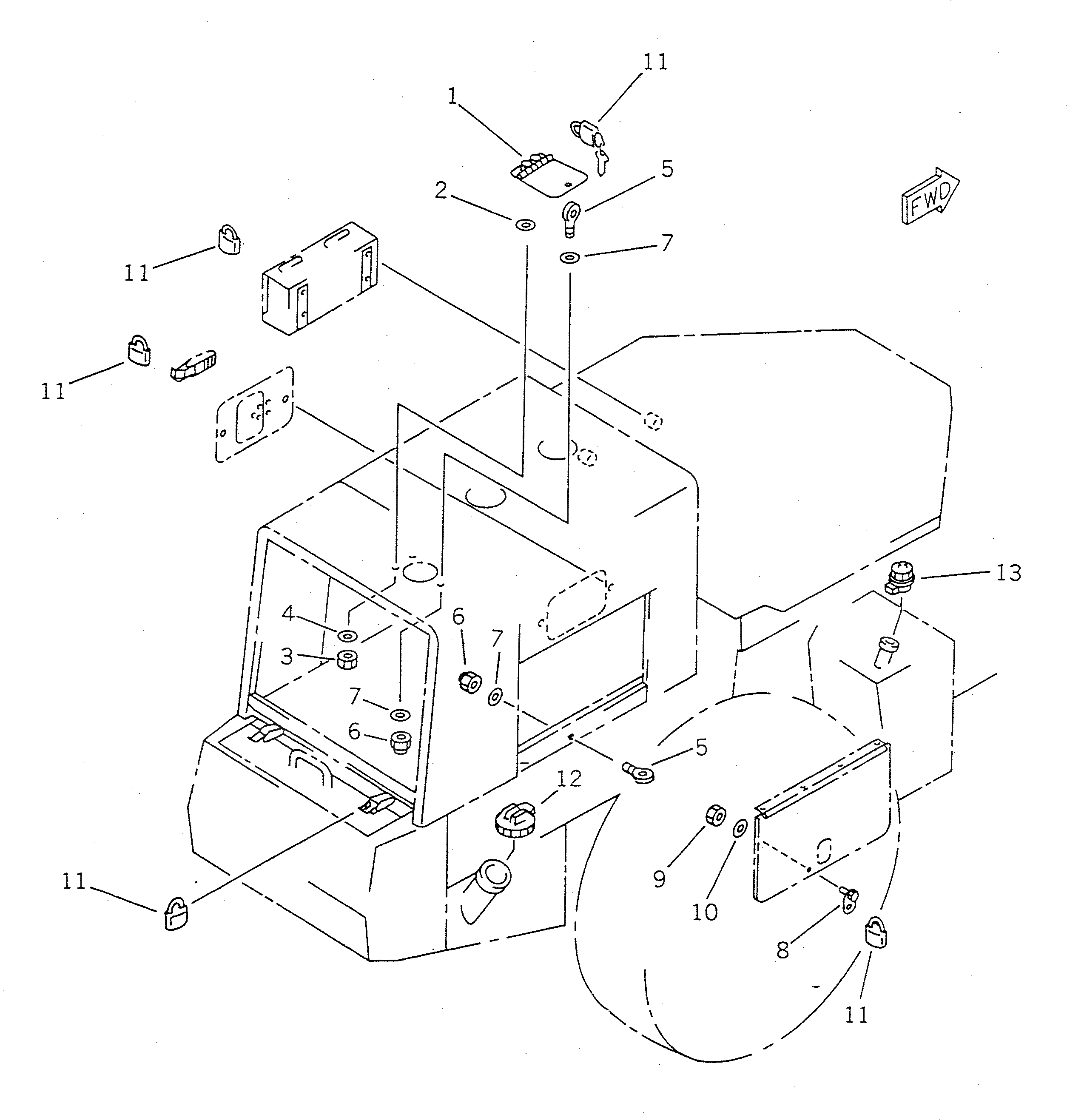
1

417-54-11410

COVER

SN: 10001-UP

1шт.

2

01640-20610

WASHER

SN: 10001-UP

2шт.

3

01580-10605

NUT

SN: 10001-UP

2шт.

4

01643-30623

WASHER

SN: 10001-UP

2шт.

5

417-54-11421

BOLT,EYE

SN: .-UP

3шт.

5

0

BOLT,EYE

SN: 10001-.

3шт.

6

426-09-11130

NUT,LOCK

SN: 10001-UP

3шт.

7

01643-30623

WASHER

SN: 10001-UP

4шт.

8

417-54-11650

PLATE

SN: 10001-UP

2шт.

9

01580-10605

NUT

SN: 10001-UP

2шт.

10

01643-30623

WASHER

SN: 10001-UP

2шт.

11

09460-00006

LOCK,(6SET)

SN: 10001-UP

1шт.

12

19M-04-11220

CAP,FUEL TANK (LOCK TYPE)

SN: 10001-19999

1шт.

13

417-60-15420

BREATHER ASS'Y,(LOCK TYPE)

SN: 10001-UP

1шт.

13

417-60-15430

CASE ASS'Y

SN: 10001-UP

1шт.

13

417-60-15330

PACKING

SN: 10001-UP

1шт.

13

417-60-15340

BOLT

SN: 10001-UP

3шт.

13

417-60-15450

BREATHER SUB ASS'Y

SN: 10001-UP

1шт.

13

417-60-15390

COVER

SN: 10001-UP

1шт.

13

417-60-15380

ELEMENT

SN: 10001-UP

1шт.

13

417-60-15370

COVER

SN: 10001-UP

1шт.

13

417-60-15360

VALVE ASS'Y

SN: 10001-UP

1шт.

13

417-60-15410

BOLT

SN: 10001-UP

1шт.

13

417-60-15350

O-RING

SN: 10001-UP

1шт.

13

09007-00425

WRENCH, 4

SN: 10001-UP

1шт.

13

417-60-15440

PLATE,CAUTION

SN: 10001-UP

1шт.

Выбрано товаров: 26