Запчасти Komatsu WA120-1 ПАНЕЛЬ ПРИБОРОВ КОМПОНЕНТЫ ДВИГАТЕЛЯ И ЭЛЕКТРИКА

Схема запчастей Komatsu WA120-1 - ПАНЕЛЬ ПРИБОРОВ КОМПОНЕНТЫ ДВИГАТЕЛЯ И ЭЛЕКТРИКА
FIT
1:1
100%

Артикул

Название

Примечание

Количество

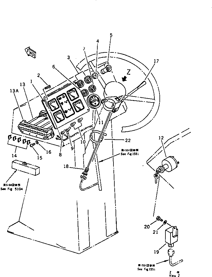
1

417-06-15112

GAUGE CLUSTER

SN: 10001-UP

1шт.

1

417-06-15330

GAUGE,WATER TEMPERATURE

SN: 10001-UP

1шт.

1

417-06-15340

GAUGE,OIL TEMPERATURE

SN: 10001-UP

1шт.

1

417-06-15350

GAUGE,FUEL LEVEL

SN: 10001-UP

1шт.

1

417-06-15360

GAUGE,VOLT

SN: 10001-UP

1шт.

1

417-06-15390

PLATE, CAUTION

SN: 10001-UP

1шт.

1

08102-02403

BULB, 3W

SN: 10001-UP

8шт.

1

417-06-15380

SOCKET

SN: 10001-UP

8шт.

1

417-06-15310

PANEL

SN: 10001-UP

1шт.

1

417-06-15320

GASKET,PANEL

SN: 10001-UP

1шт.

2

417-06-15510

SCREW

SN: 10001-UP

4шт.

3

566-06-17150

LAMP,TURN SIGNAL

SN: 10001-UP

2шт.

3

08111-02430

BULB, 3W

SN: 10001-UP

1шт.

4

600-815-3730

SIGNAL,HEATER

SN: 10001-UP

1шт.

5

08061-60010

SWITCH,LAMP

SN: 10001-UP

1шт.

6

566-06-17140

LAMP,PILOT

SN: 10001-UP

1шт.

6

08111-02430

BULB, 3W

SN: 10001-UP

1шт.

7

417-06-15221

LAMP,WORKING LAMP PILOT

SN: 10001-UP

1шт.

7

08111-02430

BULB, 3W

SN: 10001-UP

1шт.

8

417-06-11650

SWITCH,PARKING LAMP AND T/M CUT OFF

SN: 10001-UP

1шт.

9

417-06-11640

SWITCH,WORKING LAMP AND PILOT CHECK

SN: 10001-UP

1шт.

10

417-06-11630

CAP

SN: 10001-UP

2шт.

11

08687-22403

METER,SERVICE

SN: 10001-UP

1шт.

11

7815-11-1010

BULB, 1.4W

SN: 10001-UP

1шт.

12

08086-10000

SWITCH,STARTING

SN: 10001-UP

1шт.

12

08086-20000

SWITCH,(DUST AND DIFT PROTECTION)

SN: 10001-UP

1шт.

13

417-06-12345

FUSE BOX ASS'Y

SN: 10001-UP

1шт.

13A

415-06-12220

BODY

SN: 10001-UP

1шт.

14

283-06-16190

FUSE, 10A

SN: 10001-UP

12шт.

14

415-06-12330

FUSE, 15A

SN: 10001-UP

2шт.

14

22W-06-13160

FUSE, 20A

SN: 10001-UP

2шт.

15

01220-40620

SCREW

SN: 10001-UP

2шт.

16

01602-20619

WASHER,SPRING

SN: 10001-UP

2шт.

17

417-06-11260

SWITCH,TURN SIGNAL

SN: 10001-UP

1шт.

18

417-06-12560

GROMMET

SN: 10001-UP

1шт.

19

22W-06-13251

FLASHER

SN: 10001-UP

1шт.

20

01010-30610

BOLT

SN: 10001-UP

1шт.

21

01643-30623

WASHER

SN: 10001-UP

1шт.

22

08034-00823

BAND

SN: 10001-UP

1шт.

Выбрано товаров: 39