Запчасти Komatsu WA120-1 ГИДРОЦИЛИНДР ПОДЪЕМА УПРАВЛ-Е РАБОЧИМ ОБОРУДОВАНИЕМ

Схема запчастей Komatsu WA120-1 - ГИДРОЦИЛИНДР ПОДЪЕМА УПРАВЛ-Е РАБОЧИМ ОБОРУДОВАНИЕМ
FIT
1:1
100%

Артикул

Название

Примечание

Количество

|$0

707-00-11320

CYLINDER ASS'Y,L.H. (FOR WA120-1M)

SN: 10001-UP

1шт.

|$1

707-00-11321

CYLINDER ASS'Y,L.H. (FOR WA120-1A,1P)

SN: 10001-UP

1шт.

|$2

707-00-11330

CYLINDER ASS'Y,R.H. (FOR WA120-1M)

SN: 10001-UP

1шт.

|$3

707-00-11331

CYLINDER ASS'Y,R.H. (FOR WA120-1A,1P)

SN: 10001-UP

1шт.

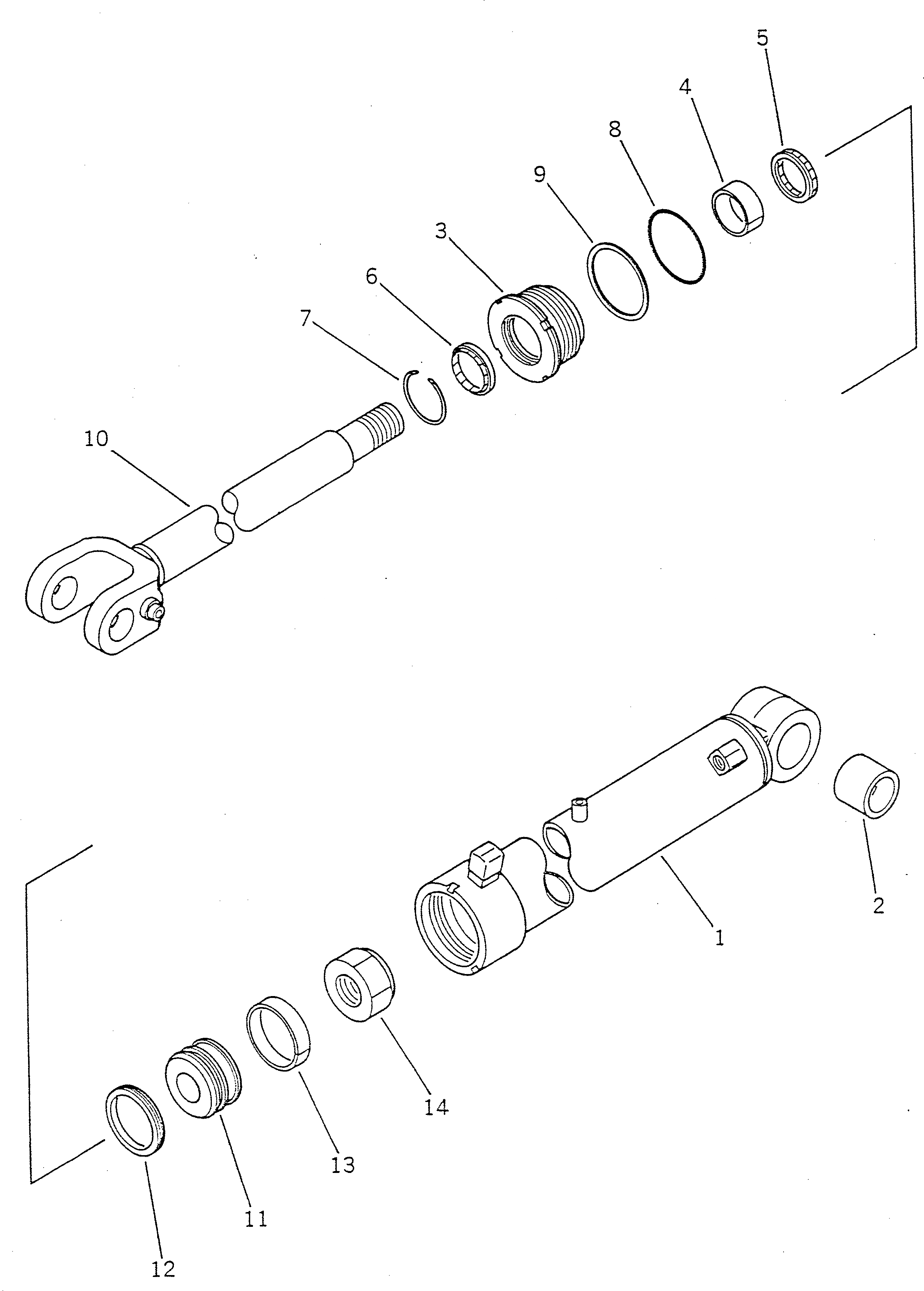
1

707-11-11230

CYLINDER,L.H. (FOR WA120-1M)

SN: 10001-UP

1шт.

1

707-11-11231

CYLINDER,L.H. (FOR WA120-1A,1P)

SN: 10001-UP

1шт.

1

707-11-11240

CYLINDER,R.H. (FOR WA120-1M)

SN: 10001-UP

1шт.

1

707-11-11241

CYLINDER,R.H. (FOR WA120-1A,1P)

SN: 10001-UP

1шт.

2

707-76-60110

BUSHING

SN: 10001-UP

1шт.

3

707-29-11150

HEAD,CYLINDER

SN: 10001-UP

1шт.

4

07177-07030

BUSHING

SN: 10001-UP

1шт.

5

707-51-70030

PACKING,ROD

SN: 10001-UP

1шт.

6

144-63-95170

SEAL,DUST

SN: 10001-UP

1шт.

7

07179-00093

RING,SNAP

SN: 10001-UP

1шт.

8

07000-12115

O-RING

SN: 10001-UP

1шт.

9

20D-63-32290

RING,BACK-UP

SN: 10001-UP

1шт.

10

707-59-70120

ROD,PISTON (FOR WA120-1M)

SN: 10001-UP

1шт.

10

707-59-70121

ROD,PISTON (FOR WA120-1A,1P)

SN: 10001-UP

1шт.

11

707-36-11030

PISTON,(FOR WA120-1M)

SN: 10001-UP

1шт.

11

707-36-11040

PISTON,(FOR WA120-1A,1P)

SN: 10001-UP

1шт.

12

707-44-11180

RING,PISTON

SN: 10001-UP

1шт.

13

07155-01125

RING,WEAR (FOR WA120-1M)

SN: 10001-UP

1шт.

13

07156-01112

RING,WEAR (FOR WA120-1A,1P)

SN: 10001-UP

1шт.

14

07165-13941

NUT,NYLON

SN: 10001-UP

1шт.

Выбрано товаров: 24