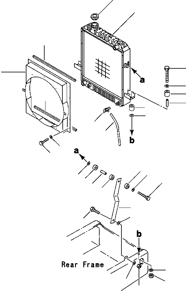
Запчасти Komatsu WA120-1LC РАДИАТОР И КРЕПЛЕНИЕ КОМПОНЕНТЫ ДВИГАТЕЛЯ & ЭЛЕКТРИКА

Схема запчастей Komatsu WA120-1LC - РАДИАТОР И КРЕПЛЕНИЕ КОМПОНЕНТЫ ДВИГАТЕЛЯ & ЭЛЕКТРИКА
2
1
4
9
3
10
11
4
12
11
10
7
8
6
5
18
17
17
16
18
20
19
15
22
21
13
22
14
23
FIT
1:1
100%

Артикул

Название

Примечание

Количество

|$0

416-03-11600

RADIATOR ASSEMBLY

1шт.

|$1

416-03-A1160

RADIATOR ASSEMBLY

1шт.

|$2

417-03-A1210

RADIATOR ASSEMBLY

1шт.

1

416-03-11210

CORE ASSEMBLY W/OIL COOLER, RADIATOR

1шт.

|$4

416-03-A1150

CORE ASSEMBLY W/OIL COOLER, RADIATOR

1шт.

2

416-03-11170

CAP, RADIATOR

1шт.

3

416-03-11610

SHROUD

1шт.

4

416-03-11131

PACKING

2шт.

5

01010-50816

BOLT, SHROUD MOUNTING

8шт.

6

01643-30823

WASHER

8шт.

7

415-03-11150

DRAIN COCK

1шт.

|$11

415-03-11160

O-RING

1шт.

8

416-03-11151

HOSE, RADIATOR DRAIN

1шт.

9

01010-51265

BOLT, MOUNT RADIATOR TO FRAME (BOTTOM)

2шт.

10

416-03-11210

WASHER

4шт.

11

416-03-11221

CUSHION, MOUNTING

4шт.

12

415-03-11210

SPACER

2шт.

13

01643-31232

WASHER

2шт.

14

01580-01210

NUT

2шт.

15

417-03-10212

BRACKET, RADIATOR MOUNTING

2шт.

16

01010-51245

BOLT, MOUNTING BRACKET TO RADIATOR (TOP)

2шт.

17

419-43-17920

WASHER

4шт.

18

416-03-11260

CUSHION, MOUNTING

4шт.

19

416-03-11250

CUSHION, MOUNTING

2шт.

20

416-03-11270

SPACER

2шт.

21

416-03-11282

BOLT, MOUNTING BRACKET TO FRAME

2шт.

22

01643-31232

WASHER

4шт.

23

01580-11210

NUT

2шт.

|$35

-1шт.

|$29

F1 - USED ON MACHINES S/N A20001 THRU A20???.

-1шт.

|$36

-1шт.

|$31

F2 - USED ON MACHINES S/N A20??? THRU A20225.

-1шт.

|$37

-1шт.

|$33

F3 - USED ON MACHINES S/N A20226 AND UP, SERVICE

-1шт.

|$34

PARTS NOT AVAILABLE AT TIME OF PRINTING.

-1шт.

Выбрано товаров: 35