Запчасти Komatsu WA120-3 КОМПОНЕНТЫ КОНДИЦИОНЕРА (/8) (КРЕПЛЕНИЕ КОНДИЦИОНЕРА)(№-) РАМА И ЧАСТИ КОРПУСА

Схема запчастей Komatsu WA120-3 - КОМПОНЕНТЫ КОНДИЦИОНЕРА (/8) (КРЕПЛЕНИЕ КОНДИЦИОНЕРА)(№-) РАМА И ЧАСТИ КОРПУСА
FIT
1:1
100%

Артикул

Название

Примечание

Количество

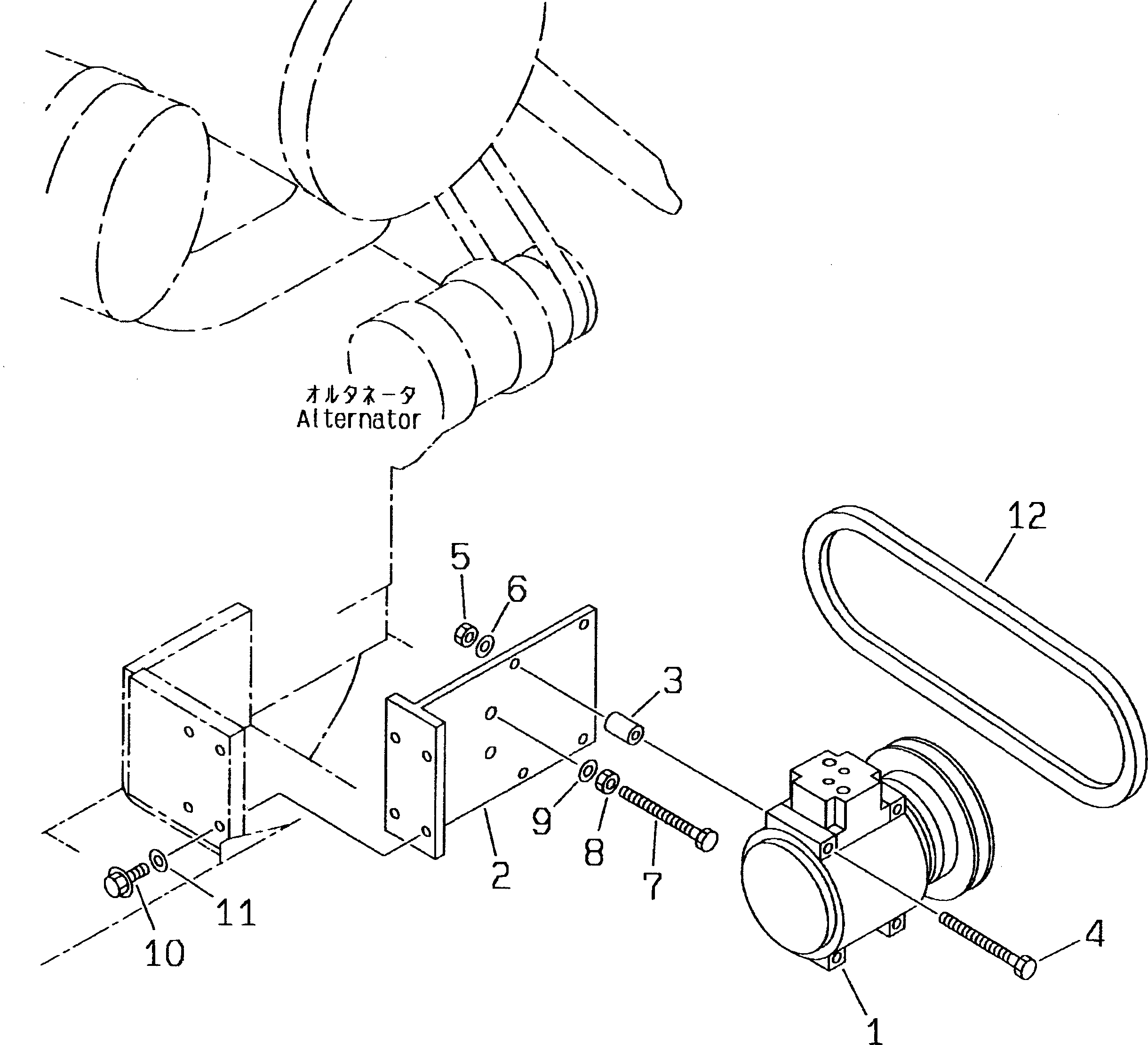
1

20Y-979-3110

AIR COMPRESSOR A.

SN: 50001-UP

1шт.

2

418-S62-2110

BRACKET

SN: 50001-UP

1шт.

3

418-S62-2120

SPACER

SN: 50001-UP

4шт.

4

6204-81-6810

BOLT

SN: 50001-UP

4шт.

5

01584-00806

NUT

SN: 50001-UP

4шт.

6

01643-30823

WASHER

SN: 50001-UP

4шт.

7

426-07-11141

BOLT

SN: 50001-UP

2шт.

8

01580-21008

NUT

SN: 50001-UP

2шт.

9

01643-31032

WASHER

SN: 50001-UP

2шт.

10

01435-01025

BOLT

SN: 50001-UP

4шт.

11

01643-31032

WASHER

SN: 50001-UP

4шт.

12

04120-21741

V-BELT

SN: 50001-UP

1шт.

Выбрано товаров: 12