Запчасти Komatsu WA120-3 ПРИОРИТЕТН. КЛАПАН ЭЛЕМЕНТЫ КРЕПЛЕНИЯ(№-) РУЛЕВ. УПРАВЛЕНИЕ И СИСТЕМА УПРАВЛЕНИЯ

Схема запчастей Komatsu WA120-3 - ПРИОРИТЕТН. КЛАПАН ЭЛЕМЕНТЫ КРЕПЛЕНИЯ(№-) РУЛЕВ. УПРАВЛЕНИЕ И СИСТЕМА УПРАВЛЕНИЯ
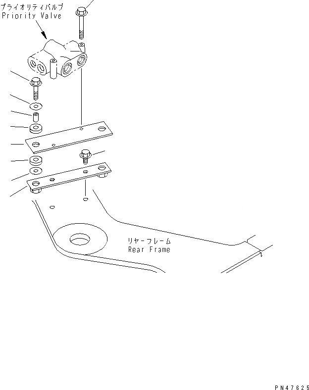
1
2
3
4
5
6
7
7
8
9
FIT
1:1
100%

Артикул

Название

Примечание

Количество

1

417-64-25340

PLATE

SN: 50001-UP

1шт.

2

417-64-25350

PLATE

SN: 50001-UP

1шт.

3

01435-01225

BOLT

SN: 50001-UP

2шт.

4

419-43-17930

CUSHION

SN: 50001-UP

2шт.

5

417-62-13620

CUSHION

SN: 50001-UP

2шт.

6

417-62-14130

SPACER

SN: 50001-UP

2шт.

7

419-43-17920

WASHER

SN: 50001-UP

4шт.

8

01435-01250

BOLT

SN: 50001-UP

2шт.

9

01435-00880

BOLT

SN: 50001-UP

2шт.

Выбрано товаров: 9