Качественные детали и логистика
Оригинальные и аналоговые запчасти с доставкой по России, Казахстану и Беларуси
©2022 PartSell ООО "Система" ИНН 2463123282 ОГРН 1212400004838
Центральный офис: г. Красноярск, Академика Киренского, д.87, пом.4
Телефон: 8 (800) 777-65-74 Email: zakaz@partsell.ru
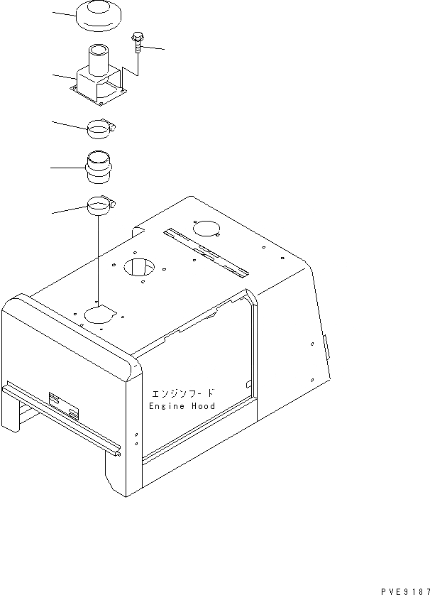
КАПОТ (УДЛИНН. ВПУСК ВОЗДУХА)
№
Артикул
Название
Примечание
Количество
1
600-181-8160
CAP
SN: 53001-UP
1шт.
2
416-54-21570
BRACKET
3
01435-01020
BOLT
4шт.
4
600-181-0640
HOSE
5
07281-01159
CLAMP
2шт.
Выбрано товаров: 0