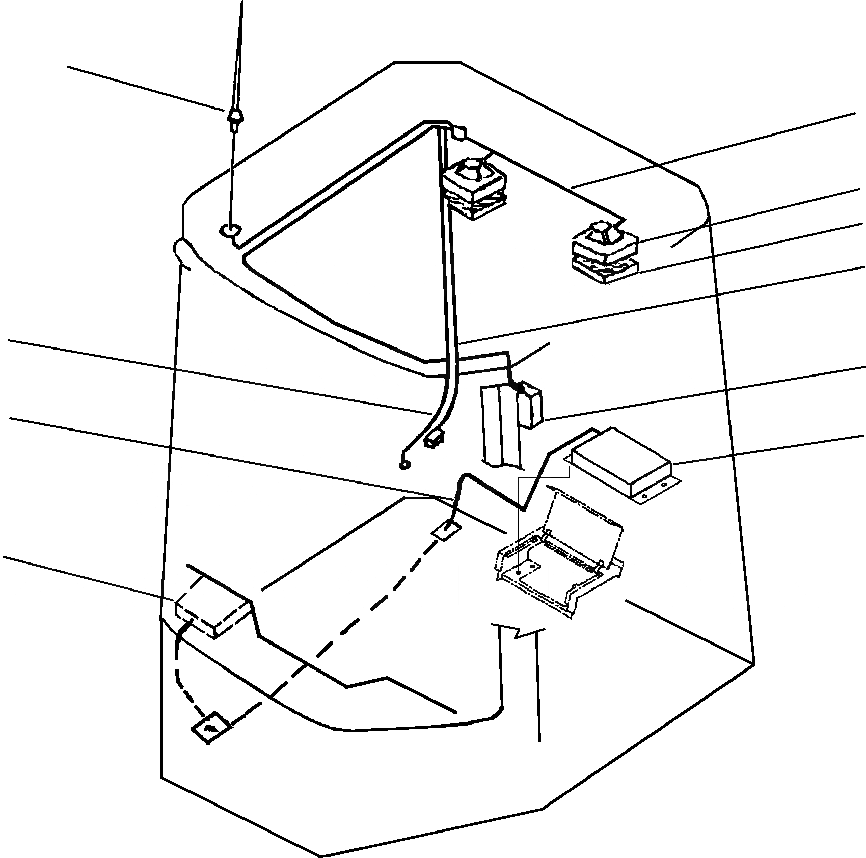
Запчасти Komatsu WA120-3L FIG NO. K8-A AM/FM РАДИО С CASSETTE КАБИНА ОПЕРАТОРА И СИСТЕМА УПРАВЛЕНИЯ

Схема запчастей Komatsu WA120-3L - FIG NO. K8-A AM/FM РАДИО С CASSETTE КАБИНА ОПЕРАТОРА И СИСТЕМА УПРАВЛЕНИЯ
3
9
5
6
9
4
1
8
2
7
FIT
1:1
100%

Артикул

Название

Примечание

Количество

1

417-967-A030

CRADLE, RADIO MODULE

1шт.

2

417-967-A010

MODULE, RADIO

1шт.

|$2

417-967-A090

SCREW

4шт.

|$3

01643-30623

WASHER

4шт.

3

417-967-A180

ANTENNA

1шт.

4

417-967-A190

ANTENNA EXTENSION

1шт.

|$6

417-967-A150

PLATE, MOUNTING

1шт.

5

417-967-A160

SPEAKER

2шт.

6

417-967-A170

GRILLE

2шт.

7

417-967-A040

CASSETTE DECK

1шт.

8

417-967-A140

CABLE

1шт.

9

417-967-A110

HARNESS, SPEAKER

1шт.

|$12

417-967-A080

KIT, HARDWARE

1шт.

|$13

08031-10206

TERMINAL

1шт.

|$14

08021-00400

CONNECTOR

1шт.

|$15

419-06-A1260

CONNECTOR

1шт.

|$16

417-S58-2110

BRACKET

1шт.

Выбрано товаров: 0