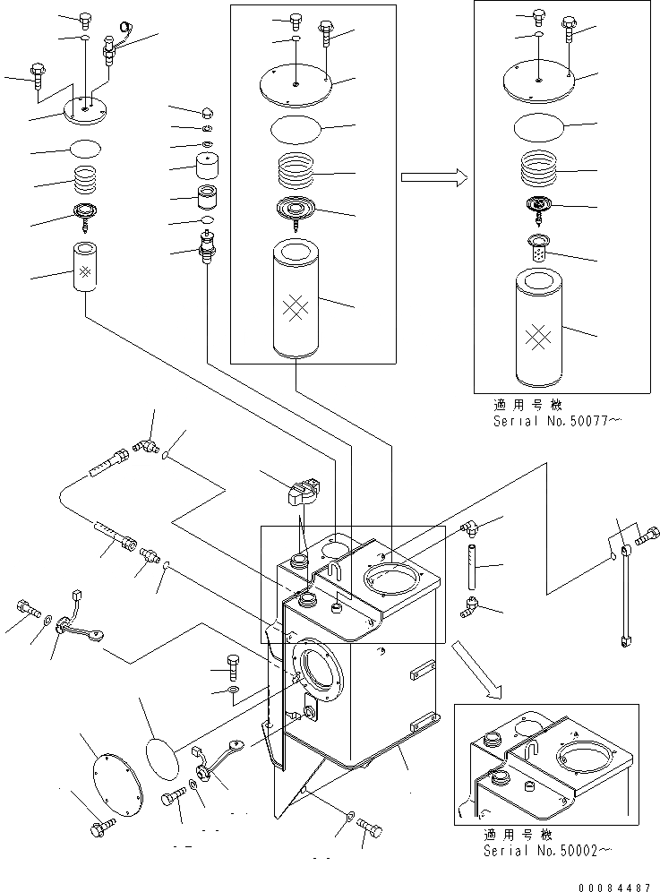
Запчасти Komatsu WA1200-3 ТОРМОЗНАЯ ГИДРОЛИНИЯ (ТОРМОЗ. МАСЛ. БАК И RERATED ЧАСТИ)(№-87) КАБИНА ОПЕРАТОРА И СИСТЕМА УПРАВЛЕНИЯ

Схема запчастей Komatsu WA1200-3 - ТОРМОЗНАЯ ГИДРОЛИНИЯ (ТОРМОЗ. МАСЛ. БАК И RERATED ЧАСТИ)(№-87) КАБИНА ОПЕРАТОРА И СИСТЕМА УПРАВЛЕНИЯ
1
2
3
4
5
6
7
8
9
10
11
12
12A
13
13
14
14
14A
15
15
16
16
17
17
18
18
19
19
20
20
21
22
23
24
25
26
26A
26B
26C
26D
26E
26F
27
28
29
29
30
31
31
32
32
33
33
34
34
35
35
FIT
1:1
100%

Артикул

Название

Примечание

Количество

1

42C-43-17164

TANK,BRAKE OIL

SN: 50013-50087

1шт.

1

42C-43-17163

TANK,BRAKE OIL

SN: 50001-50012

1шт.

1

0

TANK,BRAKE OIL

SN: (50001-50001)

1шт.

2

428-04-11120

COVER

SN: 50001-@

2шт.

3

07000-15200

O-RING

SN: 50001-50087

2шт.

4

01435-01025

BOLT

SN: 50001-@

12шт.

5

07063-01035

ELEMENT

SN: 50001-@

1шт.

6

417-60-15130

VALVE ASS'Y

SN: 50001-@

1шт.

7

125-62-21170

SPRING

SN: 50001-@

1шт.

8

42C-43-17172

COVER

SN: 50001-@

1шт.

9

07000-12115

O-RING

SN: 50001-50087

1шт.

10

01435-01230

BOLT

SN: 50001-@

3шт.

11

424-60-15150

PLUG

SN: 50001-@

1шт.

12

07000-12010

O-RING

SN: 50001-50087

1шт.

12A

195-49-36120

NIPPLE

SN: 50080-@

1шт.

12A

799-101-5160

NIPPLE

SN: 50001-50087

1шт.

13

208-60-61180

ELEMENT

SN: 50001-@

1шт.

14

42C-60-15610

VALVE ASS'Y

SN: 50077-@

1шт.

14

419-60-25410

VALVE ASS'Y

SN: 50001-50076

1шт.

14A

07069-25400

STRAINER

SN: 50077-@

1шт.

15

195-60-16330

SPRING

SN: 50001-@

1шт.

16

425-60-25120

COVER

SN: 50001-@

1шт.

17

07000-15210

O-RING

SN: 50001-50087

1шт.

18

01435-01230

BOLT

SN: 50001-@

3шт.

19

424-60-15150

PLUG

SN: 50001-@

1шт.

20

07000-12010

O-RING

SN: 50001-50087

1шт.

21

07235-10210

ELBOW

SN: 50001-@

1шт.

22

07002-21423

O-RING

SN: 50001-@

1шт.

23

07102-20203

HOSE

SN: 50001-@

1шт.

24

203-62-62810

NIPPLE

SN: 50001-@

1шт.

25

07002-21423

O-RING

SN: 50001-@

1шт.

|$39

566-60-15361

BREATHER

SN: 50001-@

1шт.

26

419-60-15240

BODY

SN: 50001-@

1шт.

26A

419-60-15250

ELEMENT

SN: 50001-@

1шт.

26B

419-60-15260

COVER

SN: 50001-@

1шт.

26C

419-60-15270

O-RING

SN: 50001-@

1шт.

26D

419-60-15280

NUT

SN: 50001-@

1шт.

26E

419-60-15290

WASHER

SN: 50001-@

1шт.

26F

419-60-15310

WASHER

SN: 50001-@

1шт.

27

07092-01000

CAP

SN: 50001-@

2шт.

28

427-16-11610

GAUGE,SIGHT

SN: 50001-50087

1шт.

29

208-04-19130

ELBOW

SN: 50001-50087

2шт.

30

42C-43-17390

TUBE

SN: 50002-50087

1шт.

30

569-03-61940

TUBE

SN: 50001-50001

1шт.

31

7861-93-4210

SENSOR,OIL LEVEL

SN: 50001-@

2шт.

32

01010-80612

BOLT

SN: 50001-@

6шт.

33

01640-20610

WASHER

SN: .-@

6шт.

33

01641-20608

WASHER

SN: 50001-.

6шт.

34

01010-62450

BOLT

SN: 50001-@

6шт.

35

01643-32460

WASHER

SN: 50001-@

6шт.

Выбрано товаров: 50