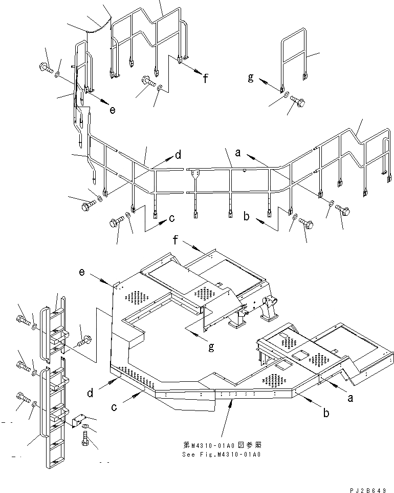
Запчасти Komatsu WA1200-3 КРЫЛО И ЛЕСТНИЦА (W/RH ACCESS) (HANDRAIL)(№-) ЧАСТИ КОРПУСА

Схема запчастей Komatsu WA1200-3 - КРЫЛО И ЛЕСТНИЦА (W/RH ACCESS) (HANDRAIL)(№-) ЧАСТИ КОРПУСА
1
2
3
4
5
6
7
8
9
10
11
12
13
14
15
16
17
18
19
20
21
22
23
23
24
25
26
27
28
29
30
30
31
32
33
34
FIT
1:1
100%

Артикул

Название

Примечание

Количество

1

42C-54-14633

HANDRAIL,L.H.

SN: 50001-@

1шт.

2

01435-01230

BOLT

SN: 50001-@

8шт.

3

01643-31232

WASHER

SN: 50001-@

8шт.

4

42C-54-14160

HANDRAIL,R.H.

SN: 50001-@

1шт.

5

01435-01230

BOLT

SN: 50001-@

12шт.

6

01643-31232

WASHER

SN: 50001-@

12шт.

7

42C-54-14652

HANDRAIL,L.H.

SN: 50001-50012

1шт.

8

01435-01230

BOLT

SN: 50001-@

8шт.

9

01643-31232

WASHER

SN: 50001-50012

8шт.

10

42C-54-14662

HANDRAIL,R.H.

SN: 50001-50012

1шт.

11

01435-01230

BOLT

SN: 50001-50012

10шт.

12

01643-31232

WASHER

SN: 50001-50012

10шт.

13

42C-54-14672

HANDRAIL,L.H.

SN: 50001-@

1шт.

14

01435-01230

BOLT

SN: 50001-@

4шт.

15

01643-31232

WASHER

SN: 50001-@

4шт.

16

42C-54-14682

HANDRAIL,R.H.

SN: 50001-@

1шт.

17

01435-01230

BOLT

SN: 50001-@

4шт.

18

01643-31232

WASHER

SN: 50001-@

4шт.

19

42C-54-14791

HANDRAIL

SN: 50001-@

2шт.

20

01435-01230

BOLT

SN: 50001-@

8шт.

21

01643-31232

WASHER

SN: 50001-@

8шт.

22

09245-14860

CHAIN

SN: 50001-@

2шт.

22

0

CHAIN

SN: (50001-50002)

2шт.

23

428-54-22170

JOINT

SN: 50001-@

4шт.

24

42C-54-14910

LADDER,UPPER

SN: 50001-@

1шт.

25

01010-81635

BOLT

SN: 50001-@

2шт.

26

01643-31645

WASHER

SN: 50001-@

2шт.

27

42C-54-14920

LADDER,LOWER

SN: 50001-@

1шт.

28

01010-81635

BOLT

SN: 50001-@

2шт.

29

01010-81640

BOLT

SN: 50001-@

2шт.

30

01643-31645

WASHER

SN: 50001-@

4шт.

31

01435-01230

BOLT

SN: 50001-@

4шт.

32

42C-54-14930

BRACKET

SN: 50001-@

1шт.

33

01010-81635

BOLT

SN: 50001-@

4шт.

34

01643-31645

WASHER

SN: 50001-@

4шт.

Выбрано товаров: 35