Запчасти Komatsu WA1200-6 БАМПЕР БЛОК, КРЫШКА(№8-) БАМПЕР БЛОК, EC REGULATION ARRANGEMENT, БЕЗ ОГНЕТУШИТЕЛЬ СТОЙКА

Схема запчастей Komatsu WA1200-6 - БАМПЕР БЛОК, КРЫШКА(№8-) БАМПЕР БЛОК, EC REGULATION ARRANGEMENT, БЕЗ ОГНЕТУШИТЕЛЬ СТОЙКА
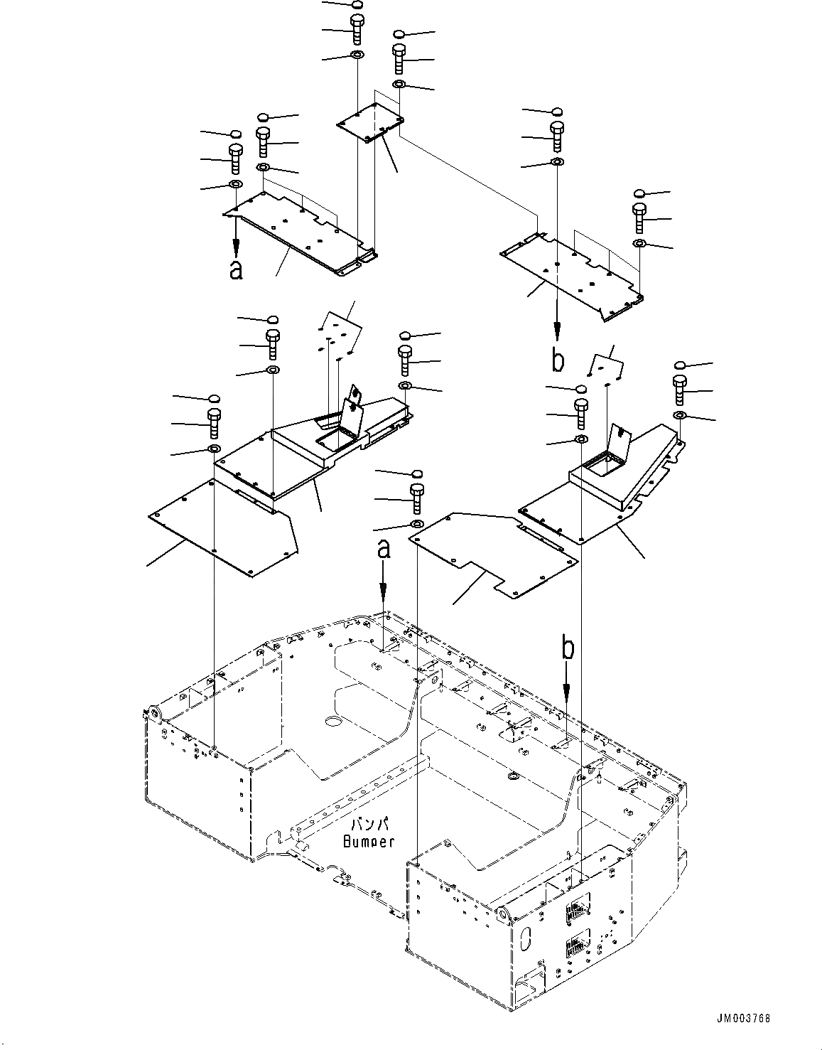
1
2
3
4
5
23
29
35
7
6
8
14
13
15
12
11
15
19
18
22
22
20
21
25
24
28
27
26
28
31
34
30
32
34
33
38
40
39
36
40
37
9
10
16
17
FIT
1:1
100%

Артикул

Название

Примечание

Количество

1

42C-Z89-5352

Cover, L.H.

SN: 60003-60014

1шт.

2

01010-81230

Bolt

SN: 60003-60014

6шт.

3

01643-31232

Washer

SN: 60003-60014

6шт.

4

09415-02512

Cap

SN: 60003-60014

6шт.

5

42C-Z89-5362

Cover, R.H.

SN: 60003-60014

1шт.

6

01010-81230

Bolt

SN: 60003-60014

6шт.

7

01643-31232

Washer

SN: 60003-60014

6шт.

8

09415-02512

Cap

SN: 60003-60014

6шт.

9

42C-Z89-5373

Cover,L.H.

SN: 60008-60014

1шт.

|$9

427-54-32330

Hinge

SN: 60008-60014

1шт.

10

421-09-21420

Sheet

SN: 60003-60014

4шт.

11

01010-81220

Bolt

SN: 60003-60014

2шт.

12

01643-31232

Washer

SN: 60003-60014

2шт.

13

01010-81230

Bolt

SN: 60003-60014

9шт.

14

01643-31232

Washer

SN: 60003-60014

9шт.

15

09415-02512

Cap

SN: 60003-60014

11шт.

16

42C-Z89-5382

Cover,R.H.

SN: 60008-60014

1шт.

|$17

427-54-32320

Hinge

SN: 60008-60014

1шт.

|$18

427-54-32330

Hinge

SN: 60008-60014

1шт.

17

421-09-21420

Sheet

SN: 60003-60014

8шт.

18

01010-81220

Bolt

SN: 60003-60014

2шт.

19

01643-31232

Washer

SN: 60003-60014

2шт.

20

01010-81230

Bolt

SN: 60003-60014

9шт.

21

01643-31232

Washer

SN: 60003-60014

9шт.

22

09415-02512

Cap

SN: 60003-60014

11шт.

23

42C-Z89-5391

Cover

SN: 60003-60014

1шт.

24

01010-81220

Bolt

SN: 60003-60014

3шт.

25

01643-31232

Washer

SN: 60003-60014

3шт.

26

01010-81230

Bolt

SN: 60003-60014

6шт.

27

01643-31232

Washer

SN: 60003-60014

6шт.

28

09415-02512

Cap

SN: 60003-60014

9шт.

29

42C-Z89-5411

Cover

SN: 60003-60014

1шт.

30

01010-81220

Bolt

SN: 60003-60014

3шт.

31

01643-31232

Washer

SN: 60003-60014

3шт.

32

01010-81230

Bolt

SN: 60003-60014

6шт.

33

01643-31232

Washer

SN: 60003-60014

6шт.

34

09415-02512

Cap

SN: 60003-60014

9шт.

35

42C-Z89-5421

Cover

SN: 60003-60014

1шт.

36

01010-81220

Bolt

SN: 60003-60014

2шт.

37

01643-31232

Washer

SN: 60003-60014

2шт.

38

01010-81230

Bolt

SN: 60003-60014

4шт.

39

01643-31232

Washer

SN: 60003-60014

4шт.

40

09415-02512

Cap

SN: 60003-60014

6шт.

Выбрано товаров: 43