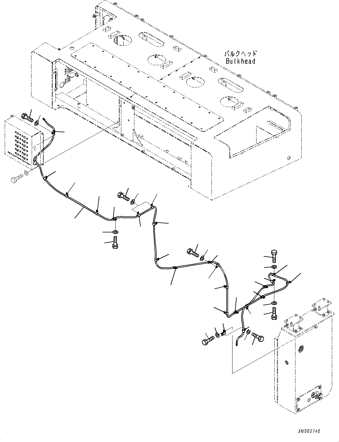
Запчасти Komatsu WA1200-6 ЗАДН. ЭЛЕКТРИЧ. ПРОВОДКА, POWER ЛЕСТНИЦА, НАСОС (№-) ЗАДН. ЭЛЕКТРИЧ. ПРОВОДКА

Схема запчастей Komatsu WA1200-6 - ЗАДН. ЭЛЕКТРИЧ. ПРОВОДКА, POWER ЛЕСТНИЦА, НАСОС (№-) ЗАДН. ЭЛЕКТРИЧ. ПРОВОДКА
6
7
5
5
5
5
5
5
5
5
5
5
5
5
5
5
5
5
5
5
5
5
5
5
2
3
4
6
7
6
7
7
6
7
6
1
7
6
6
7
FIT
1:1
100%

Артикул

Название

Примечание

Количество

1

42C-Z89-7861

Wiring Harness

SN: 60004-UP

1шт.

2

425-43-38190

Plate

SN: 60004-UP

1шт.

3

01010-81016

Bolt

SN: 60004-UP

1шт.

4

01643-31032

Washer

SN: 60004-UP

1шт.

5

600-051-2100

Clip

SN: 60004-UP

22шт.

6

01010-81016

Bolt

SN: 60004-UP

8шт.

7

01643-31032

Washer

SN: 60004-UP

8шт.

Выбрано товаров: 7