Запчасти Komatsu WA1200-6 КАБИНА, ЗАДН. ДВОРНИКИ (№-) КАБИНА

Схема запчастей Komatsu WA1200-6 - КАБИНА, ЗАДН. ДВОРНИКИ (№-) КАБИНА
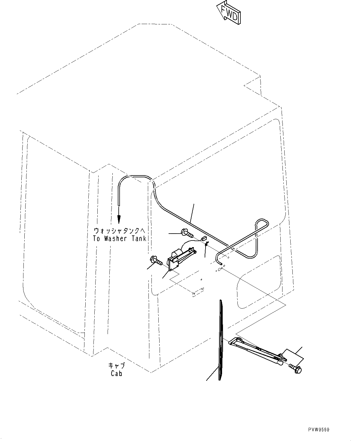
1
2
4
5
6
7
3
FIT
1:1
100%

Артикул

Название

Примечание

Количество

|$0

42C-56-32050

Cab Assembly

SN: 60004-UP

1шт.

1

42C-56-12320

Wiper Motor Assembly

SN: 60004-UP

1шт.

2

01435-00616

Bolt

SN: 60004-UP

4шт.

3

42C-56-11580

Arm Assembly, Wiper

SN: 60004-UP

1шт.

4

42C-56-11590

Wiper Blade

SN: 60004-UP

1шт.

5

08053-01510

Clip

SN: 60004-UP

1шт.

6

01435-01016

Bolt

SN: 60004-UP

1шт.

7

421-54-15440

Hose

SN: 60004-UP

1шт.

Выбрано товаров: 8