Запчасти Komatsu WA120L-3 УПРАВЛЕНИЕ ПОГРУЗКОЙ (РЫЧАГ БЛОКИРОВКИ)(№-) OPERATIORS ОБСТАНОВКА И СИСТЕМА УПРАВЛЕНИЯ

Схема запчастей Komatsu WA120L-3 - УПРАВЛЕНИЕ ПОГРУЗКОЙ (РЫЧАГ БЛОКИРОВКИ)(№-) OPERATIORS ОБСТАНОВКА И СИСТЕМА УПРАВЛЕНИЯ
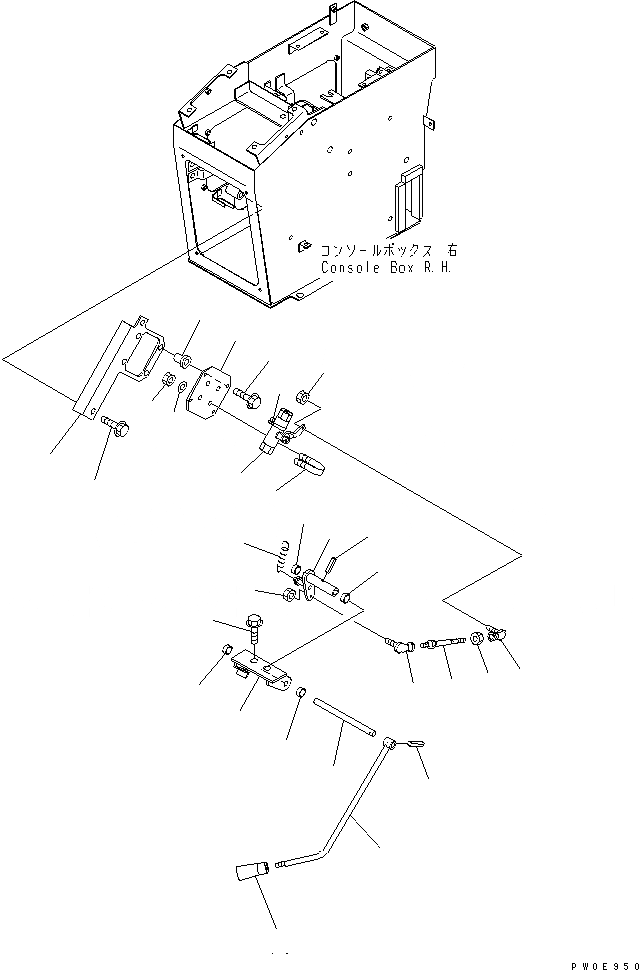
1
2
3
4
5
6
7
7
8
9
10
11
12
13
14
15
16
17
18
19
20
20
20
20
21
21
22
23
24
FIT
1:1
100%

Артикул

Название

Примечание

Количество

1

417-43-28330

PLATE

SN: 54104-UP

1шт.

2

01435-01020

BOLT

SN: 54104-UP

2шт.

3

418-43-28141

PLATE

SN: 54104-UP

1шт.

4

01435-00625

BOLT

SN: 54104-UP

4шт.

5

421-54-22770

NUT

SN: 54104-UP

4шт.

6

20Y-62-15651

VALVE

SN: 54104-UP

1шт.

7

07283-23442

CLIP

SN: 54104-UP

2шт.

8

01597-01009

NUT

SN: 54104-UP

4шт.

9

01643-31032

WASHER

SN: 54104-UP

4шт.

10

418-43-28150

ROD

SN: 54104-UP

1шт.

11

04256-40616

JOINT

SN: 54104-UP

1шт.

12

04256-50616

JOINT

SN: 54104-UP

1шт.

13

01508-20603

NUT

SN: 54104-UP

1шт.

14

01580-10605

NUT

SN: 54104-UP

1шт.

15

426-09-11130

NUT

SN: 54104-UP

2шт.

16

418-43-28160

LEVER

SN: 54104-UP

1шт.

17

418-43-28190

SHAFT

SN: 54104-UP

1шт.

18

418-43-28180

LEVER

SN: 54104-UP

1шт.

19

09305-00800

KNOB

SN: 54104-UP

1шт.

20

421-09-21220

BUSHING

SN: 54104-UP

4шт.

21

04025-00520

PIN,SPRING

SN: 54104-UP

2шт.

22

418-43-28170

BRACKET

SN: 54104-UP

1шт.

23

01435-01220

BOLT

SN: 54104-UP

2шт.

24

203-43-21370

SPRING

SN: 54104-UP

1шт.

Выбрано товаров: 24