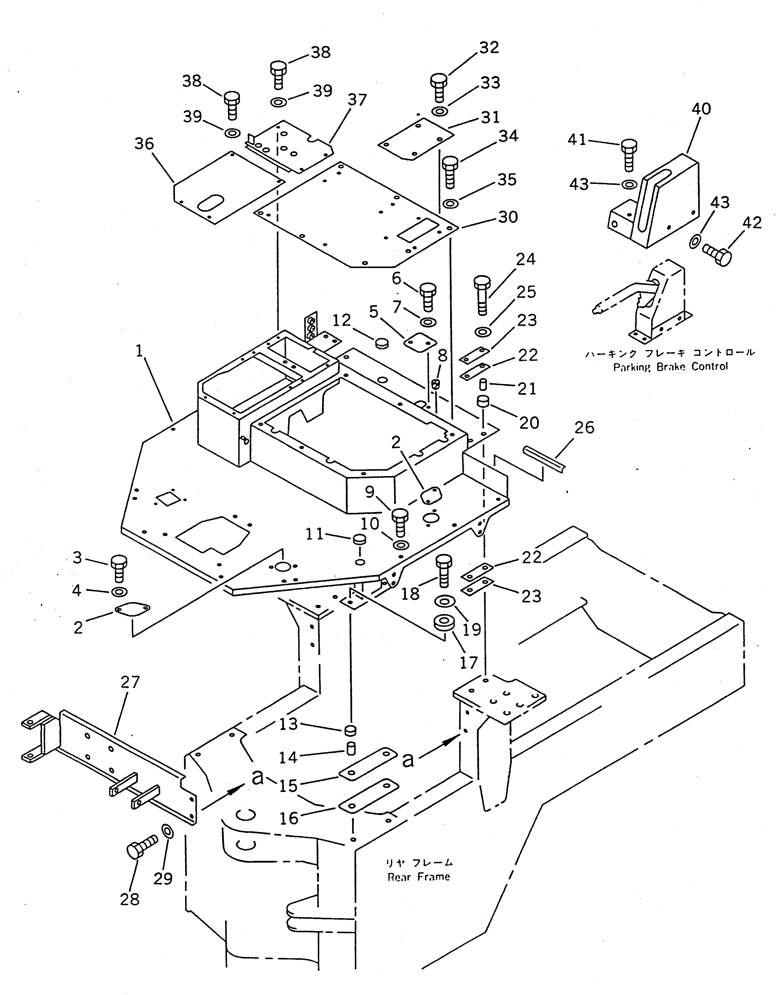
Запчасти Komatsu WA150-1 ОСНОВН. КОНСТРУКЦИЯ (С КАБИНОЙ)(№-) РАМА И ЧАСТИ КОРПУСА

Схема запчастей Komatsu WA150-1 - ОСНОВН. КОНСТРУКЦИЯ (С КАБИНОЙ)(№-) РАМА И ЧАСТИ КОРПУСА
FIT
1:1
100%

Артикул

Название

Примечание

Количество

1

416-54-13412

SUPPORT,FLOOR

SN: 20001-UP

1шт.

2

417-54-13280

COVER

SN: 20001-UP

2шт.

3

01010-50616

BOLT

SN: 20001-UP

4шт.

4

01643-30623

WASHER

SN: 20001-UP

4шт.

5

417-54-12891

COVER

SN: 20001-UP

1шт.

6

01010-50825

BOLT

SN: 20001-UP

2шт.

7

01643-30823

WASHER

SN: 20001-UP

2шт.

8

07049-00811

PLUG

SN: 20001-UP

2шт.

9

01010-51025

BOLT

SN: 20001-UP

1шт.

10

01643-31032

WASHER

SN: 20001-UP

1шт.

11

09415-02512

CAP

SN: 20001-UP

1шт.

12

09415-03614

CAP

SN: 20001-UP

1шт.

13

417-54-13450

CUSHION

SN: 10001-UP

4шт.

14

417-54-13460

SPACER

SN: 10001-UP

4шт.

15

417-54-13440

CUSHION

SN: 10001-UP

2шт.

16

417-54-13420

PLATE

SN: 10001-UP

2шт.

17

417-54-13430

CUSHION

SN: 10001-UP

4шт.

18

01010-51465

BOLT

SN: 10001-UP

4шт.

19

417-54-13390

PLATE

SN: 10001-UP

4шт.

20

417-64-13160

CUSHION

SN: 20001-UP

4шт.

21

417-54-13470

SPACER

SN: 20001-UP

4шт.

22

417-54-12241

CUSHION

SN: 20001-UP

4шт.

23

417-54-12271

PLATE

SN: 20001-UP

4шт.

24

01010-51250

BOLT

SN: 20001-UP

4шт.

25

01643-31232

WASHER

SN: 20001-UP

4шт.

26

417-54-13361

SEAL

SN: 20001-UP

2шт.

27

417-54-12524

SUPPORT

SN: 20001-UP

1шт.

28

01010-31235

BOLT

SN: 20001-UP

4шт.

29

01643-31232

WASHER

SN: 20001-UP

4шт.

30

417-54-12443

COVER

SN: 20001-UP

1шт.

31

417-54-12290

COVER

SN: .-UP

1шт.

32

01010-51020

BOLT

SN: .-UP

4шт.

33

01643-31032

WASHER

SN: .-UP

4шт.

34

01010-51230

BOLT

SN: 20001-UP

6шт.

35

01643-31232

WASHER

SN: 20001-UP

6шт.

36

417-54-12592

PLATE

SN: 20001-UP

1шт.

37

417-54-12515

PLATE

SN: 20001-UP

1шт.

38

01010-50820

BOLT

SN: 20001-UP

8шт.

39

01643-30823

WASHER

SN: 20001-UP

8шт.

40

417-54-12792

COVER

SN: 20001-UP

1шт.

41

01010-50820

BOLT

SN: 20001-UP

4шт.

42

01010-50816

BOLT

SN: 20001-UP

2шт.

43

01643-30823

WASHER

SN: 20001-UP

6шт.

Выбрано товаров: 43