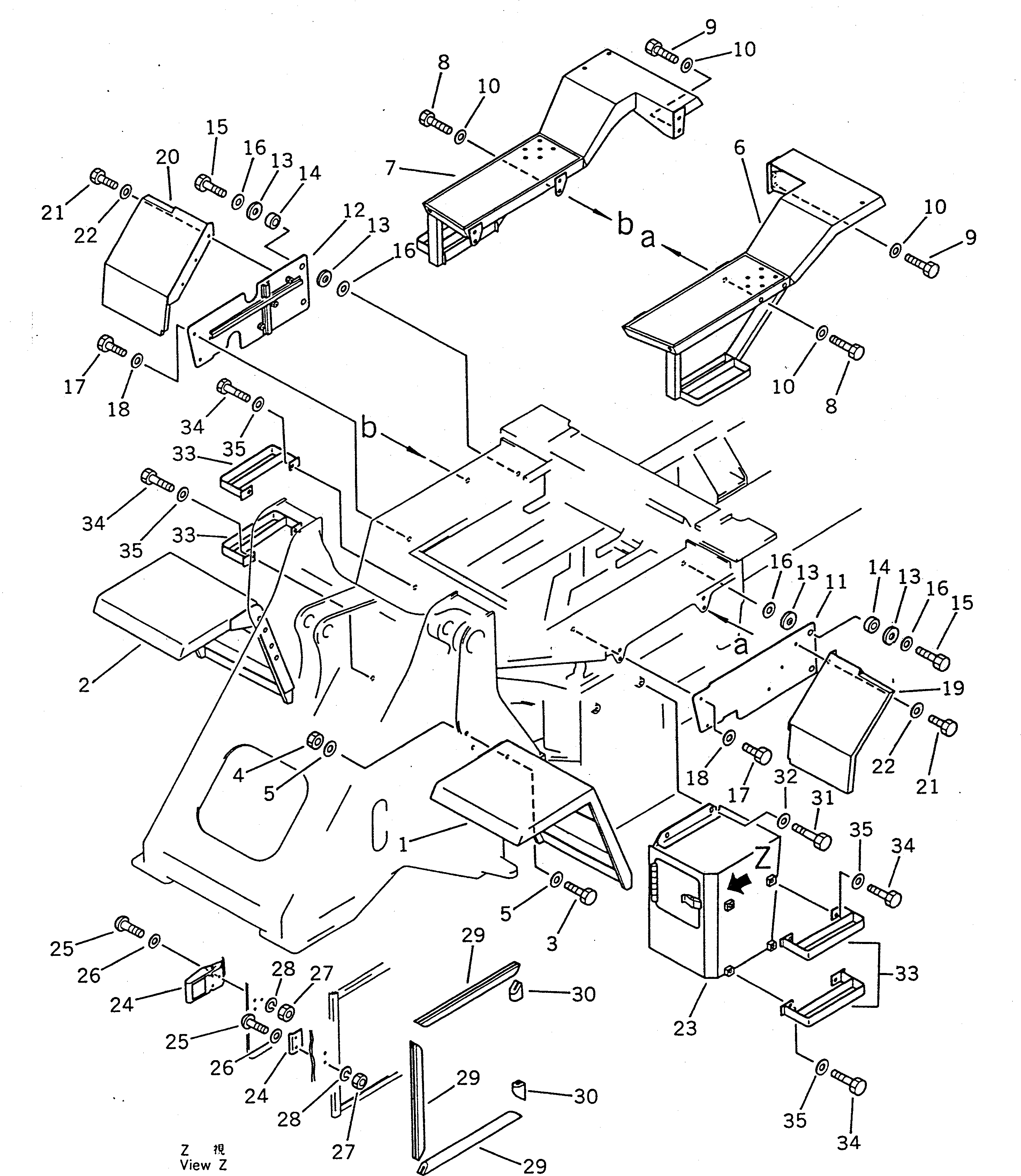
Запчасти Komatsu WA150-1 КРЫЛО И ЛЕСТНИЦА (С КАБИНОЙ)(№-9999) РАМА И ЧАСТИ КОРПУСА

Схема запчастей Komatsu WA150-1 - КРЫЛО И ЛЕСТНИЦА (С КАБИНОЙ)(№-9999) РАМА И ЧАСТИ КОРПУСА
FIT
1:1
100%

Артикул

Название

Примечание

Количество

1

417-54-11522

FENDER,FRONT, L.H.

SN: 10001-19999

1шт.

2

417-54-11512

FENDER,FRONT, R.H.

SN: 10001-19999

1шт.

3

01010-51235

BOLT

SN: 10001-@

8шт.

4

01580-21210

NUT

SN: 10001-@

8шт.

5

01643-31232

WASHER

SN: 10001-@

16шт.

6

417-54-11541

FENDER,REAR, L.H.

SN: 10001-19999

1шт.

7

417-54-11531

FENDER,REAR, R.H.

SN: 10001-19999

1шт.

8

01010-51240

BOLT

SN: 10001-19999

8шт.

9

01010-51225

BOLT

SN: 10001-19999

4шт.

10

01643-31232

WASHER

SN: 10001-19999

12шт.

11

417-54-14740

COVER,L.H.

SN: 10001-19999

1шт.

12

417-54-14750

COVER,R.H.

SN: 10001-19999

1шт.

13

417-54-14710

CUSHION

SN: 10001-@

8шт.

14

417-54-14730

SPACER

SN: 10001-@

4шт.

15

01010-51235

BOLT

SN: 10001-@

4шт.

16

417-54-14720

WASHER

SN: 10001-@

8шт.

17

01010-51225

BOLT

SN: 10001-@

4шт.

18

01643-31232

WASHER

SN: 10001-@

4шт.

19

417-54-14110

COVER,L.H.

SN: 10001-19999

1шт.

20

417-54-14120

COVER,R.H.

SN: 10001-19999

1шт.

21

01010-51225

BOLT

SN: 10001-19999

6шт.

22

01643-31232

WASHER

SN: 10001-19999

6шт.

23

417-54-12211

BOX

SN: 10001-19999

1шт.

24

421-09-12320

HOLDER

SN: 10001-19999

1шт.

25

01220-40410

SCREW

SN: 10001-19999

5шт.

26

01641-20405

WASHER

SN: 10001-19999

5шт.

27

01580-10403

NUT

SN: 10001-19999

5шт.

28

01601-20410

WASHER,SPRING

SN: 10001-19999

5шт.

29

417-54-12950

SHEET

SN: 10001-19999

3шт.

30

417-54-12960

SHEET

SN: 10001-19999

2шт.

31

01010-51230

BOLT

SN: 10001-19999

2шт.

32

01643-31232

WASHER

SN: 10001-19999

2шт.

33

417-54-12172

LADDER

SN: 10001-19999

4шт.

34

01010-51230

BOLT

SN: 10001-19999

8шт.

35

01643-31232

WASHER

SN: 10001-19999

8шт.

Выбрано товаров: 35