Запчасти Komatsu WA150-1 АККУМУЛЯТОР И КОРПУС АККУМУЛЯТОРА(№-9999) КОМПОНЕНТЫ ДВИГАТЕЛЯ И ЭЛЕКТРИКА

Схема запчастей Komatsu WA150-1 - АККУМУЛЯТОР И КОРПУС АККУМУЛЯТОРА(№-9999) КОМПОНЕНТЫ ДВИГАТЕЛЯ И ЭЛЕКТРИКА
FIT
1:1
100%

Артикул

Название

Примечание

Количество

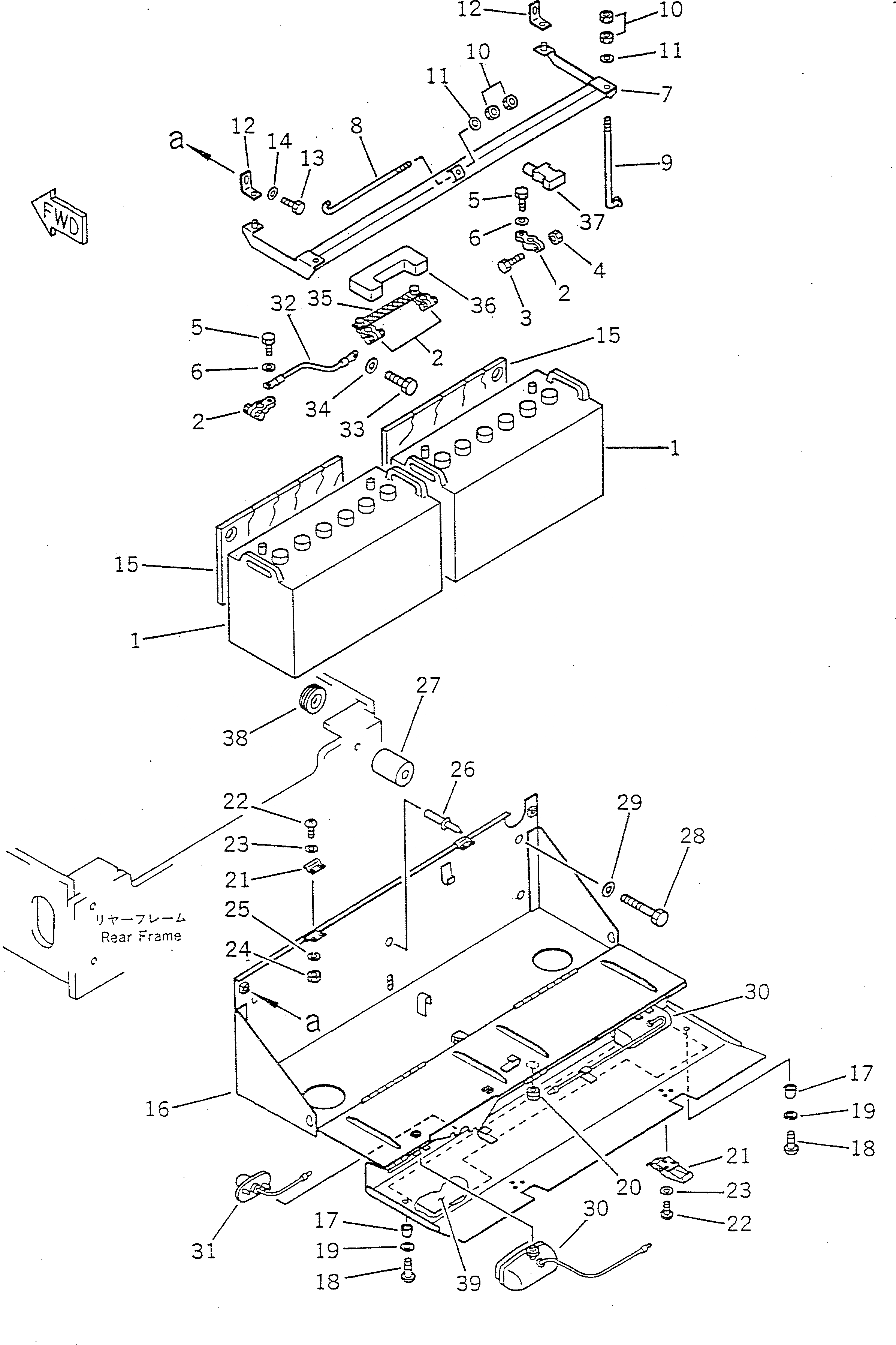
1

08000-32212

BATTERY, WET

SN: 10001-@

2шт.

1

08000-42212

BATTERY (115E41R),(DRY TYPE)

SN: 10001-@

2шт.

1

416-Z91-1110

BATTERY, WET,(FOR COLD WEATHER)

SN: 10001-@

2шт.

2

08000-00000

TERMINAL, (+)

SN: 10001-@

2шт.

2

08000-00001

TERMINAL, (-)

SN: 10001-@

2шт.

3

01010-30830

BOLT

SN: 10001-@

1шт.

4

01580-00806

NUT

SN: 10001-@

1шт.

5

01050-31018

BOLT

SN: 10001-@

1шт.

6

01640-01016

WASHER

SN: 10001-@

1шт.

7

416-06-11120

HOLDER

SN: 10001-19999

1шт.

8

417-06-11122

ROD

SN: 10001-19999

1шт.

9

417-06-11151

ROD

SN: 10001-19999

2шт.

10

01580-10806

NUT

SN: 10001-19999

6шт.

11

01643-30823

WASHER

SN: 10001-19999

3шт.

12

416-06-11140

PLATE

SN: 10001-19999

2шт.

13

01010-50820

BOLT

SN: 10001-19999

2шт.

14

01643-50823

WASHER

SN: 10001-19999

2шт.

15

417-06-11162

SPACER

SN: 10001-19999

2шт.

16

417-06-11184

BOX

SN: 10001-19999

1шт.

17

425-54-12590

STOPPER

SN: 10001-@

2шт.

18

01220-40416

SCREW

SN: 10001-@

2шт.

19

01641-20405

WASHER

SN: 10001-@

2шт.

20

416-06-11150

CAP

SN: 10001-19999

1шт.

21

421-09-12320

HOLDER

SN: 10001-19999

2шт.

22

01220-40410

SCREW

SN: 10001-@

10шт.

23

01641-20405

WASHER

SN: 10001-@

10шт.

24

01580-10403

NUT

SN: 10001-19999

4шт.

25

01601-20410

WASHER,SPRING

SN: 10001-19999

4шт.

26

416-06-11160

RIVET

SN: 10001-19999

1шт.

27

417-06-11270

SPACER

SN: 10001-19999

2шт.

28

01010-31290

BOLT

SN: 10001-19999

4шт.

29

01643-31232

WASHER

SN: 10001-19999

4шт.

30

417-06-13122

LAMP,BACK

SN: .-@

2шт.

30

0

LAMP,BACK

SN: 10001-.

2шт.

30

417-06-13131

LENS

SN: .-@

1шт.

30

0

LENS

SN: 10001-.

1шт.

30

08110-12410

BULB, 12W

SN: .-@

1шт.

30

0

BULB, 25W

SN: 10001-.

1шт.

31

417-06-12120

WIRE

SN: 10001-19999

1шт.

32

01010-31020

BOLT

SN: 10001-@

1шт.

33

01605-11023

WASHER

SN: 10001-@

1шт.

34

417-06-12110

WIRE

SN: 10001-19999

1шт.

35

417-06-12131

CAP

SN: 10001-19999

1шт.

36

08038-22009

CAP

SN: 10001-@

1шт.

37

08037-03614

GROMMET

SN: 10001-19999

1шт.

38

417-06-11320

PLATE

SN: 10001-19999

1шт.

Выбрано товаров: 46