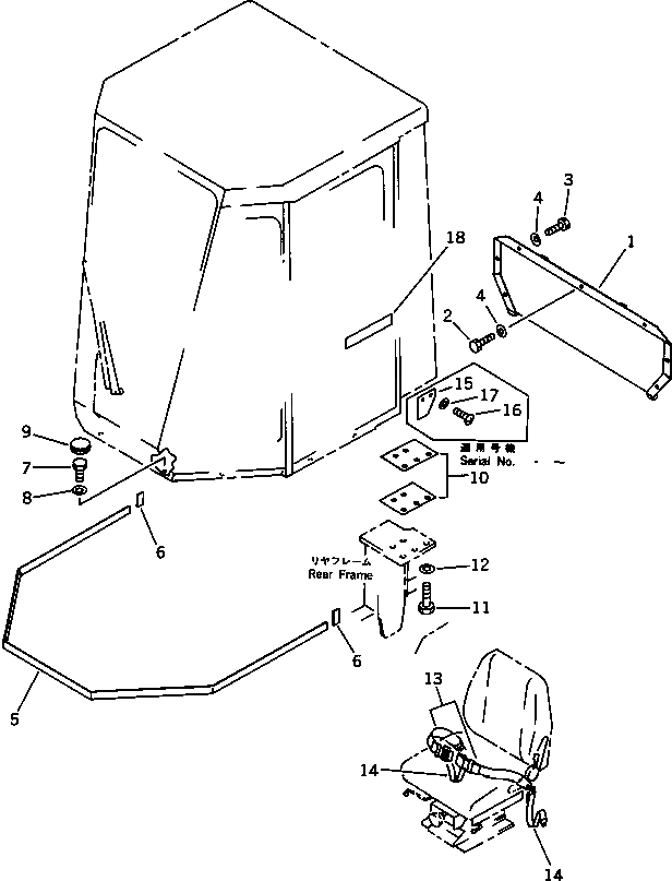
Запчасти Komatsu WA150-1 КАБИНА ROPS (ЭЛЕМЕНТЫ КРЕПЛЕНИЯ) (/8) РАМА И ЧАСТИ КОРПУСА

Схема запчастей Komatsu WA150-1 - КАБИНА ROPS (ЭЛЕМЕНТЫ КРЕПЛЕНИЯ) (/8) РАМА И ЧАСТИ КОРПУСА
FIT
1:1
100%

Артикул

Название

Примечание

Количество

|$0

417-W50-1031

ROPS CAB ASS'Y

SN: 20001-UP

1шт.

|$1

417-W50-1030

ROPS CAB ASS'Y

SN: 10001-19999

1шт.

1

417-926-1114

PLATE

SN: 20001-UP

1шт.

1

417-926-1113

PLATE

SN: 10001-19999

1шт.

2

01010-50825

BOLT

SN: 10001-UP

1шт.

3

01010-50816

BOLT

SN: 10001-UP

6шт.

4

01643-30823

WASHER

SN: 10001-UP

7шт.

5

417-54-15110

SEAL

SN: 10001-UP

1шт.

6

417-54-15120

SEAL

SN: 10001-UP

2шт.

7

01010-51225

BOLT

SN: 10001-UP

8шт.

8

01643-31232

WASHER

SN: 10001-UP

8шт.

9

09415-02512

CAP

SN: 10001-UP

8шт.

10

417-926-1150

SHIM, 1.0MM

SN: 10001-UP

8шт.

11

01010-32475

BOLT

SN: 10001-UP

10шт.

12

01643-32460

WASHER

SN: 10001-UP

10шт.

13

09409-10001

BELT, LAP

SN: 10001-UP

1шт.

14

09409-20000

BELT, TETHER

SN: 10001-UP

2шт.

15

417-926-1310

PLATE,L.H.

SN: .-UP

1шт.

15

417-926-1320

PLATE,R.H.

SN: .-UP

1шт.

16

01220-40612

SCREW

SN: .-UP

2шт.

17

01641-20608

WASHER

SN: .-UP

2шт.

18

09690-50280

PLATE, MARK

SN: 10001-UP

2шт.

Выбрано товаров: 22