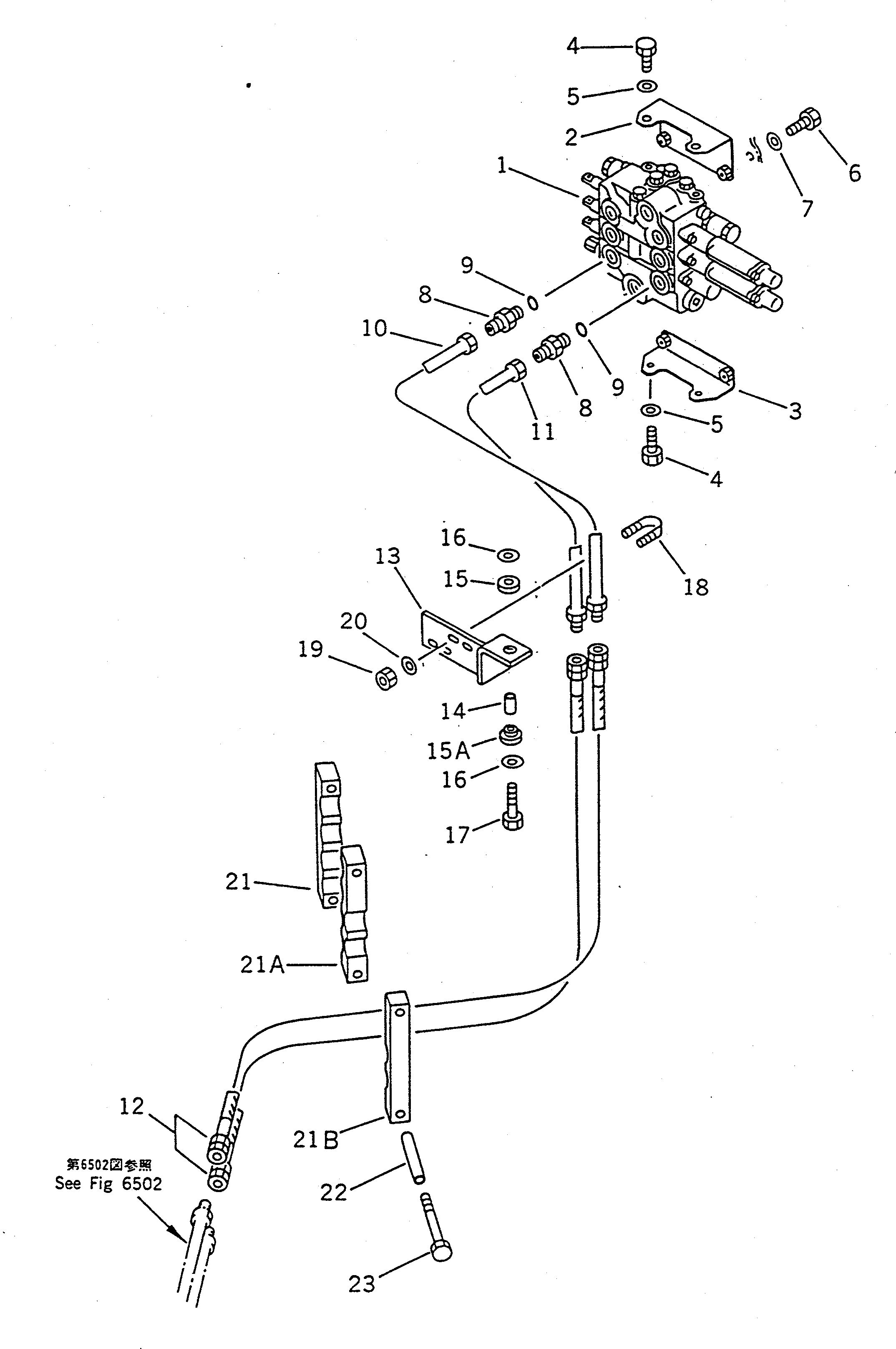
Запчасти Komatsu WA150-1 ГИДРОЛИНИЯ (/) (ДЛЯ ПЕРЕДН. НАВЕСН. ОБОРУД) УПРАВЛ-Е РАБОЧИМ ОБОРУДОВАНИЕМ

Схема запчастей Komatsu WA150-1 - ГИДРОЛИНИЯ (/) (ДЛЯ ПЕРЕДН. НАВЕСН. ОБОРУД) УПРАВЛ-Е РАБОЧИМ ОБОРУДОВАНИЕМ
FIT
1:1
100%

Артикул

Название

Примечание

Количество

1

700-83-28002

VALVE ASS'Y

SN: .-UP

1шт.

1

0

VALVE ASS'Y

SN: 10001-.

1шт.

2

417-64-13114

BRACKET

SN: 20001-UP

1шт.

2

417-64-13111

BRACKET

SN: 10001-19999

1шт.

3

417-64-13123

BRACKET

SN: 20001-UP

1шт.

3

417-64-13120

BRACKET

SN: 10001-19999

1шт.

4

01010-31025

BOLT

SN: 10001-UP

4шт.

5

01643-31032

WASHER

SN: 10001-UP

4шт.

6

01010-31225

BOLT

SN: 10001-UP

4шт.

7

01643-31232

WASHER

SN: 10001-UP

4шт.

8

07230-10522

UNION

SN: 10001-UP

2шт.

9

07002-12434

O-RING

SN: 10001-UP

2шт.

10

416-877-1310

TUBE

SN: 10001-UP

1шт.

11

416-877-1320

TUBE

SN: 10001-UP

1шт.

12

07086-40514

HOSE

SN: 10001-UP

2шт.

13

416-877-1442

BRACKET

SN: 20001-UP

1шт.

13

416-877-1441

BRACKET

SN: 10001-19999

1шт.

13A

416-877-1480

BRACKET

SN: 20001-UP

1шт.

13B

01010-51230

BOLT

SN: 20001-UP

1шт.

13C

01643-31232

WASHER

SN: 20001-UP

1шт.

14

417-54-13470

SPACER

SN: 10001-19999

1шт.

14

419-43-17910

SPACER,(FOR TBG/ABE SPEC.)

SN: 10001-19999

1шт.

15

419-43-17930

CUSHION

SN: 10001-19999

1шт.

15A

417-62-13620

CUSHION

SN: 10001-19999

1шт.

16

419-43-17920

WASHER

SN: 10001-19999

2шт.

17

01010-31250

BOLT

SN: 10001-19999

1шт.

18

07283-32236

CLIP

SN: 10001-UP

2шт.

19

426-09-11160

NUT

SN: 10001-UP

4шт.

20

01643-31032

WASHER

SN: 10001-UP

4шт.

|$29

416-877-1361

STRIP,STRIP

SN: 20001-UP

1шт.

|$30

416-877-1360

RUBBER,STRIP

SN: 10001-19999

1шт.

21

416-877-1371

STRIP

SN: 20001-UP

1шт.

21

416-877-1370

STRIP

SN: 10001-19999

1шт.

21A

416-877-1381

STRIP

SN: 20001-UP

1шт.

21A

416-877-1380

STRIP

SN: 10001-19999

1шт.

21B

416-877-1390

STRIP

SN: 10001-UP

1шт.

22

416-877-1410

SPACER

SN: 10001-19999

2шт.

23

01011-31240

BOLT

SN: 10001-19999

2шт.

24

417-876-1120

HOSE

SN: 20001-UP

1шт.

Выбрано товаров: 39