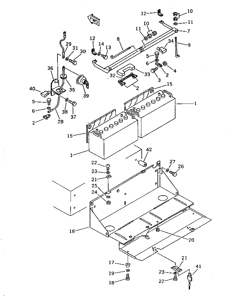
Запчасти Komatsu WA150-1 АККУМУЛЯТОР И КОРПУС АККУМУЛЯТОРА (TBG/ABE СПЕЦ-Я.)(№-9999) СПЕЦ. APPLICATION ЧАСТИ

Схема запчастей Komatsu WA150-1 - АККУМУЛЯТОР И КОРПУС АККУМУЛЯТОРА (TBG/ABE СПЕЦ-Я.)(№-9999) СПЕЦ. APPLICATION ЧАСТИ
FIT
1:1
100%

Артикул

Название

Примечание

Количество

1

08000-32212

BATTERY, WET

SN: 10001-19999

2шт.

1

08000-42212

BATTERY (115E41R),(DRY TYPE)

SN: 10001-19999

2шт.

1

416-Z91-1110

BATTERY, WET,(FOR COLD WEATHER)

SN: 10001-19999

2шт.

2

08000-00000

TERMINAL, (+)

SN: 10001-19999

2шт.

2

08000-00001

TERMINAL, (-)

SN: 10001-19999

2шт.

3

01010-30830

BOLT

SN: 10001-19999

1шт.

4

01580-00806

NUT

SN: 10001-19999

1шт.

5

01050-31018

BOLT

SN: 10001-19999

1шт.

6

01640-01016

WASHER

SN: 10001-19999

1шт.

7

416-06-11120

HOLDER

SN: 10001-19999

1шт.

8

417-06-11122

ROD

SN: 10001-19999

1шт.

9

417-06-11151

ROD

SN: 10001-19999

2шт.

10

01580-10806

NUT

SN: 10001-19999

6шт.

11

01643-30823

WASHER

SN: 10001-19999

3шт.

12

416-06-11140

PLATE

SN: 10001-19999

2шт.

13

01010-50820

BOLT

SN: 10001-19999

2шт.

14

01643-50823

WASHER

SN: 10001-19999

2шт.

15

417-06-11162

SPACER

SN: 10001-19999

2шт.

16

417-06-11512

BOX

SN: 10001-19999

1шт.

17

425-54-12590

STOPPER

SN: 10001-19999

2шт.

18

01220-40416

SCREW

SN: 10001-19999

2шт.

19

01641-20405

WASHER

SN: 10001-19999

2шт.

20

416-06-11150

CAP

SN: 10001-19999

1шт.

21

421-09-12320

HOLDER

SN: 10001-19999

2шт.

22

01220-40410

SCREW

SN: 10001-19999

10шт.

23

01641-20405

WASHER

SN: 10001-19999

10шт.

24

01580-10403

NUT

SN: 10001-19999

4шт.

25

01601-20410

WASHER,SPRING

SN: 10001-19999

4шт.

26

01010-31290

BOLT

SN: 10001-19999

4шт.

27

01643-31232

WASHER

SN: 10001-19999

4шт.

28

417-06-12530

WIRE

SN: 10001-19999

1шт.

29

08028-13015

CABLE

SN: 10001-19999

1шт.

30

01010-31020

BOLT

SN: 10001-19999

1шт.

31

01605-11023

WASHER

SN: 10001-19999

1шт.

32

417-06-12110

WIRE

SN: 10001-19999

1шт.

33

417-06-12131

CAP

SN: 10001-19999

1шт.

34

08038-22009

CAP

SN: 10001-19999

1шт.

35

08037-02512

GROMMET

SN: 10001-19999

1шт.

36

417-06-11520

BRACKET

SN: 10001-19999

1шт.

37

01010-31025

BOLT

SN: 10001-19999

1шт.

38

01643-31032

WASHER

SN: 10001-19999

1шт.

39

419-06-11250

SWITCH

SN: 10001-19999

1шт.

40

08038-22009

CAP

SN: 10001-19999

1шт.

41

09460-00000

LOCK

SN: 10001-19999

1шт.

42

417-06-11270

SPACER

SN: 10001-19999

4шт.

Выбрано товаров: 45