Запчасти Komatsu WA150-1 ЭЛЕКТРИКА (ДЛЯ КАБИНЫ) (TBG/ABE СПЕЦ-Я.)(№-9999) СПЕЦ. APPLICATION ЧАСТИ

Схема запчастей Komatsu WA150-1 - ЭЛЕКТРИКА (ДЛЯ КАБИНЫ) (TBG/ABE СПЕЦ-Я.)(№-9999) СПЕЦ. APPLICATION ЧАСТИ
FIT
1:1
100%

Артикул

Название

Примечание

Количество

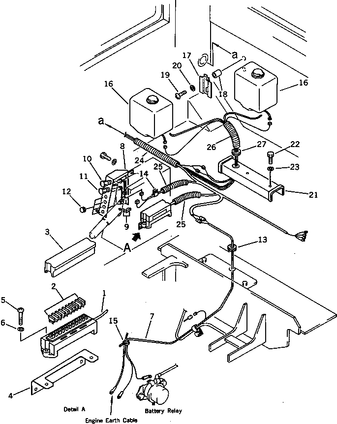
1

416-06-16212

WIRE ASS'Y

SN: 10001-19999

1шт.

2

283-06-16190

FUSE, 10A

SN: 10001-19999

7шт.

2

22W-06-13160

FUSE, 20A

SN: 10001-19999

5шт.

3

415-06-12230

COVER,FUSE

SN: 10001-19999

1шт.

4

416-06-16120

PLATE

SN: 10001-19999

1шт.

5

01220-40620

SCREW

SN: 10001-19999

2шт.

6

01641-20608

WASHER

SN: 10001-19999

2шт.

7

416-06-16220

WIRE ASS'Y

SN: 10001-19999

1шт.

8

416-06-16110

BOX

SN: 10001-19999

1шт.

9

416-06-16130

SEAL

SN: 10001-19999

2шт.

10

421-06-16141

SWITCH,FRONT WIPER

SN: 10001-19999

1шт.

11

421-06-16150

SWITCH,REAR WIPER

SN: 10001-19999

1шт.

12

09415-00706

CAP

SN: 10001-19999

4шт.

13

416-06-16340

GROMMET

SN: 10001-19999

1шт.

14

08036-01414

CLIP

SN: 10001-19999

1шт.

15

08034-00519

BAND

SN: 10001-19999

1шт.

16

421-07-15160

TANK,WASHER

SN: 10001-19999

2шт.

17

421-07-15170

BRACKET

SN: 10001-19999

2шт.

18

416-07-16110

SPACER

SN: 10001-19999

4шт.

19

01220-40645

SCREW

SN: 10001-19999

4шт.

20

01643-30623

WASHER

SN: 10001-19999

4шт.

21

416-06-16360

COVER

SN: 10001-19999

1шт.

22

01010-30875

BOLT

SN: 10001-19999

2шт.

23

01643-30823

WASHER

SN: 10001-19999

2шт.

24

08017-31903

CONDUIT

SN: 10001-19999

1шт.

25

08017-31902

CONDUIT

SN: 10001-19999

2шт.

26

416-06-16350

CONDUIT

SN: 10001-19999

1шт.

27

08037-02512

GROMMET

SN: 10001-19999

1шт.

Выбрано товаров: 28