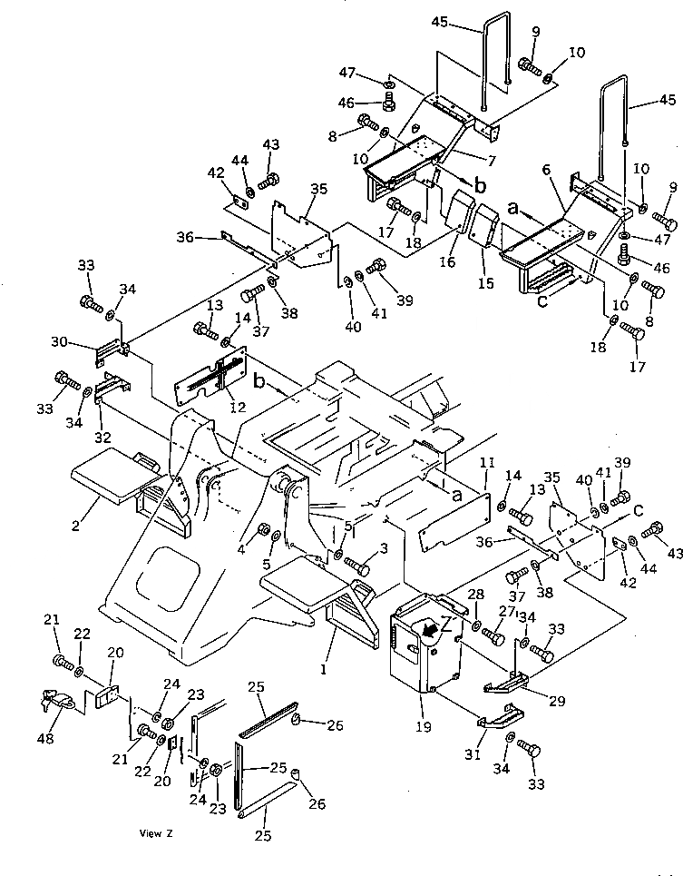
Запчасти Komatsu WA150-1 КРЫЛО И ЛЕСТНИЦА (TBG/ABE СПЕЦ-Я.)(№-9999) СПЕЦ. APPLICATION ЧАСТИ

Схема запчастей Komatsu WA150-1 - КРЫЛО И ЛЕСТНИЦА (TBG/ABE СПЕЦ-Я.)(№-9999) СПЕЦ. APPLICATION ЧАСТИ
FIT
1:1
100%

Артикул

Название

Примечание

Количество

1

417-54-14531

FENDER,FRONT, L.H.

SN: 10001-19999

1шт.

2

417-54-14541

FENDER,FRONT, R.H.

SN: 10001-19999

1шт.

3

01010-51240

BOLT

SN: 10001-19999

8шт.

4

01580-21210

NUT

SN: 10001-19999

8шт.

5

01643-31232

WASHER

SN: 10001-19999

16шт.

6

417-54-14552

FENDER,REAR, L.H.

SN: 10001-19999

1шт.

7

417-54-14562

FENDER,REAR, R.H.

SN: 10001-19999

1шт.

8

01010-51240

BOLT

SN: 10001-19999

8шт.

9

01010-51225

BOLT

SN: 10001-19999

4шт.

10

01643-31232

WASHER

SN: 10001-19999

12шт.

11

417-54-14131

COVER,L.H.

SN: 10001-19999

1шт.

12

417-54-14332

COVER,R.H.

SN: 10001-19999

1шт.

13

01010-51225

BOLT

SN: 10001-19999

8шт.

14

01643-31232

WASHER

SN: 10001-19999

8шт.

15

417-54-14511

COVER,L.H.

SN: 10001-19999

1шт.

16

417-54-14521

COVER,R.H.

SN: 10001-19999

1шт.

17

01010-51225

BOLT

SN: 10001-19999

4шт.

18

01643-31232

WASHER

SN: 10001-19999

4шт.

19

417-54-14341

BOX

SN: 10001-19999

1шт.

20

421-09-12320

HOLDER

SN: 10001-19999

1шт.

21

01220-40412

SCREW

SN: 10001-19999

5шт.

22

01641-20405

WASHER

SN: 10001-19999

5шт.

23

01580-10403

NUT

SN: 10001-19999

5шт.

24

01601-20410

WASHER,SPRING

SN: 10001-19999

5шт.

25

417-54-12950

SHEET

SN: 10001-19999

3шт.

26

417-54-12960

SHEET

SN: 10001-19999

2шт.

27

01010-51230

BOLT

SN: 10001-19999

2шт.

28

01643-31232

WASHER

SN: 10001-19999

2шт.

29

417-54-14660

LADDER,L.H.

SN: 10001-19999

1шт.

30

417-54-14670

LADDER,R.H.

SN: 10001-19999

1шт.

31

417-54-14361

LADDER,L.H.

SN: 10001-19999

1шт.

32

417-54-14371

LADDER,R.H.

SN: 10001-19999

1шт.

33

01010-51230

BOLT

SN: 10001-19999

8шт.

34

01643-31232

WASHER

SN: 10001-19999

8шт.

35

417-54-14611

RUBBER

SN: 10001-19999

2шт.

36

417-54-14621

PLATE

SN: 10001-19999

2шт.

37

01010-51225

BOLT

SN: 10001-19999

6шт.

38

01643-31232

WASHER

SN: 10001-19999

6шт.

39

01010-51230

BOLT

SN: 10001-19999

4шт.

40

560-32-12430

WASHER

SN: 10001-19999

4шт.

41

01643-31232

WASHER

SN: 10001-19999

4шт.

42

417-54-14630

COVER

SN: 10001-19999

2шт.

43

01010-51020

BOLT

SN: 10001-19999

4шт.

44

01643-31032

WASHER

SN: 10001-19999

4шт.

45

417-54-14350

HANDRAIL

SN: 10001-19999

2шт.

46

01010-51230

BOLT

SN: 10001-19999

4шт.

47

01643-31232

WASHER

SN: 10001-19999

4шт.

48

09460-00000

LOCK

SN: 10001-19999

1шт.

Выбрано товаров: 0