Запчасти Komatsu WA150-1 СТОЙКА И ПОРУЧНИ (TBG/ABE СПЕЦ-Я.)(№-9999) СПЕЦ. APPLICATION ЧАСТИ

Схема запчастей Komatsu WA150-1 - СТОЙКА И ПОРУЧНИ (TBG/ABE СПЕЦ-Я.)(№-9999) СПЕЦ. APPLICATION ЧАСТИ
FIT
1:1
100%

Артикул

Название

Примечание

Количество

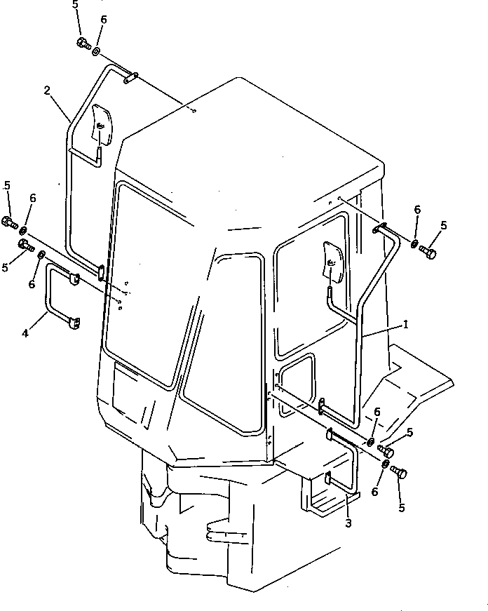
1

416-929-1511

STAY,L.H.

SN: 10001-19999

1шт.

2

416-929-1521

STAY,R.H.

SN: 10001-19999

1шт.

3

416-929-1130

HANDRAIL,L.H.

SN: 10001-19999

1шт.

4

416-929-1140

HANDRAIL,R.H.

SN: 10001-19999

1шт.

5

01010-50820

BOLT

SN: 10001-19999

16шт.

6

01643-30823

WASHER

SN: 10001-19999

16шт.

Выбрано товаров: 0