Запчасти Komatsu WA150-1 РУЛЕВ. УПРАВЛЕНИЕ ЗАПРАШИВАЮЩ. КЛАПАН (/)(№-9999) РУЛЕВ. УПРАВЛЕНИЕ И СИСТЕМА УПРАВЛЕНИЯS

Схема запчастей Komatsu WA150-1 - РУЛЕВ. УПРАВЛЕНИЕ ЗАПРАШИВАЮЩ. КЛАПАН (/)(№-9999) РУЛЕВ. УПРАВЛЕНИЕ И СИСТЕМА УПРАВЛЕНИЯS
FIT
1:1
100%

Артикул

Название

Примечание

Количество

|$0

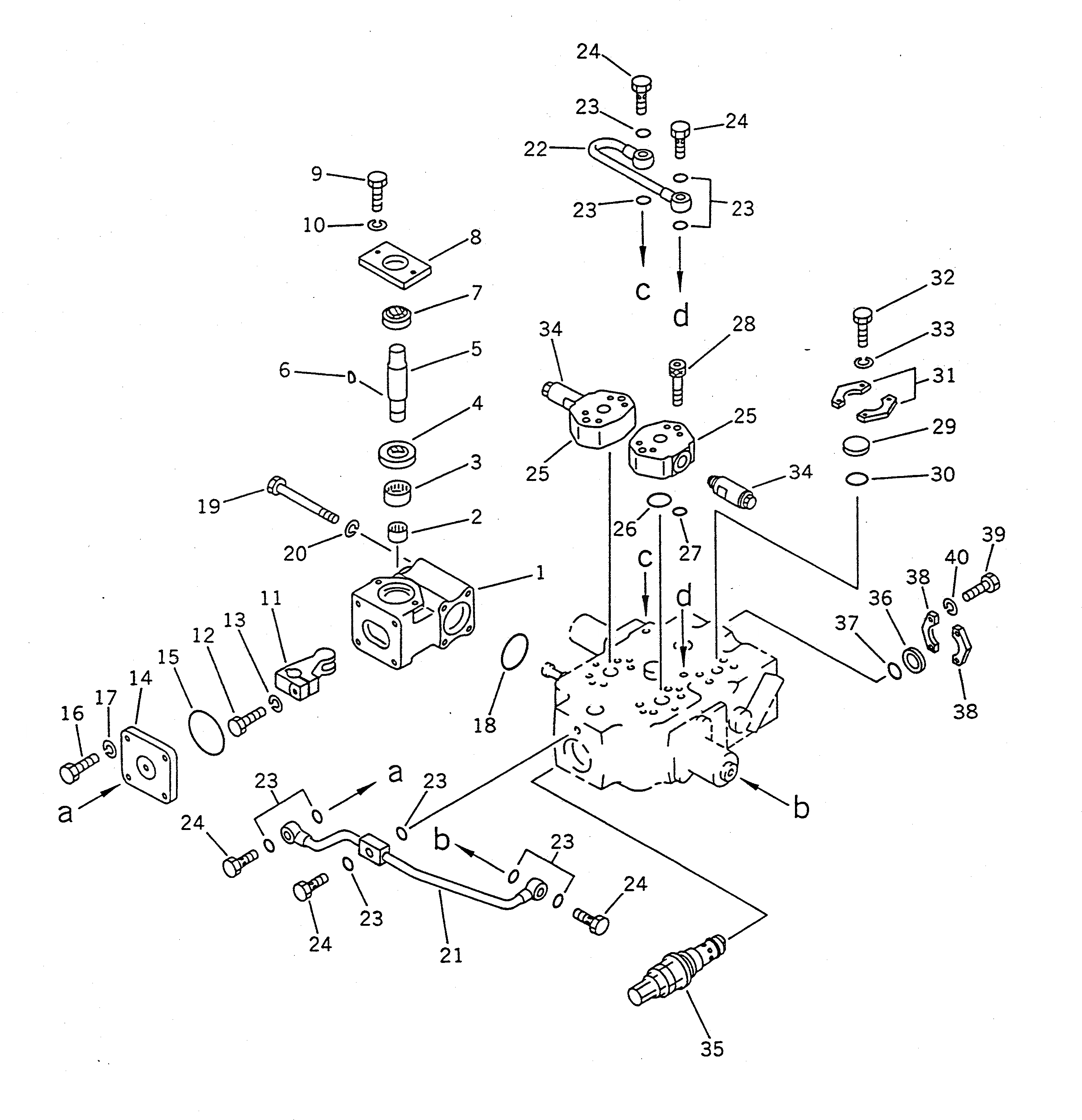
702-13-64001

VALVE ASS'Y

SN: 10001-19999

1шт.

|$1

702-13-84001

VALVE ASS'Y,(FOR TBG/ABE SPEC.)

SN: .-19999

1шт.

|$2

0

VALVE ASS'Y,(FOR TBG/ABE SPEC.)

SN: 10001-.

1шт.

|$3

702-13-61600

ROTARY SEAL ASS'Y

SN: 10001-19999

1шт.

1

702-13-61610

CASE

SN: 10001-19999

1шт.

2

702-13-21620

BEARING,NEEDLE

SN: 10001-19999

1шт.

3

06120-02520

BEARING,NEEDLE

SN: 10001-19999

1шт.

4

07430-11161

SEAL,OIL

SN: 10001-19999

1шт.

5

702-13-21650

SHAFT

SN: 10001-19999

1шт.

6

04010-00519

KEY

SN: 10001-19999

1шт.

7

07016-00256

SEAL,DUST

SN: 10001-19999

1шт.

8

701-51-32170

PLATE

SN: 10001-19999

1шт.

9

01010-50820

BOLT

SN: 10001-19999

2шт.

10

01602-20825

WASHER,SPRING

SN: 10001-19999

2шт.

11

0

LEVER

SN: 10001-19999

1шт.

12

01010-50835

BOLT

SN: 10001-19999

1шт.

13

01602-00825

WASHER,SPRING

SN: 10001-19999

1шт.

14

702-13-61630

COVER

SN: 10001-19999

1шт.

15

07000-12060

O-RING

SN: 10001-19999

1шт.

16

01010-50825

BOLT

SN: 10001-19999

4шт.

17

01602-20825

WASHER,SPRING

SN: 10001-19999

4шт.

18

07000-03045

O-RING

SN: 10001-19999

1шт.

19

6132-11-6460

BOLT

SN: 10001-19999

4шт.

20

01602-20825

WASHER,SPRING

SN: 10001-19999

4шт.

21

702-13-61250

TUBE

SN: 10001-19999

1шт.

22

702-13-61260

TUBE

SN: 10001-19999

1шт.

23

07000-12012

O-RING

SN: 10001-19999

10шт.

24

6631-51-9580

BOLT,JOINT

SN: 10001-19999

5шт.

25

0

BLOCK

SN: 10001-19999

2шт.

26

07000-13025

O-RING

SN: 10001-19999

2шт.

27

07000-01009

O-RING

SN: 10001-19999

2шт.

28

01252-40635

BOLT

SN: 10001-19999

4шт.

29

07378-10500

HEAD

SN: 10001-19999

1шт.

30

07000-13022

O-RING

SN: 10001-19999

1шт.

31

07371-30500

FLANGE,SPLIT

SN: 10001-19999

2шт.

32

01010-50830

BOLT

SN: 10001-19999

4шт.

33

01602-20825

WASHER,SPRING

SN: 10001-19999

4шт.

34

709-30-62400

VALVE ASS'Y

SN: 10001-19999

2шт.

35

700-87-57000

RELIEF VALVE ASS'Y

SN: 10001-19999

1шт.

36

07378-11000

HEAD

SN: 10001-19999

1шт.

37

07000-13032

O-RING

SN: 10001-19999

1шт.

38

07371-31049

FLANGE,SPLIT

SN: 10001-19999

2шт.

39

07372-21035

BOLT

SN: 10001-19999

4шт.

40

01602-21030

WASHER,SPRING

SN: 10001-19999

4шт.

Выбрано товаров: 44