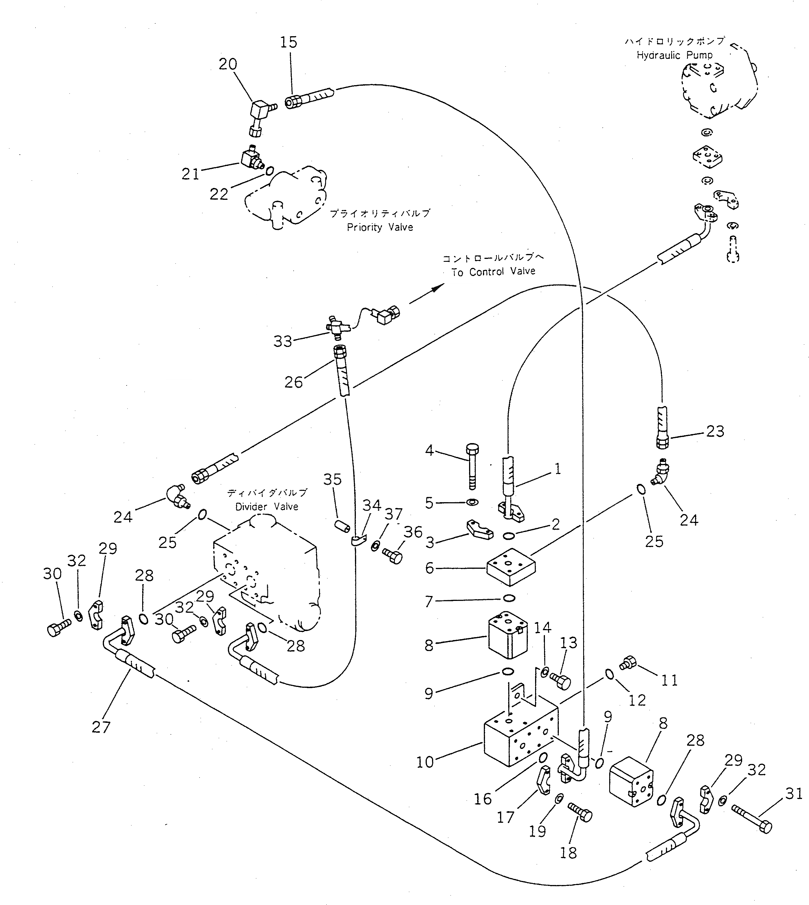
Запчасти Komatsu WA150-1 ЭКСТРЕНН. РУЛЕВ. УПРАВЛЕНИЕ (/) (ТРУБЫ (/))(№-) РУЛЕВ. УПРАВЛЕНИЕ И СИСТЕМА УПРАВЛЕНИЯ

Схема запчастей Komatsu WA150-1 - ЭКСТРЕНН. РУЛЕВ. УПРАВЛЕНИЕ (/) (ТРУБЫ (/))(№-) РУЛЕВ. УПРАВЛЕНИЕ И СИСТЕМА УПРАВЛЕНИЯ
FIT
1:1
100%

Артикул

Название

Примечание

Количество

1

417-875-1710

HOSE

SN: 20001-UP

1шт.

2

07000-13032

O-RING

SN: 20001-UP

1шт.

3

07371-31049

FLANGE,SPLIT

SN: 20001-UP

2шт.

4

417-875-1670

BOLT

SN: 20001-UP

4шт.

5

01643-51032

WASHER

SN: 20001-UP

4шт.

6

417-875-1650

BLOCK

SN: 20001-UP

1шт.

7

07000-13035

O-RING

SN: 10001-UP

1шт.

8

702-13-23902

VALVE ASS'Y

SN: .-UP

2шт.

|8

702-13-23901

VALVE ASS'Y

SN: 20001-.

2шт.

9

07000-13035

O-RING

SN: 10001-UP

2шт.

10

417-875-1682

BLOCK

SN: ..-UP

1шт.

|10

417-875-1681

BLOCK

SN: .-..

1шт.

|10

417-875-1680

BLOCK

SN: 20001-.

1шт.

11

07040-13016

PLUG

SN: 20001-UP

1шт.

12

07002-13034

O-RING

SN: 20001-UP

1шт.

13

01010-51025

BOLT

SN: 20001-UP

2шт.

14

01643-31032

WASHER

SN: 20001-UP

2шт.

15

417-875-1720

HOSE

SN: 20001-UP

1шт.

16

07000-13032

O-RING

SN: 20001-UP

1шт.

17

07371-31049

FLANGE,SPLIT

SN: 20001-UP

2шт.

18

07372-01035

BOLT

SN: 20001-UP

4шт.

19

01643-51032

WASHER

SN: 20001-UP

4шт.

20

417-875-1660

ELBOW

SN: 20001-UP

1шт.

21

416-62-13730

ELBOW

SN: 20001-UP

1шт.

22

416-62-13450

O-RING

SN: 20001-UP

1шт.

23

07086-00204

HOSE

SN: 20001-UP

1шт.

24

417-875-1611

ELBOW

SN: 10001-UP

1шт.

24A

416-875-1250

ELBOW

SN: 10001-UP

1шт.

25

07002-11423

O-RING

SN: 10001-UP

2шт.

26

417-875-1810

HOSE

SN: 20001-UP

1шт.

27

417-875-1790

HOSE

SN: 10001-UP

1шт.

28

07000-13032

O-RING

SN: 10001-UP

3шт.

29

07371-31049

FLANGE,SPLIT

SN: 10001-UP

6шт.

30

07372-21035

BOLT

SN: 20001-UP

8шт.

31

209-09-11130

BOLT

SN: 20001-UP

4шт.

32

01643-51032

WASHER

SN: 10001-UP

12шт.

33

417-875-1730

TUBE

SN: 10001-UP

1шт.

34

23T-62-12160

CLIP

SN: 20001-UP

1шт.

35

417-875-1690

SPACER

SN: 20001-UP

1шт.

36

01011-51005

BOLT

SN: 20001-UP

1шт.

37

01643-31032

WASHER

SN: 20001-UP

1шт.

Выбрано товаров: 41