Запчасти Komatsu WA150-1 ЗАДН. РАМА РАМА И ЧАСТИ КОРПУСА

Схема запчастей Komatsu WA150-1 - ЗАДН. РАМА РАМА И ЧАСТИ КОРПУСА
FIT
1:1
100%

Артикул

Название

Примечание

Количество

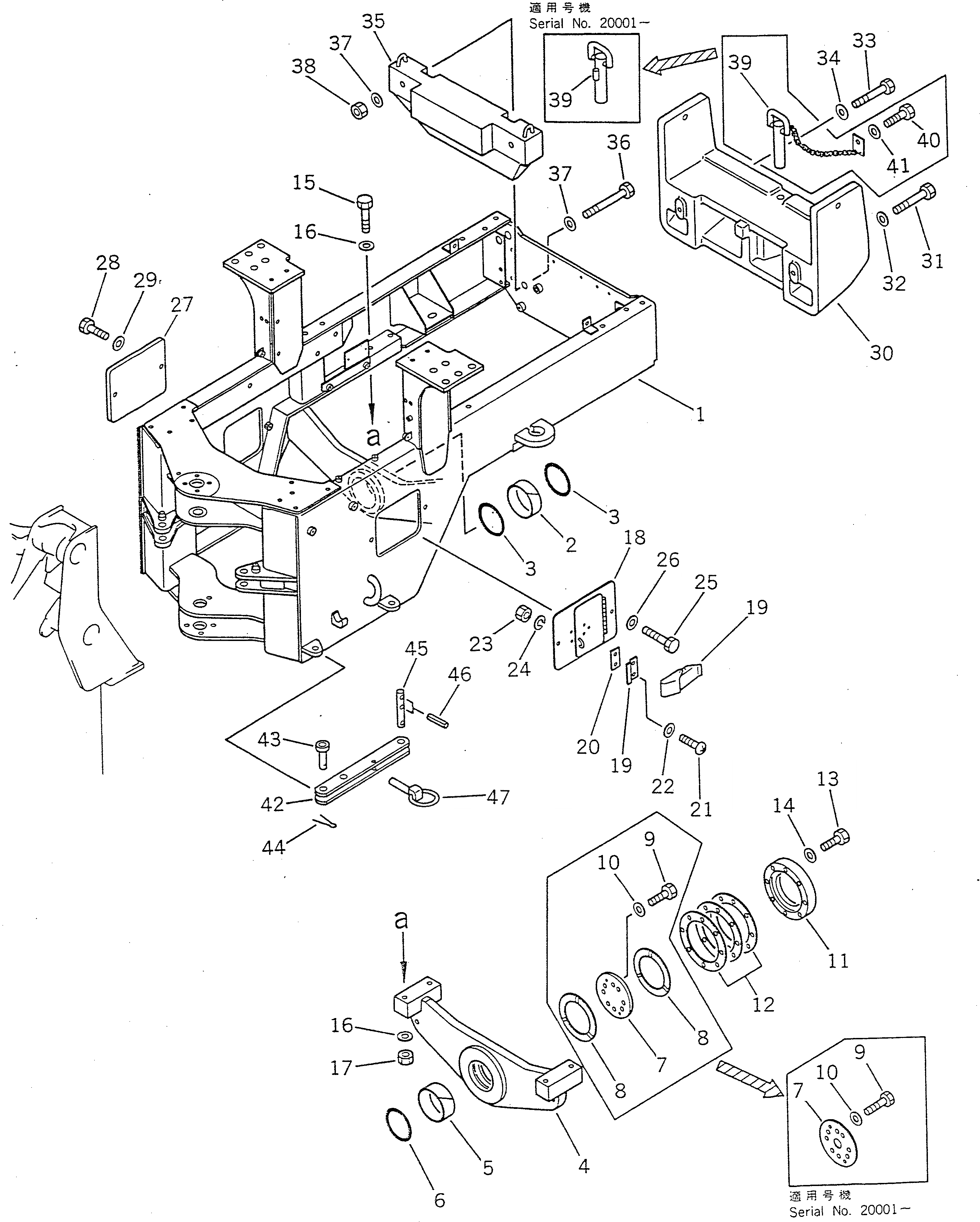
1

417-46-12120

FRAME,REAR

SN: 20001-UP

1шт.

|1

417-46-12116

FRAME,REAR

SN: 10001-19999

1шт.

|1

416-974-1220

FRAME,REAR (FOR ADD. COUNTER WEIGHT)

SN: 30001-UP

1шт.

|1

417-974-1140

BOSS,REAR (FOR ADD. COUNTER WEIGHT)

SN: 10001-29999

1шт.

|1

417-855-1133

FRAME,REAR (FOR BACK HOE)

SN: 20001-UP

1шт.

|1

416-855-1131

FRAME,REAR (FOR BACK HOE)

SN: 10001-19999

1шт.

|1

417-Z90-1320

FRAME,REAR (FOR NOISE ABATEMENT)

SN: 10001-19999

1шт.

|1

417-879-1531

FRAME,REAR (FOR MULTI COUPLER)

SN: 20001-UP

1шт.

|1

417-879-1530

FRAME,REAR (FOR MULTI COUPLER)

SN: 10001-19999

1шт.

|1

417-963-2430

FRAME,REAR (FOR AIR CONDITIONER)

SN: 10001-19999

1шт.

|1

417-875-1760

FRAME¤ REAR,(FOR EMERGENCY STEERING)

SN: 20001-UP

1шт.

2

416-46-12160

BUSHING

SN: 10001-UP

1шт.

3

07000-06150

O-RING

SN: 10001-UP

2шт.

4

416-46-12133

SUPPORT,REAR

SN: 20001-UP

1шт.

|4

416-46-12132

SUPPORT,REAR

SN: 10001-19999

1шт.

5

416-46-12160

BUSHING

SN: 10001-UP

1шт.

6

07000-06150

O-RING

SN: 10001-UP

1шт.

7

416-46-12152

PLATE,THRUST

SN: 20001-UP

1шт.

|7

416-46-12151

PLATE,THRUST

SN: 10001-19999

1шт.

8

416-46-12280

WASHER,THRUST

SN: 10001-19999

2шт.

9

01010-61250

BOLT

SN: 10001-UP

8шт.

10

01643-31232

WASHER

SN: 10001-UP

8шт.

11

416-46-12142

COVER,TRUNNION

SN: 20001-UP

1шт.

|11

416-46-12141

COVER,TRUNNION

SN: 10001-19999

1шт.

12

416-46-12170

SHIM¤ 0.2MM

SN: 10001-UP

3шт.

13

01010-61255

BOLT

SN: 20001-UP

8шт.

|13

01010-61265

BOLT

SN: 10001-19999

8шт.

14

01643-31232

WASHER

SN: 10001-UP

8шт.

15

01011-32080

BOLT

SN: 10001-UP

4шт.

16

01643-32060

WASHER

SN: 10001-UP

8шт.

17

01580-02016

NUT

SN: 10001-UP

4шт.

18

417-46-12201

COVER,L.H.

SN: 10001-UP

1шт.

19

421-09-12320

HOLDER

SN: 10001-UP

1шт.

20

417-06-12280

PLATE

SN: 10001-UP

1шт.

21

01220-40412

SCREW

SN: 10001-UP

5шт.

22

01641-20405

WASHER

SN: 10001-UP

5шт.

23

01580-10403

NUT

SN: 10001-UP

5шт.

24

01601-20410

WASHER,SPRING

SN: 10001-UP

5шт.

25

01010-51225

BOLT

SN: 10001-UP

2шт.

26

01643-31232

WASHER

SN: 10001-UP

2шт.

27

417-46-12220

COVER,R.H.

SN: 10001-UP

1шт.

28

01010-51225

BOLT

SN: 10001-UP

2шт.

29

01643-31232

WASHER

SN: 10001-UP

2шт.

30

417-46-13310

WEIGHT,COUNTER

SN: 30001-UP

1шт.

|30

417-46-13114

WEIGHT,COUNTER

SN: 20001-29999

1шт.

|30

0

WEIGHT,COUNTER

SN: 10001-19999

1шт.

|$$47

(417-46-13114{417-46-13213)}

-1шт.

31

01011-32085

BOLT

SN: 30001-UP

2шт.

|31

0

BOLT

SN: 10001-29999

2шт.

32

01643-32060

WASHER

SN: 10001-UP

2шт.

33

01010-32095

BOLT

SN: 10001-UP

2шт.

34

01643-32060

WASHER

SN: 10001-UP

2шт.

35

417-46-13132

WEIGHT,COUNTER

SN: 20001-UP

1шт.

|35

417-46-13131

WEIGHT,COUNTER

SN: 10001-19999

1шт.

36

01011-32050

BOLT

SN: 10001-UP

2шт.

37

01643-32060

WASHER

SN: 10001-UP

4шт.

38

01580-02016

NUT

SN: 10001-UP

2шт.

39

417-46-13320

PIN

SN: 30001-UP

1шт.

|39

417-46-13213

PIN

SN: 20001-29999

1шт.

|39

417-46-13211

PIN

SN: 10001-19999

1шт.

40

01010-50816

BOLT

SN: 10001-19999

1шт.

41

01643-30823

WASHER

SN: 10001-19999

1шт.

42

416-46-12210

BAR,LOCK

SN: 10001-UP

1шт.

43

416-46-12230

PIN

SN: 10001-UP

1шт.

44

04050-18055

PIN,COTTER

SN: 10001-UP

1шт.

45

416-46-12320

PIN

SN: 10001-UP

1шт.

46

04025-01065

PIN,SPRING

SN: 10001-UP

2шт.

47

421-46-12740

PIN,LINCH

SN: 10001-UP

1шт.

Выбрано товаров: 68