Запчасти Komatsu WA150-1 ТОПЛ. БАК И ТОПЛИВОПРОВОД(№-9999) КОМПОНЕНТЫ ДВИГАТЕЛЯ И ЭЛЕКТРИКА

Схема запчастей Komatsu WA150-1 - ТОПЛ. БАК И ТОПЛИВОПРОВОД(№-9999) КОМПОНЕНТЫ ДВИГАТЕЛЯ И ЭЛЕКТРИКА
FIT
1:1
100%

Артикул

Название

Примечание

Количество

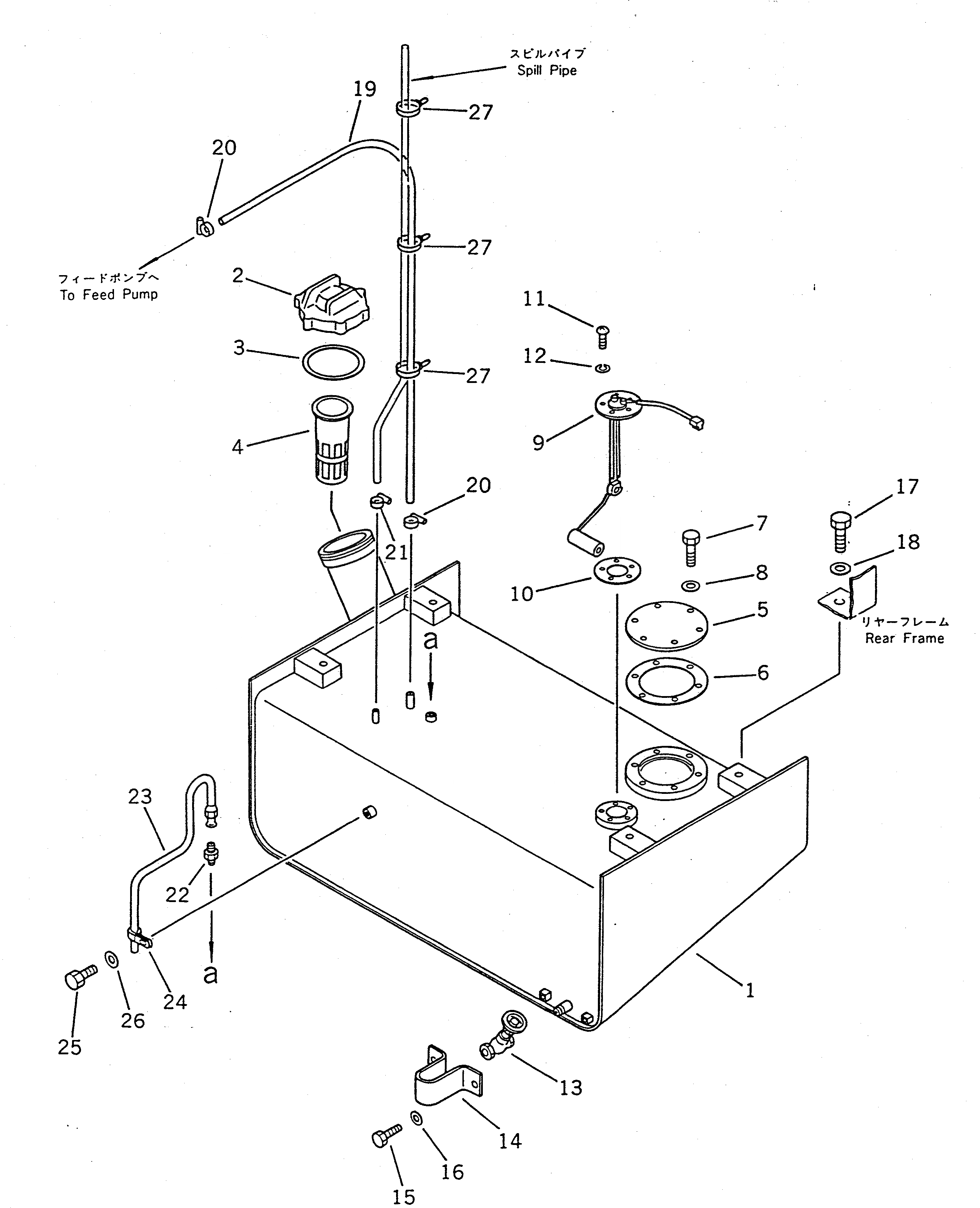
1

417-04-10111

TANK

SN: 10001-19999

1шт.

|1

417-Z90-1120

TANK,(FOR NOISE ABATEMENT PARTS)

SN: 10001-19999

1шт.

2

421-04-11260

CAP

SN: 10001-@

1шт.

3

07050-21202

GASKET

SN: 10001-@

1шт.

4

07056-18416

STRAINER

SN: 10001-@

1шт.

5

421-04-11181

COVER

SN: 10001-19999

1шт.

6

421-04-11191

GASKET

SN: 10001-@

1шт.

7

01010-31025

BOLT

SN: 10001-@

6шт.

8

01643-31032

WASHER

SN: 10001-@

6шт.

9

417-04-10130

SENSOR,LEVEL

SN: 10001-19999

1шт.

10

419-04-10140

GASKET

SN: 10001-@

1шт.

11

01220-40512

SCREW

SN: 10001-@

5шт.

12

01601-20513

WASHER,SPRING

SN: 10001-@

5шт.

13

07700-60504

VALVE

SN: 10001-19999

1шт.

14

421-04-11170

COVER

SN: 10001-19999

1шт.

15

01010-30820

BOLT

SN: 10001-@

2шт.

16

01643-30823

WASHER

SN: 10001-@

2шт.

17

01010-31230

BOLT

SN: 10001-@

4шт.

18

175-54-34170

WASHER

SN: 10001-@

4шт.

19

07270-21049

TUBE

SN: 10001-@

1шт.

20

07281-00197

CLAMP

SN: 10001-@

2шт.

21

07281-00137

CLAMP

SN: 10001-19999

1шт.

22

07214-51013

CONNECTOR

SN: 10001-@

1шт.

23

417-04-10120

TUBE

SN: 10001-@

1шт.

24

424-04-11120

CLIP

SN: 10001-@

1шт.

25

01010-31016

BOLT

SN: 10001-@

1шт.

26

01643-31032

WASHER

SN: 10001-@

1шт.

27

08034-00519

BAND

SN: 10001-@

3шт.

Выбрано товаров: 28