Запчасти Komatsu WA150-1 КАПОТ И ВЫПУСКН.(№-9999) РАМА И ЧАСТИ КОРПУСА

Схема запчастей Komatsu WA150-1 - КАПОТ И ВЫПУСКН.(№-9999) РАМА И ЧАСТИ КОРПУСА
FIT
1:1
100%

Артикул

Название

Примечание

Количество

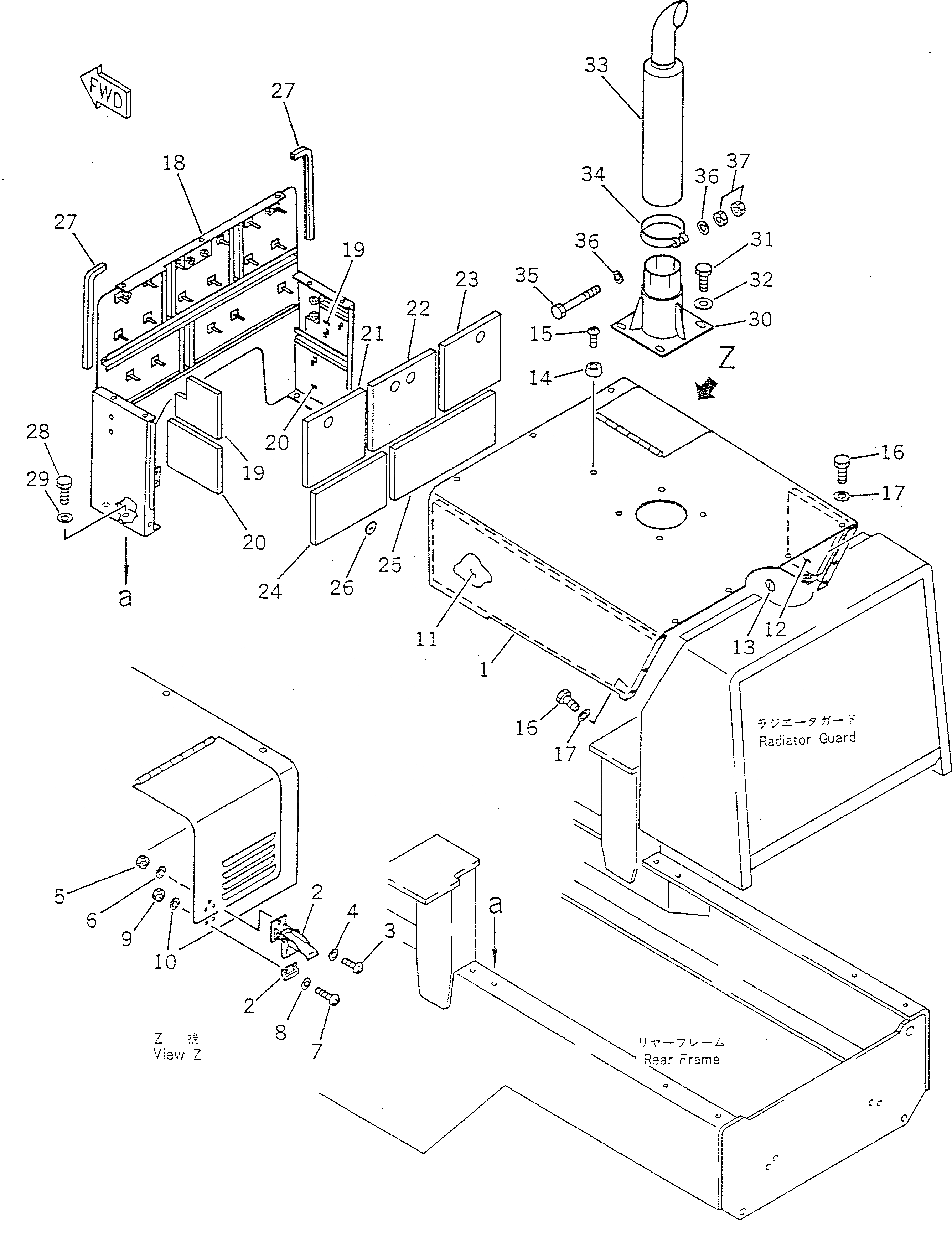
1

417-54-11711

HOOD

SN: 10001-19999

1шт.

|1

417-Z04-1110

HOOD,(MODIFIED PARTS)

SN: 10001-19999

1шт.

|1

417-855-1110

HOOD,(FOR BACK HOE)

SN: 10001-19999

1шт.

2

421-09-12320

HOLDER

SN: 10001-@

1шт.

3

01220-40412

SCREW

SN: 10001-@

3шт.

4

01641-20405

WASHER

SN: 10001-@

3шт.

5

01580-10403

NUT

SN: 10001-@

3шт.

6

01601-20410

WASHER,SPRING

SN: 10001-@

3шт.

7

01220-40416

SCREW

SN: 10001-@

2шт.

8

01641-20405

WASHER

SN: 10001-@

2шт.

9

01580-10403

NUT

SN: 10001-@

2шт.

10

01601-20410

WASHER,SPRING

SN: 10001-@

2шт.

11

417-54-11870

SHEET,L.H.

SN: 10001-@

1шт.

12

417-54-11860

SHEET,R.H.

SN: 10001-@

1шт.

13

04431-30000

PLATE

SN: 10001-@

13шт.

14

425-54-12590

STOPPER

SN: 10001-@

1шт.

15

01220-40416

SCREW

SN: 10001-@

1шт.

16

01010-51220

BOLT

SN: 10001-19999

15шт.

17

01643-31232

WASHER

SN: 10001-19999

15шт.

18

417-54-11923

SUPPORT,HOOD

SN: 10574-19999

1шт.

|18

417-54-11922

SUPPORT,HOOD

SN: 10222-10573

1шт.

|18

0

SUPPORT,HOOD

SN: 10001-10221

1шт.

|18

417-855-1212

SUPPORT,HOOD (FOR BACK HOE)

SN: 10001-19999

1шт.

|18

417-963-1611

SUPPORT,HOOD (FOR AIR CONDITIONER)

SN: 10001-19999

1шт.

19

417-54-11770

SHEET

SN: 10001-19999

2шт.

20

417-54-11790

SHEET

SN: 10001-19999

2шт.

21

417-54-11740

SHEET

SN: 10001-19999

1шт.

22

417-54-11730

SHEET

SN: 10001-19999

1шт.

23

417-54-11720

SHEET

SN: 10001-19999

1шт.

24

417-54-11761

SHEET

SN: 10574-19999

1шт.

|24

417-54-11760

SHEET

SN: 10001-10573

1шт.

25

417-54-11751

SHEET

SN: 10574-19999

1шт.

|25

417-54-11750

SHEET

SN: 10001-10573

1шт.

26

04431-30000

PLATE

SN: 10001-19999

25шт.

27

417-54-11260

SHEET

SN: 10001-19999

2шт.

28

01010-51230

BOLT

SN: 10001-19999

4шт.

29

01643-31232

WASHER

SN: 10001-19999

4шт.

30

417-02-11111

BRACKET

SN: 10001-19999

1шт.

31

01010-51225

BOLT

SN: 10001-@

4шт.

32

124-54-26540

WASHER

SN: 10001-@

4шт.

33

417-02-11130

PIPE,EXHAUST (WITH GLASSWOOL)

SN: 10001-@

1шт.

|33

417-Z15-1130

PIPE,EXHAUST (WITHOUT GLASSWOOL)

SN: 10001-@

1шт.

34

417-02-11120

CLAMP

SN: 10001-19999

1шт.

35

01010-51295

BOLT

SN: 10001-@

1шт.

36

01640-21223

WASHER

SN: 10001-@

2шт.

37

01580-11210

NUT

SN: 10001-@

2шт.

Выбрано товаров: 46