Запчасти Komatsu WA150-1 МЕХАНИЗМ ОСТАНОВКИ СТРЕЛЫ И КОВШ ПОЗИЦИОНЕР(№-9999) УПРАВЛ-Е РАБОЧИМ ОБОРУДОВАНИЕМ

Схема запчастей Komatsu WA150-1 - МЕХАНИЗМ ОСТАНОВКИ СТРЕЛЫ И КОВШ ПОЗИЦИОНЕР(№-9999) УПРАВЛ-Е РАБОЧИМ ОБОРУДОВАНИЕМ
FIT
1:1
100%

Артикул

Название

Примечание

Количество

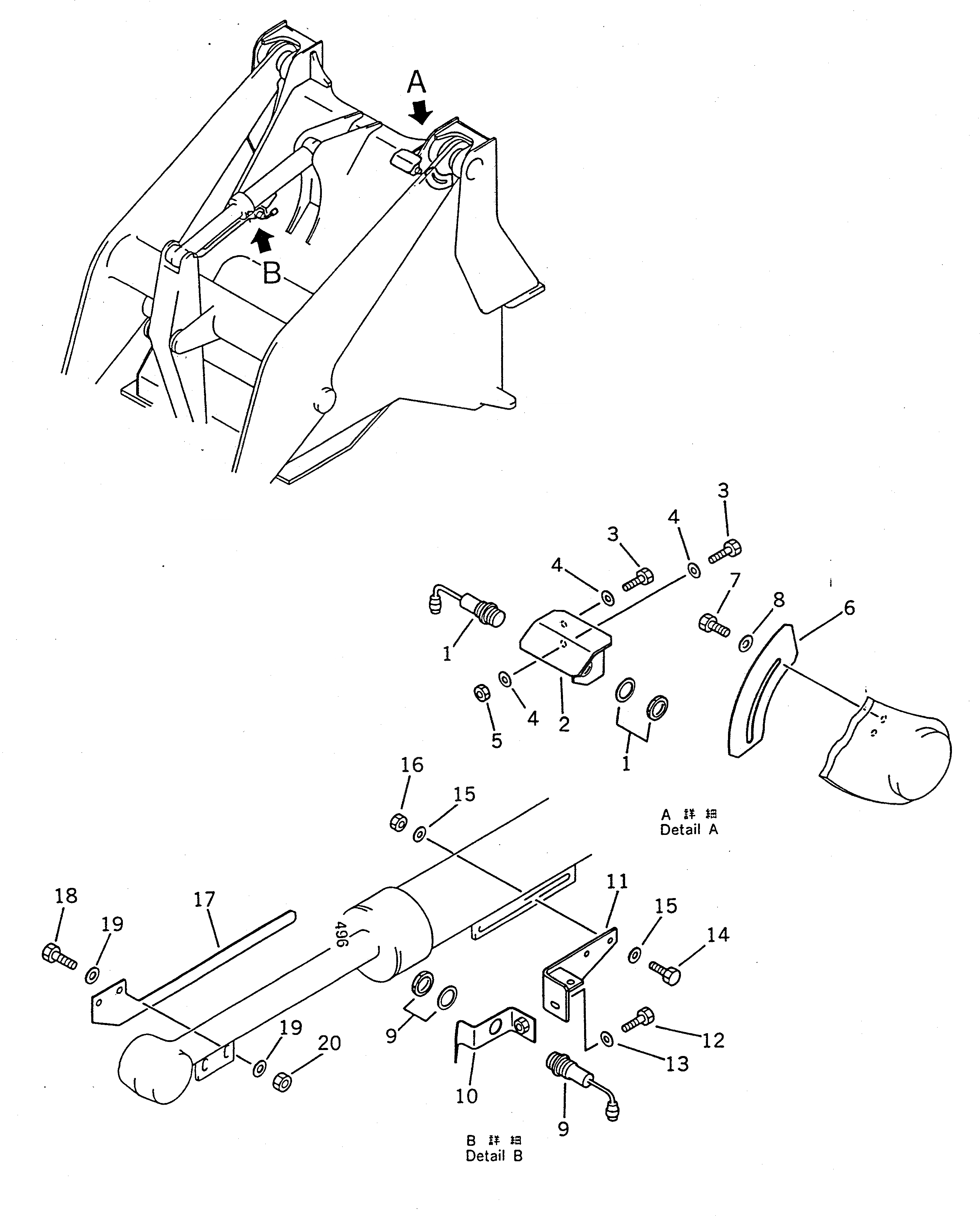
1

421-06-11164

SWITCH,KICK OUT

SN: 10001-@

1шт.

2

417-43-19121

SUPPORT

SN: 10001-19999

1шт.

3

01010-31030

BOLT

SN: 10001-19999

2шт.

4

01643-31032

WASHER

SN: 10001-19999

3шт.

5

01580-01008

NUT

SN: 10001-19999

1шт.

6

417-43-19110

PLATE

SN: 10001-@

1шт.

7

01010-31220

BOLT

SN: 10001-@

2шт.

8

01643-31232

WASHER

SN: 10001-@

2шт.

9

421-06-11164

SWITCH,BUCKET POSITIONER

SN: 10001-@

1шт.

10

417-43-19151

SUPPORT

SN: 10001-@

1шт.

11

417-43-19144

BRACKET

SN: 20001-@

1шт.

|11

0

BRACKET

SN: .-19999

1шт.

|11

0

BRACKET

SN: 10001-.

1шт.

12

01010-31225

BOLT

SN: 10001-@

1шт.

13

01643-31232

WASHER

SN: 10001-@

1шт.

14

01010-31230

BOLT

SN: 10001-@

2шт.

15

01643-31232

WASHER

SN: 10001-19999

4шт.

16

01580-01210

NUT

SN: 10001-19999

2шт.

17

417-43-19131

BAR

SN: 10001-@

1шт.

18

01010-31235

BOLT

SN: 10001-@

2шт.

19

01643-31232

WASHER

SN: 10001-@

4шт.

20

01580-01210

NUT

SN: 10001-@

2шт.

Выбрано товаров: 22