Запчасти Komatsu WA150-1 ПРОТИВОТУМАНН. ФАРЫ КОМПОНЕНТЫ ДВИГАТЕЛЯ И ЭЛЕКТРИКА

Схема запчастей Komatsu WA150-1 - ПРОТИВОТУМАНН. ФАРЫ КОМПОНЕНТЫ ДВИГАТЕЛЯ И ЭЛЕКТРИКА
FIT
1:1
100%

Артикул

Название

Примечание

Количество

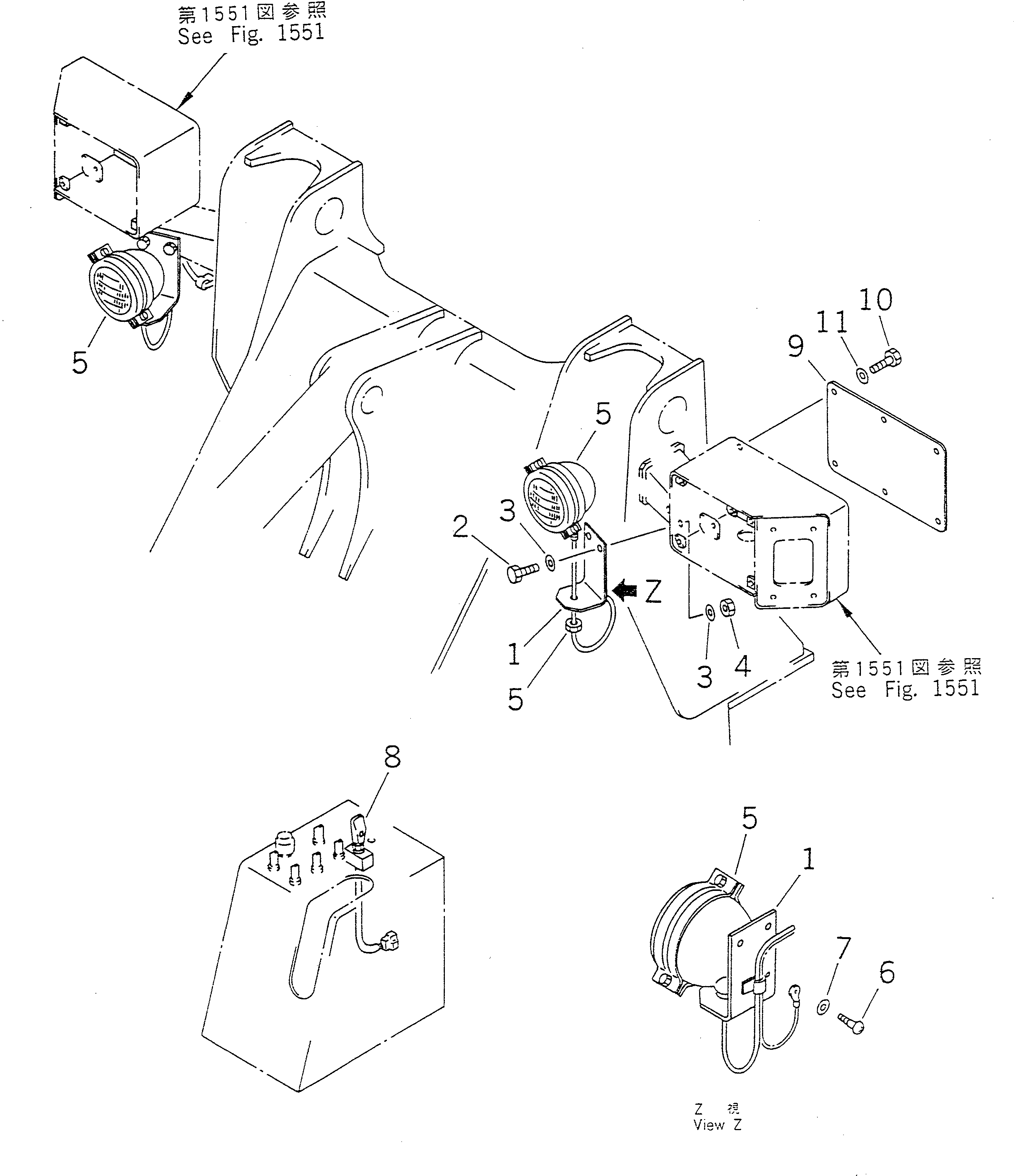
1

416-Z23-1110

BRACKET

SN: 10001-UP

2шт.

2

01010-51230

BOLT

SN: 10001-UP

4шт.

3

01643-31232

WASHER

SN: 10001-UP

8шт.

4

01580-11210

NUT

SN: 10001-UP

4шт.

5

08125-02410

LAMP ASS'Y

SN: 10001-UP

2шт.

|5

08107-02460

BULB¤ 60W

SN: 10001-UP

1шт.

|5

08125-00006

LENS

SN: 10001-UP

1шт.

6

01370-00508

SCREW

SN: 10001-UP

2шт.

7

01641-20508

WASHER

SN: 10001-UP

2шт.

8

416-Z23-1140

SWITCH

SN: 10001-UP

2шт.

9

419-06-13240

COVER

SN: 10001-UP

2шт.

10

01010-50610

BOLT

SN: 10001-UP

12шт.

11

01643-30623

WASHER

SN: 10001-UP

12шт.

Выбрано товаров: 13